贾跃亭因6.5亿案款仍为老赖

#贾跃亭名下多家公司股权被冻结# #贾跃亭名下多家公司被吊销或注销# #贾跃亭商业版图盘点##贾跃亭称每天努力还清债务重归祖国#

11月19日,Faraday Future(FF)创始人、联席CEO贾跃亭通过个人社交渠道表示,他自愿新增的第二个债权人信托正式成立,加速偿还国内担保债务尽责到底早日回国。据了解,第二个债权人信托资产由FFAI股份+AIxC股份两部分组成,首笔资产将很快转入。其中,AIxC将在美国时间20日(北京时间21日)在纳斯达克举行更名挂牌和全新战略发布仪式。

贾跃亭因6.5亿案款仍为老赖

贾跃亭因6.5亿案款仍为老赖

贾跃亭因6.5亿案款仍为老赖

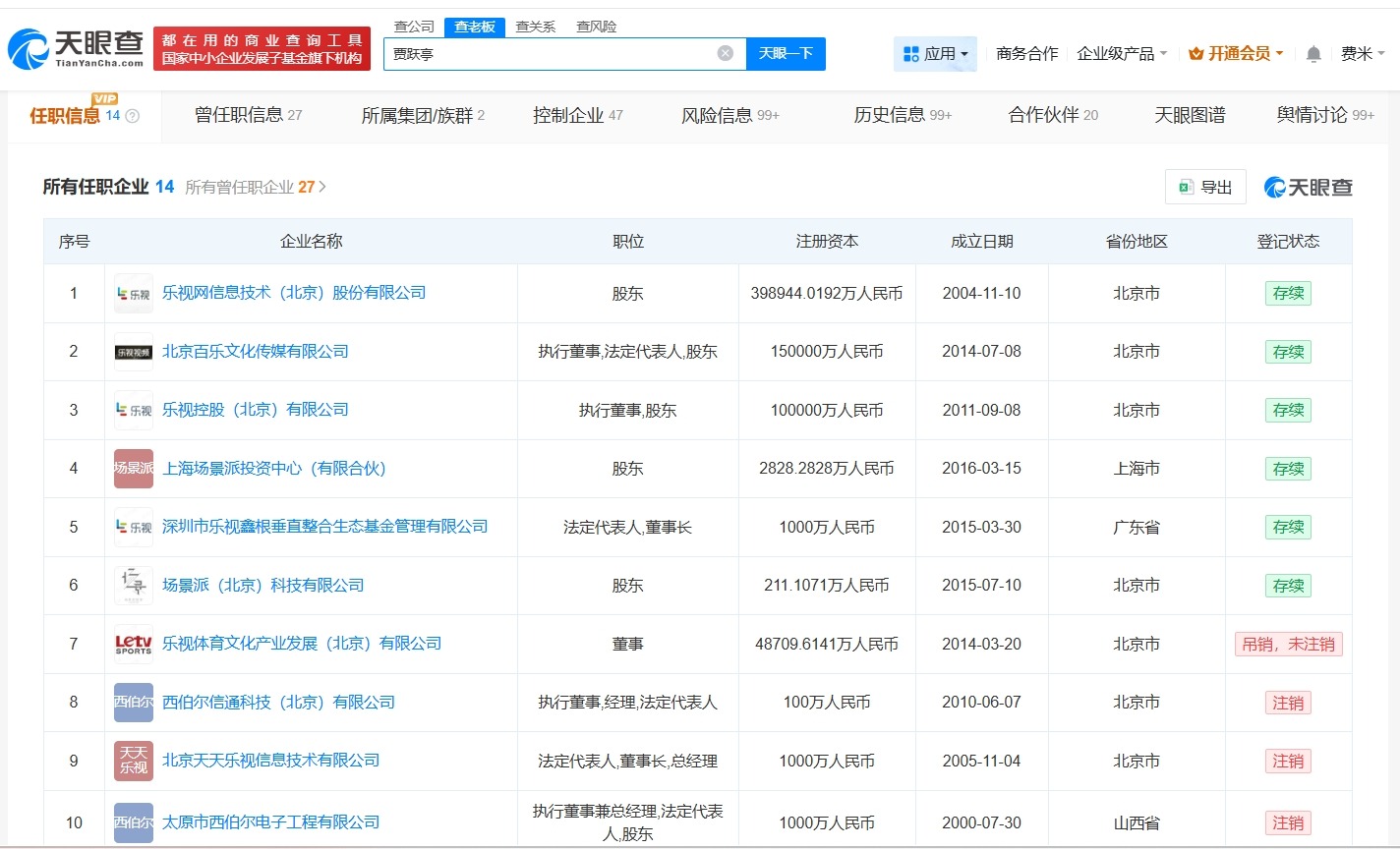
天眼查任职信息显示,贾跃亭名下关联14家企业,其中7家为存续状态,包括乐视网信息技术(北京)股份有限公司、北京百乐文化传媒有限公司、乐视控股(北京)有限公司等,贾跃亭在上述企业中担任执行董事、法定代表人等职务,其余7家企业处于注销或者被吊销状态。风险信息显示,贾跃亭现存3条失信被执行人(老赖)信息,涉案金额6.5亿余元,此外,贾跃亭还存在多条股权冻结信息。

天眼查信息:https://www.tianyancha.com/human/2187083120-c13983271

本文来自投稿,不代表创造权威IP 赋能创业者——IP百创立场,如若转载,请注明出处:创造权威IP 赋能创业者——IP百创

(0)
打赏 微信扫一扫 微信扫一扫 支付宝扫一扫 支付宝扫一扫
上一篇 2025年11月19日
下一篇 2025年11月19日

相关推荐

  • vivo自研系统不兼容安卓,勇气可嘉还是自断后路?

    来源 | PConline太平洋科技 作者 | 刘凡 又一家手机厂商推出了自研系统。 11月1日,vivo在2023vivo开发者大会上正式发布了自研智慧操作系统——蓝河操作系统(BlueOS)。 至此,华为、荣耀、OPPO、小米、vivo五大国产手机厂商均推出了自研系统。仿佛一家手机厂商没有自研系统,都不好意思出门打招呼了。 曾几何时,手机厂商为了作出差异…

    2023年11月2日
  • 青云科技连年亏损,押注智能算力似乎也无力回天

    曾经的“混合云第一股”,青云科技困在了连年亏损与开拓新业务的分岔路

    2024年11月7日
  • 宁德时代在铜仁成立新能源科技公司注册资本500万

    天眼查App显示,近日,时代骐骥新能源科技(铜仁)有限公司成立,法定代表人为聂政,注册资本500万人民币,经营范围包括新兴能源技术研发、新能源汽车换电设施销售、电动汽车充电基础设施运营等。股东信息显示,该公司由宁德时代旗下时代骐骥新能源科技(贵阳)有限公司全资持股。 天眼查信息:https://www.tianyancha.com/company/77714…

    2025年10月12日
  • 辛巴妻子名下十余家企业已注销

    #棉密码微商渠道运营方四年前已注销# #辛巴妻子名下仅两家企业存续##多女性用棉密码病变速度让医生震惊# 据媒体报道,近日,多女性用棉密码病变速度让医生震惊,棉密码超百位受害者陷维权困局。据记者调查发现,早在2018年,棉密码就在微商渠道以ZUZU品牌销售,代言人是辛巴的妻子初瑞雪。 天眼查任职信息显示,初瑞雪名下关联18家企业,目前仅2家企业处于存续状态,…

    2025年8月18日
  • 服饰行业全域共进:抖音电商带来的新趋势与新机会

    抖音电商服饰行业已经有能力打造、带动潮流趋势。 2020年,当没有观众的大秀成为各大时装周标配时,中国用户却离秀场史无前例地近。 那年3月,抖音平台首次上线“Dou时装周”专题,Burberry、CHANEL、Dior等13个奢侈品牌集体加入抖音时装周,发布2020秋冬时装周秀场视频,参与专题活动。以往远在巴黎、米兰和纽约的时尚盛会,被搬到了每个用户的手机里…

    2022年9月26日

发表回复

您的电子邮箱地址不会被公开。 必填项已用*标注

联系我们

邮件:939297903@qq.com

工作时间:周一至周五,9:30-18:30,节假日休息

关注微信