中国商飞增资至940.98亿增幅约88%

天眼查App显示,近日,中国商用飞机有限责任公司发生工商变更,注册资本由约501.01亿人民币增至约940.98亿人民币,增幅约88%。

中国商飞增资至940.98亿增幅约88%

中国商飞增资至940.98亿增幅约88%

中国商飞增资至940.98亿增幅约88%

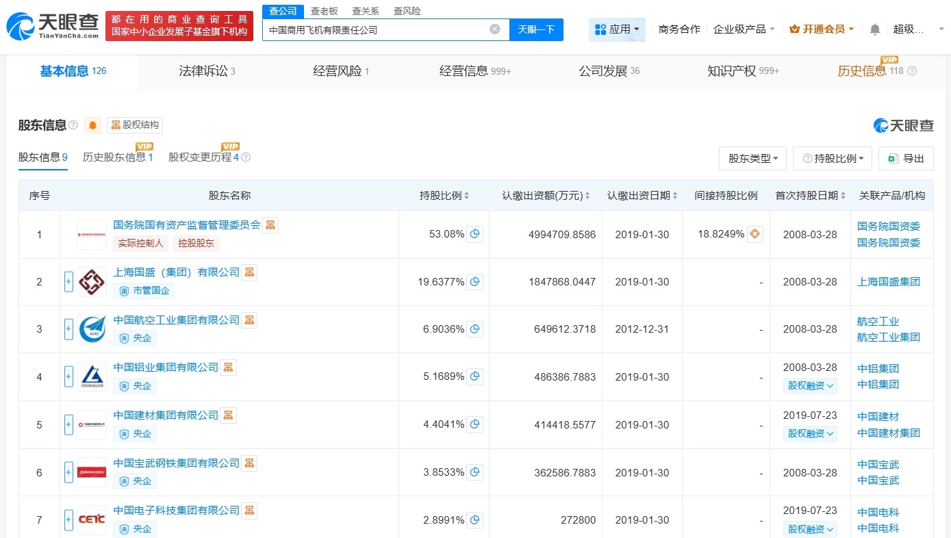
该公司成立于2008年3月,法定代表人为贺东风,经营范围含民用飞机及相关产品设计、研制、生产、改装、试飞、销售、维修、服务、技术开发和咨询服务等。股东信息显示,该公司由国务院国有资产监督管理委员会、上海国盛(集团)有限公司、中国航空工业集团有限公司等共同持股。

天眼查信息:https://www.tianyancha.com/company/210940306

本文来自投稿,不代表创造权威IP 赋能创业者——IP百创立场,如若转载,请注明出处:创造权威IP 赋能创业者——IP百创

(0)
打赏 微信扫一扫 微信扫一扫 支付宝扫一扫 支付宝扫一扫
上一篇 2025年11月24日
下一篇 2025年11月24日

相关推荐

  • 佘诗曼“归巢”拍出豆瓣8.2的《新闻女王》,能帮TVB扳回一城吗?

    ​作者| 无花果 编辑| Mia “有能力有手段的大女主谁不爱?”“光是‘找个男人嫁了吧’就领先内娱十条街。”上一次观众如此大规模高评价TVB剧集还是在《使徒行者》,那也恰好是佘诗曼回归TVB拿到视后之际。 由开分的7.9一路涨到8.2的《新闻女王》是近年来TVB交出的一张综合实力最强的答卷,佘诗曼饰演“人在哪里哪里就是直播间”的女主播文慧心(人称man姐)…

    行业动态 2023年11月27日
  • 米哈游同日成立两家新公司

    天眼查工商信息显示,9月11日,上海米哈游百战地科技有限公司、上海米哈游稻海桑田科技有限公司成立,法定代表人均为于晨曦,注册资本均为1000万人民币,经营范围包括软件开发、人工智能应用软件开发、数字文化创意软件开发等。股东信息显示,上述公司均由上海米哈游网络科技股份有限公司全资持股。 天眼查信息:https://www.tianyancha.com/comp…

    2025年9月11日
  • 爱美客在天津成立科技发展公司

    天眼查App显示,近日,天津爱美客科技发展有限公司成立,法定代表人为黄伟骏,注册资本10万人民币,经营范围含工程和技术研究和试验发展、医学研究和试验发展、新材料技术研发、非居住房地产租赁、化妆品批发、化妆品零售、信息技术咨询服务、药品生产、药品委托生产等。股东信息显示,该公司由爱美客全资持股。 天眼查信息:https://www.tianyancha.com…

    2025年9月26日
  • 天津唐控科创集团增资至100亿# 增幅4900%

    天眼查工商信息显示,近日,天津唐控科创集团有限公司发生工商变更,注册资本由2亿人民币增至100亿人民币,增幅4900%。 该公司成立于2019年12月,法定代表人为王建祥,经营范围含货物进出口、进出口代理、金属矿石销售、非金属矿及制品销售、石油制品销售、金属材料销售、轨道交通工程机械及部件销售、通讯设备销售等。股东信息显示,该公司由唐山控股发展集团股份有限公…

    行业动态 2025年11月19日
  • 黄贺退出北京交个朋友公司

    #北京交个朋友公司变更为外商投资# 天眼查App显示,近日,北京交个朋友数码科技有限公司发生工商变更,原全资股东成都星空野望科技有限公司退出,新增易匠未来科技(杭州)有限公司为全资股东;企业类型由有限责任公司(法人独资)变更为外商投资企业法人独资;法定代表人由黄贺变更为赵慧利,主要人员由黄贺、周雁桥变更为赵慧利、吴蓉;公司经营范围新增礼品花卉销售、搪瓷制品销…

    行业动态 2023年5月9日

发表回复

您的电子邮箱地址不会被公开。 必填项已用*标注

联系我们

邮件:939297903@qq.com

工作时间:周一至周五,9:30-18:30,节假日休息

关注微信