华为已注册MATE80相关商标华为已注册MATE90和MATE100商标

#华为Mate80#

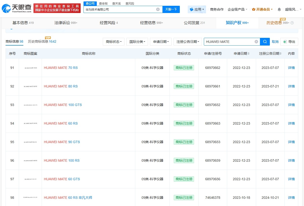
11月25日,华为举办新品发布会,正式发布了Mate 80系列手机。

天眼查知识产权信息显示,华为技术有限公司曾于2022年12月申请注册“HUAWEI MATE 80 RS”“HUAWEI MATE 80 GTS”商标,国际分类为科学仪器,上述商标均已成功注册。

华为已注册MATE80相关商标华为已注册MATE90和MATE100商标

华为已注册MATE80相关商标华为已注册MATE90和MATE100商标

此外,华为技术有限公司还于同时期申请注册了“HUAWEI MATE 90 GTS”“HUAWEI MATE 90 RS”“HUAWEI MATE 100 GTS”“HUAWEI MATE 100 RS”商标,国际分类均为科学仪器,商标均为已注册。

天眼查信息:https://www.tianyancha.com/search/t401?key=HUAWEI%20MATE%2080

本文来自投稿,不代表创造权威IP 赋能创业者——IP百创立场,如若转载,请注明出处:创造权威IP 赋能创业者——IP百创

(0)
打赏 微信扫一扫 微信扫一扫 支付宝扫一扫 支付宝扫一扫
上一篇 2025年11月25日
下一篇 2025年11月25日

相关推荐

  • 网翎卫星上网机实现轻量化、易用化 解决“三断”场景下通信难题

    由湖南省无线电协会主办,北京星途智联科技有限公司、湖南三断通信服务有限公司承办的“湖南省2024‘三断’通信技术交流会”于2024年12月3日在湖南长沙召开。 图:会议现场 湖南省工业和信息化厅、湖南省应急管理厅、湖南省国家安全厅、武警湖南总队、湖南省消防救援总队信息通信处、国家消防救援局湖南机动队伍、湖南省公安科学技术研究院、湖南省无线电监测站、湖南大学、…

    2024年12月4日
  • 罗马仕近期被罚没124万

    #罗马仕所持多家公司股权被冻结##罗马仕被处罚# 据媒体报道,记者从市场监管总局召开的2025年综合整治“内卷式”竞争十大重大案件发布会上了解到,全国市场监管部门共查处充电宝相关违法案件1169件,守牢产品质量安全底线。其中,深圳罗马仕科技有限公司违反强制性认证规定及虚假宣传较为典型。 天眼查工商信息显示,深圳罗马仕科技有限公司成立于2012年3月,法定代表…

    2026年1月27日
  • 北京市商业航天和低空经济产业基金等入股凌空天行

    天眼查工商信息显示,近日,北京凌空天行科技有限责任公司发生工商变更,新增北京市商业航天和低空经济产业投资基金(有限合伙)、嘉兴沃赋凌空股权投资合伙企业(有限合伙)、北京市新材料产业投资基金(有限合伙)等为股东,同时,注册资本由约3535万人民币增至约3766万人民币,同时,多位主要人员发生变更。 北京凌空天行科技有限责任公司成立于2012年8月,法定代表人为…

    2026年1月19日
  • 张艺兴黑粉未道歉被公告

    #张艺兴网络维权案胜诉# 天眼查法律诉讼信息显示,近日,北京互联网法院刊登原告张艺兴与被告蒋某网络侵权责任纠纷一案民事判决书。据在案证据,可以认定涉案抖音账号在直播中发布的关于“小绵羊”的内容,指向对象是原告,涉案言论缺乏相应事实根据,对原告的信誉和公众形象产生不良影响,进而造成原告的社会评价降低。综上,蒋某的行为侵害原告名誉权,应当承担侵权责任。判决蒋某向…

    行业动态 2025年12月23日
  • 第十届中国网络视听大会视听新媒体融合传播论坛在成都召开

    3月30日,以“数据赋能 融合传播”为主题的第十届中国网络视听大会视听新媒体融合传播论坛在成都举行。国家广播电视总局媒体融合发展司司长韩冬、传媒机构管理司副司长曾世峰、广播电视规划院院长袁敏、广播影视信息网络中心副主任邓向冬、新浪微博运营副总裁、新浪影视董事长陈春等领导和嘉宾出席论坛,各省市广播电视主管部门、播出机构、视听平台等相关负责人以及行业专家学者等1…

    2023年3月30日

发表回复

您的电子邮箱地址不会被公开。 必填项已用*标注

联系我们

邮件:939297903@qq.com

工作时间:周一至周五,9:30-18:30,节假日休息

关注微信