揭秘造出导弹民企凌空天行

#民企造出高超音速导弹#

据媒体报道,近日一则“四川民企造出高超音速导弹”的词条引发热议。相关企业凌空天行表示,“驭空戟-1000”高超音速导弹基本型已成功实现量产。同时,集成人工智能决策与集群协同能力的“驭空戟-1000”智能型正处于全力研制阶段。对于网传“造价仅需70万元”的信息,公司方面并未直接回应。

揭秘造出导弹民企凌空天行

揭秘造出导弹民企凌空天行

揭秘造出导弹民企凌空天行

揭秘造出导弹民企凌空天行

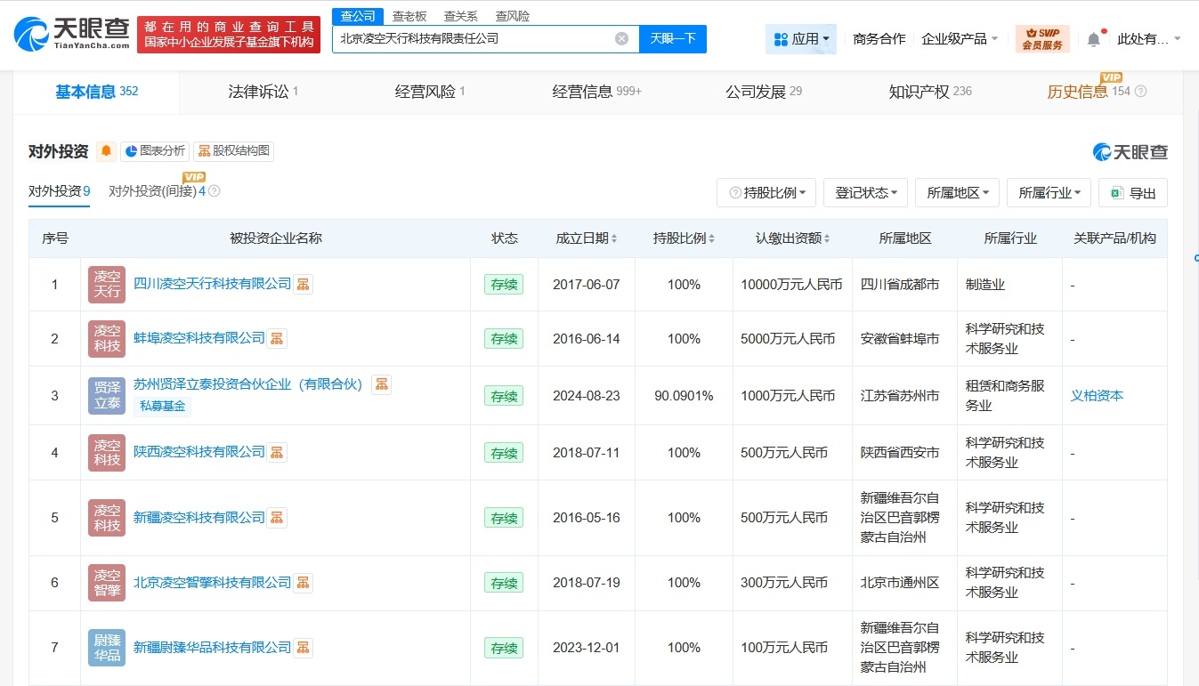
天眼查工商信息显示,凌空天行关联主体北京凌空天行科技有限责任公司成立于2012年8月,法定代表人为王毓栋,注册资本约3534.5万人民币,经营范围含运载火箭、探空火箭、航天器、固体发动机、液体发动机、姿控发动机、航天器配套零部件、航天配套设备、电气设备的生产,基础软件服务,应用软件服务等。股东信息显示,该公司由王毓栋、上海载铠企业管理合伙企业(有限合伙)、苏州源瀚股权投资合伙企业(有限合伙)等共同持股。对外投资信息显示,该公司直接持股9家企业,其中8家为存续状态,包括四川凌空天行科技有限公司、蚌埠凌空科技有限公司、新疆凌空科技有限公司等。

四川凌空天行科技有限公司成立于2017年6月,法定代表人为王毓栋,注册资本1亿人民币,经营范围含新材料技术研发、合成材料销售、机械电气设备销售、工程和技术研究和试验发展、工业设计服务等,由北京凌空天行科技有限责任公司全资持股。

天眼查信息:https://www.tianyancha.com/company/3267849855

本文来自投稿,不代表创造权威IP 赋能创业者——IP百创立场,如若转载,请注明出处:创造权威IP 赋能创业者——IP百创

(0)
打赏 微信扫一扫 微信扫一扫 支付宝扫一扫 支付宝扫一扫
上一篇 2025年11月28日
下一篇 2025年11月28日

相关推荐

  • 复星国际等在青岛成立企业管理合伙企业出资额3.4亿

    天眼查App显示,近日,复创共赢(青岛)企业管理合伙企业(有限合伙)成立,执行事务合伙人为上海复星高科技(集团)有限公司,出资额3.4亿人民币,经营范围为企业管理。合伙人信息显示,该合伙企业由复星国际旗下上海复星高科技(集团)有限公司、青岛全时智投体育产业有限公司共同出资。 天眼查信息:https://www.tianyancha.com/company/7…

    2025年12月22日
  • 云商店如何让更多企业摘到技术普惠的“果实”?

    加速“智造之城”建设,云商店让苏州的创新沃土长出大树结硕果

    2024年5月14日
  • WPS 365的新协同叙事:一场关于下一阶段办公定义权的争夺战

    “协同办公”这四个字,在过去十年里被反复提及,很多人说这是SaaS行业最普遍却又最艰难的共识。说它普遍是因为大家都知道其战略意义,说它艰难是因为谁也做不到真正定义和落地。 看看所谓的协同办公乱象就知道问题所在了。首当其冲的就是对于协同办公的认知停留在表象,比如大谈特谈连接、在线、效率,与之对应的却是群聊爆炸、文件乱流、权限黑洞,相当于用一套更高阶的数字内耗取…

    2025年11月26日
  • 章泽天开播客,网友喊话对话刘强东!列好了一堆问题……

    这几年,播客是真的火了,比如罗永浩的十字路口,自开播以来,每一期都会贡献无数个热搜,这也让罗永浩成为长盛不衰的顶流网红。 在罗永浩之外,各路有影响力的IP,不是在搞播客,就是在搞播客的路上,就连京东老板娘章泽天也不例外。 昨日,章泽天正式宣布,开通个人播客,取名“小天章”。而章泽天也是一呼百应,不到三分钟的首期节目,虽然是自我介绍,播出2小时,收听量已破万,…

    2026年1月13日
  • 马上消费发布全国消费金融公司首个金融区块链管理平台

    2025年9月5日,2025世界智能产业博览会盛大启幕。其中,由马上消费主办的数字产业生态大会将于同日举办,汇聚上千名行业领袖共探AI驱动的产业生态变革。会上,马上消费发布了全国消费金融公司首个金融区块链管理平台,并成功落地了全国首单基于区块链与数字人民币的信贷资产支持证券(ABS),集中展现了AI赋能新质生产力的前沿突破。 图说:全国消费金融公司首个金融区…

    2025年9月8日

发表回复

您的电子邮箱地址不会被公开。 必填项已用*标注

联系我们

邮件:939297903@qq.com

工作时间:周一至周五,9:30-18:30,节假日休息

关注微信