赵薇关联公司成老赖

#赵薇关联公司未履行9801元案款成老赖#

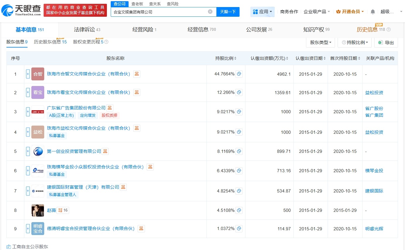
天眼查天眼风险信息显示,近日,合宝文娱集团有限公司新增1条失信被执行人信息,履行情况为全部未履行,具体情形为违反财产报告制度,执行法院为广州市海珠区人民法院。案件流程信息显示,此前,该公司已因此案被执行9801元,并被限制高消费。

赵薇关联公司成老赖

赵薇关联公司成老赖

赵薇关联公司成老赖

该公司成立于2015年1月,法定代表人为赵智,注册资本约1.1亿人民币,经营范围包括广播电视节目制作经营、电影发行、演出经纪等,由珠海市合智文化传媒合伙企业(有限合伙)、珠海市看宝文化传媒合伙企业(有限合伙)、赵薇等共同持股,其中赵薇持股约4.5%。

本文来自投稿,不代表创造权威IP 赋能创业者——IP百创立场,如若转载,请注明出处:创造权威IP 赋能创业者——IP百创

(0)
打赏 微信扫一扫 微信扫一扫 支付宝扫一扫 支付宝扫一扫
上一篇 4天前
下一篇 4天前

相关推荐

  • 五矿证券等在厦门成立基础设施不动产股权基金出资额19.5亿

    天眼查工商信息显示,近日,圆信基石(厦门)基础设施不动产股权投资基金合伙企业(有限合伙)成立,执行事务合伙人为金圆资本管理(厦门)有限公司,出资额19.5亿人民币,经营范围为以私募基金从事股权投资、投资管理、资产管理等活动。合伙人信息显示,该基金由厦门金圆投资集团有限公司、五矿证券有限公司、金圆资本管理(厦门)有限公司、厦门市思明区产业投资有限公司共同出资。…

    2025年11月26日
  • 量子石墨烯后虫草内裤又杀疯直播间!她一出手狂卖千万……

    啥大事,都没有裤裆里那点事大,每天的热搜上总是挂着那么几条,要么几十页的PPT,要么这个人被绿、那个人出轨…… 你看,今天的热搜上,已经有三条了。‍‍‍‍‍‍‍‍‍‍‍‍‍‍‍‍‍‍ 不管全世界发生其他多大的事,有这么几条花边新闻,几乎所有的注意力,就会瞬间调头转向,这也逐渐成为公关行业一条有效处理舆情的解决方案。‍‍‍‍‍‍‍‍‍‍‍ 自然,除了研究这些龌…

    2024年10月24日
  • 药明合联在江阴成立生物技术公司注册资本2.15亿

    天眼查工商信息显示,近日,江阴药明合联生物技术有限公司成立,法定代表人为Jincai Li,注册资本2.15亿人民币,经营范围含药品生产、药品进出口、药品委托生产、国内贸易代理、离岸贸易经营、进出口商品检验鉴定、化工产品销售、普通货物仓储服务、运输货物打包服务等。股东信息显示,该公司由无锡药明合联生物技术有限公司全资持股。 天眼查信息:https://www…

    2025年11月12日
  • 万千情境因人而异,美的与用户的一场“双向奔赴”

    在智能技术领域,存在一个假设的的时间点,跨过该时间点后,智能技术将加速变革并呈指数型增长曲线,这一假设的时间点被称为技术奇点。 5月21日,“与美好同感”——2023美的全屋智能新品发布暨用户共创大会于深圳隆重举办。美的重磅发布人因智能系统和用户共创平台,并推出3类全屋智能新品和7款人感科技家电新品,实现智能家电领域专家向情境化全屋智能专家的升级跃迁,为用户…

    2023年5月23日
  • 宇树科技被起诉

    #宇树科技涉侵害发明专利权纠纷# 天眼查天眼风险信息显示,近日,杭州宇树科技股份有限公司新增1条开庭公告,原告为杭州露韦美日化有限公司,案由为侵害发明专利权纠纷,该案将于8月26日在杭州市中级人民法院开庭审理。 工商信息显示,杭州露韦美日化有限公司成立于2005年6月,法定代表人为周建军,注册资本55万人民币,经营范围包括食品互联网销售、农副产品销售、日用百…

    2025年8月25日

发表回复

您的电子邮箱地址不会被公开。 必填项已用*标注

联系我们

邮件:939297903@qq.com

工作时间:周一至周五,9:30-18:30,节假日休息

关注微信