被控诈骗政府商人已注销名下多家公司

#盘点被控诈骗政府商人商业版图##商人被控诈骗政府9500万#

据报道,亳州圆通物流园由亳州市梦翔置业有限公司投资建设,梦翔置业董事长曹玉根是圆通速递有限公司加盟商。2025年5月,亳州市谯城区人民法院开庭审理该案,检方指控曹玉根冒充圆通速递母公司骗取政府信任,利用物流项目骗取政府扶持资金、税费、专项建设基金共计9500余万元。

被控诈骗政府商人已注销名下多家公司

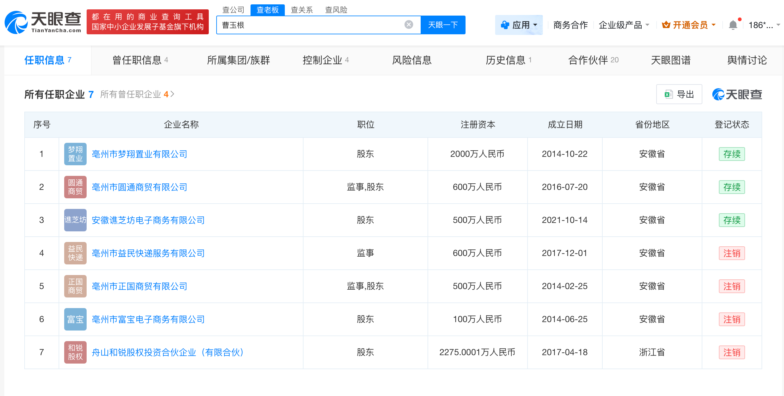
天眼查任职信息显示,曹玉根名下关联7家企业,其中4家已注销,仅亳州市梦翔置业有限公司、亳州市圆通商贸有限公司等为存续状态。

天眼查信息:https://www.tianyancha.com/human/1966349309-c2321476249

本文来自投稿,不代表创造权威IP 赋能创业者——IP百创立场,如若转载,请注明出处:创造权威IP 赋能创业者——IP百创

(0)
打赏 微信扫一扫 微信扫一扫 支付宝扫一扫 支付宝扫一扫
上一篇 2025年12月11日
下一篇 2025年12月11日

相关推荐

  • 赛力斯在北京成立问界汽车销售公司

    天眼查App显示,近日,北京问界汽车销售服务有限公司成立,法定代表人为李守忠,注册资本100万人民币,经营范围含新能源汽车整车销售、二手车经纪、机动车鉴定评估、机动车修理和维护等。股东信息显示,该公司由赛力斯旗下重庆问界汽车销售有限公司全资持股。 天眼查信息:https://www.tianyancha.com/company/7272566000

    2024年10月30日
  • 东方电气集团国际合作公司增资至10亿# 增幅约31%

    天眼查App显示,近日,东方电气集团国际合作有限公司发生工商变更,注册资本由约7.6亿人民币增至约10亿人民币,增幅约31%。 该公司成立于1985年5月,法定代表人为陈强,经营范围包括对外承包工程、电力行业高效节能技术研发、风力发电技术服务等,由东方电气(600875)全资持股。 天眼查信息:https://www.tianyancha.com/compa…

    行业动态 2026年3月31日
  • 东山精密增资至18.3亿

    天眼查工商信息显示,近日,东山精密发生工商变更,注册资本由约17.1亿人民币增至约18.3亿人民币。 苏州东山精密制造股份有限公司成立于1998年10月,法定代表人为袁永刚,经营范围包括精密钣金加工、五金件、烘漆、微波通信系统设备制造等。股东信息显示,该公司由袁永刚、袁永峰、袁富根等共同持股。 天眼查信息:https://www.tianyancha.com…

    2025年10月17日
  • 紫金矿业旗下海南锂业公司增资至78亿

    天眼查App显示,近日,紫金锂业(海南)有限公司发生工商变更,注册资本由75亿人民币增至78亿人民币。 该公司成立于2021年9月,法定代表人为蓝建明,经营范围含新能源原动设备制造、新能源原动设备销售、在线能源监测技术研发、在线能源计量技术研发、新兴能源技术研发、环境保护专用设备制造等。股东信息显示,该公司由紫金矿业(601899)旗下紫金国际控股有限公司全…

    2026年3月19日
  • 天眼查数据:#起底外泌体问题背后涉事公司

    #美莱医学旗下多家美容医院曾被处罚# 央视315晚会曝光“万能”的外泌体问题,美莱医学旗下天津河东美莱医学美容医院有限公司、四川华美紫馨整形外科医院有限公司被点名。 天眼查App显示,美莱医学美容集团有限公司成立于2010年1月,法定代表人为庄剑,注册资本5000万人民币,经营范围包括外科、整形外科专业、口腔科等,由上海美莱投资管理有限公司、陈金秀共同持股。…

    行业动态 2026年3月16日

发表回复

您的电子邮箱地址不会被公开。 必填项已用*标注

联系我们

邮件:939297903@qq.com

工作时间:周一至周五,9:30-18:30,节假日休息

关注微信