腾讯申请王者荣耀电竞梦之队商标

#腾讯申请王者荣耀英雄盛会商标#

天眼查App显示,近日,腾讯科技(深圳)有限公司申请注册多枚“王者荣耀电竞梦之队”“王者梦之队”商标,国际分类包括办公用品、服装鞋帽、通讯服务等,当前商标状态均为申请中。

腾讯申请王者荣耀电竞梦之队商标

腾讯申请王者荣耀电竞梦之队商标

腾讯申请王者荣耀电竞梦之队商标

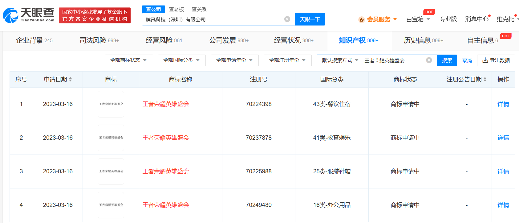
此外,该公司也于近日申请注册多枚“王者荣耀英雄盛会”商标,国际分类包括餐饮住宿、教育娱乐,当前商标状态也为申请中。

据悉,王者荣耀梦之队是虎牙王者荣耀板块五位技术主播组建的一支战队。

天眼查信息:https://www.tianyancha.com/company/150041670/zhishi

本文来自投稿,不代表创造权威IP 赋能创业者——IP百创立场,如若转载,请注明出处:创造权威IP 赋能创业者——IP百创

(0)
打赏 微信扫一扫 微信扫一扫 支付宝扫一扫 支付宝扫一扫
上一篇 2023年3月28日 下午12:59
下一篇 2023年3月28日

相关推荐

  • 内容价值感回归后,品牌边交挚友边「淘金」

    作者|耳东陈 监制|吴怼怼 2022年进入尾声,一个愈发明显的现象是,品牌靠「抓眼球」获得消费者这种玩法,在互联网增量用户越来越少的当下,已然告别所向披靡的时代。 与此同时,回看这充满不确定性的一年,能发现虽然碎片化信息铺天盖地,但人们对精品资讯的理性价值感追求在逐渐回归。 一面是文化内容减量提质,一面是品牌告别以量取胜,这意味着以长期思维构筑长效生意的时代…

    2022年12月22日
  • 赵露思单日涨粉88万

    #赵露思公开控诉银河酷娱后涨粉230万##赵露思穿鲨蜂服# 8月2日,演员赵露思在微博公开控诉经纪公司银河酷娱,随即引发广泛关注。 第三方数据显示,赵露思视频平台账号自公开控诉银河酷娱后涨粉约230.6万,8月6日当日涨粉88万。此外,该账号图文报价、视频报价均为15万。 天眼查任职企业信息显示,赵露思名下关联2家公司,仅厦门市因吹四挺影视文化工作室为存续状…

    2025年8月8日
  • 直击1MORE S50:打破运动耳机的“音质天花板”

    “有些艺术家一辈子在求新求变,有些人以不变应万变,请问如果已经是第一名的人要怎么变?” 今年4月30日,华语流行天王周杰伦在ins上这样发问。 周杰伦有资格说这样的话,他在达到音乐领域巅峰后,依然保持创新精神,不断引领和创造新的潮流。 由周杰伦担任“创意官”的万魔耳机,同样也秉承着这种创新探索精神。6月28日,这家专业音频品牌又开始了新的探索:发布开放式运动…

    2023年6月29日
  • 2025:从杭州六小龙,到深圳硬件great again

    文 | 周天 周天财经 原创出品 2025年初, DeepSeek、宇树科技、《黑神话 悟空》——「杭州六小龙」成为现象级话题。回想起年初面对杭州的红火,曾写过一个《深圳能否great again?》, 没想到时间走到2025年末,深圳really make it。最近,环西丽「隐形冠军」集群再也藏不住了。 这群隐形小巨头,密集地分布在西丽街道、粤海街道乃至…

    2025年12月10日
  • 鞠婧祎涨粉14万

    #鞠婧祎单日涨粉超1万##鞠婧祎工作室声明# 3月31日,针对被举报税务问题,鞠婧祎方发文回应。 天眼查App显示,鞠婧祎名下关联2家企业,均处于存续状态,包括上海万事如祎影视文化工作室(个人独资)、上海橘事顺利影视文化工作室(个人独资),上述企业均为鞠婧祎个人独资企业。 第三方数据显示,鞠婧祎平台近30日涨粉14.6万,3月30日单日涨粉1.1万。 天眼查…

    行业动态 2026年3月31日

发表回复

您的电子邮箱地址不会被公开。 必填项已用*标注

联系我们

邮件:939297903@qq.com

工作时间:周一至周五,9:30-18:30,节假日休息

关注微信