腾讯申请王者荣耀电竞梦之队商标

#腾讯申请王者荣耀英雄盛会商标#

天眼查App显示,近日,腾讯科技(深圳)有限公司申请注册多枚“王者荣耀电竞梦之队”“王者梦之队”商标,国际分类包括办公用品、服装鞋帽、通讯服务等,当前商标状态均为申请中。

腾讯申请王者荣耀电竞梦之队商标

腾讯申请王者荣耀电竞梦之队商标

腾讯申请王者荣耀电竞梦之队商标

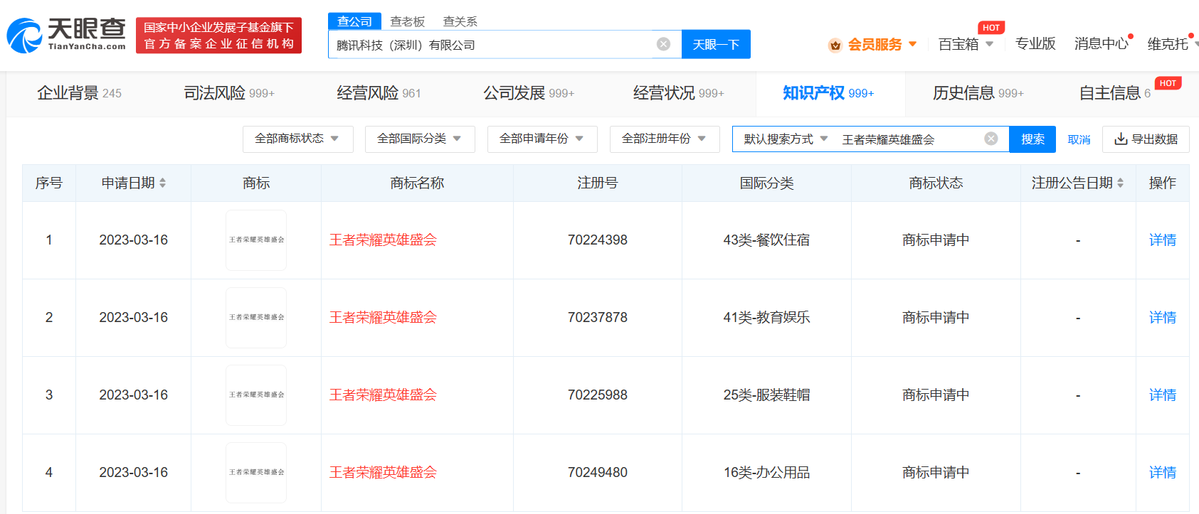
此外,该公司也于近日申请注册多枚“王者荣耀英雄盛会”商标,国际分类包括餐饮住宿、教育娱乐,当前商标状态也为申请中。

据悉,王者荣耀梦之队是虎牙王者荣耀板块五位技术主播组建的一支战队。

天眼查信息:https://www.tianyancha.com/company/150041670/zhishi

本文来自投稿,不代表创造权威IP 赋能创业者——IP百创立场,如若转载,请注明出处:创造权威IP 赋能创业者——IP百创

(0)
打赏 微信扫一扫 微信扫一扫 支付宝扫一扫 支付宝扫一扫
上一篇 2023年3月28日
下一篇 2023年3月28日

相关推荐

  • 虽然但是母婴行业还在增长

    毋庸讳言,人口红利下降已经不可逆。 千行百业都将受此影响。 但与大多数悲观者不同,我们从母婴行业数据里看到的现象并不悲观,反而是“逆势增长”。咱们就从数据和趋势洞察上尝试着来破解一下——为什么会这样? 1 重新理解“势”在人为 所谓“势”在人为,一方面是我们习惯性地把“显性的直观现象”标定为下滑、减损,这是人性,很正常,但它并不一定符合事实;另一方面当我们扭…

    2025年4月17日
  • 上海世茂建设公司等被恢复执行5.4亿

    天眼查App显示,近日,上海世茂建设有限公司、泰州世茂酒店有限公司、合肥悦盈置业有限公司新增一则恢复执行信息,执行标的5.4亿余元,执行法院为湖北省武汉市中级人民法院。 上海世茂建设有限公司成立于2001年3月,法定代表人为颜华,注册资本31.4亿人民币,经营范围为房地产开发、经营、旧房改造及经营、物业管理、室内装潢、企业管理咨询。 股东信息显示,该公司由世…

    2025年11月27日
  • 菜品加庆大霉素酒店被罚118万

    #菜品加庆大霉素酒店被拉黑# 据媒体报道,近日,南通一酒店厨师为预防顾客腹泻,在菜品中添加庆大霉素注射液事件引发关注。经法院审理,两名被告人因犯生产、销售有毒、有害食品罪获刑并处罚金。 天眼查App显示,近期,涉事南通市崇川观音山花园大酒店因生产经营国家禁止的食品、食品添加剂、食品相关产品的行为及其从属,已被南通市崇川区市场监督管理局罚款118万余元,并吊销…

    行业动态 2024年8月1日
  • 《太奶奶3》《云渺5》系列化短剧大爆发,带来何种行业启示?

    作者| Mia “《太奶奶4》大家都许愿什么剧情?搞快点,都预约上了吗!” 在各大社交平台上,前不久刚熬夜蹲点刷完《十八岁太奶奶驾到,重整家族荣耀》第三部(以下简称“《太奶奶3》”)的粉丝们,对 “456” 已经迫不及待。 此前,《太奶奶2》已是观看量破30亿的现象级短剧,第三部上线前预约量已超过800万,24小时红果热度值突破历史最高,开播即爆,最高热度一…

    行业动态 2025年11月6日
  • 吉利1亿成立智芯动力系统公司

    天眼查App显示,近日,湖州智芯动力系统发展有限公司成立,法定代表人范现军,注册资本1亿人民币,经营范围含电池制造;电池零配件生产;新兴能源技术研发;新能源汽车废旧动力蓄电池回收及梯次利用;智能车载设备制造;电机制造等。股权穿透图显示,该公司由浙江吉利远程新能源商用车集团有限公司间接全资持股。 天眼查信息:https://www.tianyancha.com…

    2023年2月23日

发表回复

您的电子邮箱地址不会被公开。 必填项已用*标注

联系我们

邮件:939297903@qq.com

工作时间:周一至周五,9:30-18:30,节假日休息

关注微信