#欢瑞世纪股东被执行1882万

#欢瑞世纪股东累计被执行7713万#

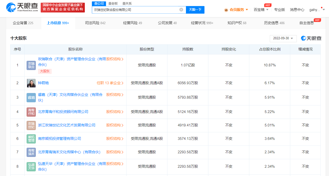
天眼查App显示,近日,浙江欢瑞世纪文化艺术发展有限公司新增被执行人信息,执行标的1882万余元,关联案件为金融借款合同纠纷,执行法院为义乌市人民法院。目前,该公司累计被执行7713万余元。

浙江欢瑞世纪文化艺术发展有限公司成立于2010年4月,法定代表人为钟君艳。股权穿透图显示,该公司为欢瑞世纪股份有限公司股东之一,持股约5.01%。

#欢瑞世纪股东被执行1882万

#欢瑞世纪股东被执行1882万

#欢瑞世纪股东被执行1882万

天眼查信息:https://www.tianyancha.com/company/65858336/sifa

本文来自投稿,不代表创造权威IP 赋能创业者——IP百创立场,如若转载,请注明出处:创造权威IP 赋能创业者——IP百创

(0)
打赏 微信扫一扫 微信扫一扫 支付宝扫一扫 支付宝扫一扫
上一篇 2023年3月28日 下午3:53
下一篇 2023年3月28日

相关推荐

  • 央视探厂盐津铺子,具像化看见中国零食的未来

    首先问个问题:一颗带着体温的鹌鹑蛋从落地到变成货架上的零食,要多长时间?不久前,央视网《超级工厂》栏目组深入盐津铺子鹌鹑养殖基地及生产工厂,在探厂直播中给出了答案,最快是八小时。 八小时生产背后,倪叔看见的是一个高度智能化的现代工厂,同时也看到见穿越周期后依然屹立潮头的中国零食企业对自己的严苛与担当。以盐津铺子为代表的这一批中国零食企业,为什么依然活跃在市场…

    2024年11月6日
  • 《不讨好的勇气》闯入“脱口秀剧集”赛道:李庚希拿稳“00花飞升”剧本?

    作者| Mia 编辑| 李寻欢 “如果每一个努力工作的员工,都只能被当做争夺利益的垫脚石,如果每一个不惜熬夜加班的员工,都只能坐在台下,那我们努力工作的意义是什么?” 刚刚凭借《我们一起摇太阳》拿下金鸡影后的李庚希,与凭“孟宴臣”一角让粉丝get到苏感,从而“上桌”的魏大勋,一起主演了《不讨好的勇气》。 身为《年会不能停》的衍生剧,“脱口秀+职场”元素叠加,…

    行业动态 2024年12月5日
  • 蜜雪冰城在海南成立福鹿兄弟企管公司注册资本2000万

    天眼查工商信息显示,近日,福鹿兄弟(海南)企业管理有限公司成立,法定代表人为陈翊新,注册资本2000万人民币,经营范围为企业管理、以自有资金从事投资活动、信息技术咨询服务、信息咨询服务。股东信息显示,该公司由蜜雪冰城股份有限公司全资持股。 天眼查信息:https://www.tianyancha.com/company/7810583260

    2025年10月24日
  • 小米首个推理大模型商标通过初审

    #小米今年已申请首个推理大模型商标##罗福莉回应加入小米# 据媒体报道,11月12日,前DeepSeek研究员罗福莉通过朋友圈宣布加入小米,参与其首个推理大模型Xiaomi MiMo研发。此前有传言称,小米创始人雷军以千万年薪招揽罗福莉,领导小米AI大模型团队。 天眼查知识产权信息显示,今年4月,小米科技有限责任公司申请注册多枚“Xiaomi MiMo”商标…

    2025年11月12日
  • 盘点#郑永刚之子郑驹商业版图#

    #郑驹近年密集接管杉杉控股旗下公司# #郑永刚家族争产背后财富版图 # 据报道,由杉杉股份创始人郑永刚过世引发的原妻之子与现任妻子之间的“夺权大战”,引起了上海证券交易所的关注。杉杉股份表示,郑永刚的儿子郑驹当选董事长符合公司章程。 天眼查App显示,郑驹共关联70余家企业中65家为存续状态,多数为杉杉控股旗下公司。其中,郑驹担任杉杉控股有限公司、上海杉融实…

    2023年3月28日

发表回复

您的电子邮箱地址不会被公开。 必填项已用*标注

联系我们

邮件:939297903@qq.com

工作时间:周一至周五,9:30-18:30,节假日休息

关注微信