vivo穿戴设备专利可在佩戴时无线充电

#vivo穿戴设备无线充电专利公布#

天眼查App显示,近日,维沃移动通信有限公司申请的“无线充电方法及无线充电系统”专利公布。

vivo穿戴设备专利可在佩戴时无线充电

编辑

vivo穿戴设备专利可在佩戴时无线充电

编辑

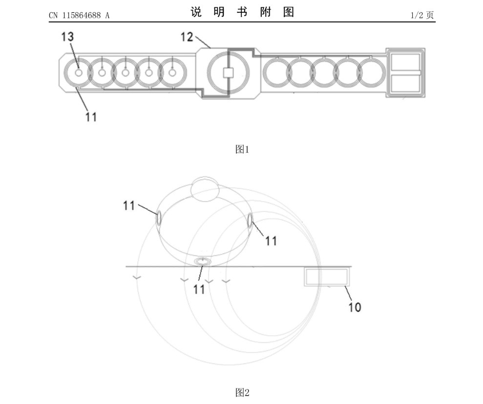
摘要及说明书显示,该专利应用于智能穿戴设备,智能穿戴设备包括多个线圈和多个压力传感器,线圈和压力传感器一一对应设置,方法包括:根据多个压力传感器的压力矩阵值,向充电工作台发送充电请求;与充电工作台建立通讯连接;获取多个线圈的磁场强度并计算充电工作台与智能穿戴设备之间的相对位置;根据相对位置向充电工作台发送移动指令;与充电工作台对接进行充电。该专利能够解决现有技术中电子设备需要和用户分离才能实现充电的问题,无线穿戴设备不需要从用户手腕上摘下也可以实现充电,进一步的,可以在无线穿戴设备对用户的各项健康数据进行监测的同时实现充电。

天眼查信息:https://zhuanli.tianyancha.com/e8d6219072bfd98a88cd93c0baaf68ec

本文来自投稿,不代表创造权威IP 赋能创业者——IP百创立场,如若转载,请注明出处:创造权威IP 赋能创业者——IP百创

(0)
打赏 微信扫一扫 微信扫一扫 支付宝扫一扫 支付宝扫一扫
上一篇 2023年3月29日 上午10:16
下一篇 2023年3月29日 下午4:40

相关推荐

  • 普利司通流体技术公司增资至27.19亿日元# 增幅约35%

    天眼查工商信息显示,近日,常州普利司通流体技术有限公司发生工商变更,注册资本由20.19亿日元增至27.19亿日元,增幅约35%。 该公司成立于2000年8月,法定代表人为今井康,经营范围包括生产油压、气压、水压软管、树脂管及其接头部件,从事液压技术的开发等。股东信息显示,该公司由普利司通(中国)化工品投资有限公司、日本普利司通流体技术股份有限公司共同持股。…

    行业动态 2026年3月20日
  • 长期主义梦醒时分

    文 | 周天财经 周天财经 原创出品 「目前的环境里,长期主义的风险增加,回报变少」。 这是蔚来创始人李斌最近一个月,在多个场合频繁反思自己掉入了长期主义陷阱,他于 11 月 20 日在内部发表的九周年内部讲话中谈到:「我们以前是做五年战略规划,考虑的比较长。但现在市场变化太快,这次只做两年经营计划。三年内不能帮助公司改善财务表现的事,要么取消,要么延迟。」…

    2023年12月11日
  • 赵露思单日涨粉88万

    #赵露思公开控诉银河酷娱后涨粉230万##赵露思穿鲨蜂服# 8月2日,演员赵露思在微博公开控诉经纪公司银河酷娱,随即引发广泛关注。 第三方数据显示,赵露思视频平台账号自公开控诉银河酷娱后涨粉约230.6万,8月6日当日涨粉88万。此外,该账号图文报价、视频报价均为15万。 天眼查任职企业信息显示,赵露思名下关联2家公司,仅厦门市因吹四挺影视文化工作室为存续状…

    2025年8月8日
  • 广汽集团成立蓝晶汽车公司# 注册资本5000万

    天眼查App显示,近日,广州蓝晶汽车有限公司成立,法定代表人为王鑫,注册资本5000万人民币,经营范围包括新能源汽车整车销售、道路机动车辆生产、人工智能应用软件开发等。股东信息显示,该公司由广汽集团(601238)旗下广汽商贸有限公司、广州黑晶投资合伙企业(有限合伙)共同持股。 天眼查信息:https://www.tianyancha.com/company…

    行业动态 2026年3月10日
  • 临沂城发控股公司登记成立注册资本5亿

    天眼查工商信息显示,近日,临沂城发控股有限公司成立,法定代表人为孙金华,注册资本5亿人民币,经营范围含以自有资金从事投资活动、土地整治服务、市政设施管理、新材料技术研发、工程管理服务、园区管理服务、供应链管理服务、有色金属合金销售等。股东信息显示,该公司由临沂市人民政府国有资产监督管理委员会全资持股。 天眼查信息:https://www.tianyancha…

    2025年11月27日

发表回复

您的电子邮箱地址不会被公开。 必填项已用*标注

联系我们

邮件:939297903@qq.com

工作时间:周一至周五,9:30-18:30,节假日休息

关注微信