#腾讯已申请玫瑰的故事商标

#黄亦玫被注册为企业名#

#玫瑰的亲事倒数第一竞争激烈#

据媒体报道,近日,由刘亦菲、佟大为领衔主演的电视剧《玫瑰的故事》正在热播,相关话题频繁冲上热搜。

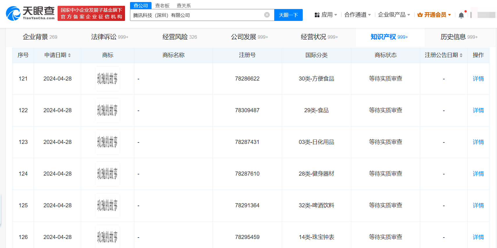
天眼查App显示,近期,腾讯科技(深圳)有限公司申请多枚“玫瑰的故事”商标,国际分类包括教育娱乐、健身器材、日化用品等,当前商标状态均为等待实质审查。据悉,《玫瑰的故事》出品方包括上海腾讯企鹅影视文化传播有限公司。

#腾讯已申请玫瑰的故事商标

#腾讯已申请玫瑰的故事商标

#腾讯已申请玫瑰的故事商标

此外,去年10月,“玫瑰的故事”曾被赵某某、广州某公司申请注册商标,目前,其中3枚商标已被驳回,1枚商标虽已处于“初审公告”状态,但于近期被提出异议。值得一提的是,该剧主角“黄亦玫”还被哈尔滨一家个体工商户用作企业名,该个体工商户成立于6月14日,经营范围为健康咨询服务、养生保健服务。

天眼查信息:

https://www.tianyancha.com/search/t401?key=%E7%8E%AB%E7%91%B0%E7%9A%84%E6%95%85%E4%BA%8B

本文来自投稿,不代表创造权威IP 赋能创业者——IP百创立场,如若转载,请注明出处:创造权威IP 赋能创业者——IP百创

(0)
打赏 微信扫一扫 微信扫一扫 支付宝扫一扫 支付宝扫一扫
上一篇 2024年6月17日
下一篇 2024年6月17日

相关推荐

  • 阿维塔换帅完成工商变更

    #王辉任阿维塔董事长# 天眼查App显示,近日,阿维塔科技(重庆)股份有限公司发生工商变更,朱华荣卸任董事长,由王辉接任。 该公司成立于2018年7月,法定代表人为陈卓,注册资本约30.65亿人民币,经营范围含第二类增值电信业务、道路机动车辆生产、小微型客车租赁经营服务、汽车零部件研发、汽车新车销售、新能源汽车整车销售等。股东信息显示,该公司由长安汽车、宁德…

    2025年10月27日
  • LMArena最新排名:文心大模型5.0-Preview文本能力国内第一

    11月8日消息,据LMArena大模型竞技场最新排名显示,文心全新模型ERNIE-5.0-Preview-1022登上文本排行榜全球并列第二、中国第一,该模型在创意写作、复杂长问题理解、指令遵循等方面表现突出,超过gpt-5-high等多款国内外主流模型。 文心全新模型ERNIE-5.0-Preview-1022登上LMArena文本排行榜国内第一 从榜单上…

    2025年11月8日
  • “前瑞幸财务造假团队”融资无望,库迪靠加盟商输血狂奔

    瑞幸的成功与前财务造假管理团队无关

    2023年5月24日
  • 缅北题材“带飞”《孤注一掷》:超前点映与饭圈大战“红与黑”

    作者| Mia 编辑| 把青 “过年了。” 背负着“下半程最大黑马”的期待,宁浩监制、申奥执导,首部讲述网络诈骗内幕的现实题材《孤注一掷》,于8月5日开启点映,首日点映票房超越《巨齿鲨2》,以1.73亿元成为当日冠军,51%的上座率和平均每场接近65人的场均人次,堪比春节档,在其带动下,8月5日、6日连续两天单日总票房超5亿元,8月6日,全国单日票房破5.0…

    行业动态 2023年8月8日
  • 不是喜欢公益的人都在阿里,而是加入阿里之后都会爱上公益

    和大家一样,倪叔也喜欢刘慈欣,尤其喜欢他那种包裹在宏大宇宙视角下的具体而细微的真实细节,最能体现这种特征的作品不是《三体》和《流浪地球》,而是一个听上去没那么科幻的短篇小说《乡村教师》。 这也是倪叔对于科幻的理解:幻想虽假,但科技很真。就像《乡村教师》里面对于“教师连接人类命运”这个母题的刻画。故事中那个偏远山区的乡村教师,坚持让孩子们学习科学知识,孩子们凭…

    2023年3月4日

发表回复

您的电子邮箱地址不会被公开。 必填项已用*标注

联系我们

邮件:939297903@qq.com

工作时间:周一至周五,9:30-18:30,节假日休息

关注微信