玱玹小夭已被注册成商标

#出品方已注册长相思商标##长相思2 定档#

今日,有网友发文称,由杨紫、张晚意、邓为、檀健次等主演的长相思第二季暂定7月10日在腾讯上线。去年,长相思第一季播出,一度成为暑期爆款。

玱玹小夭已被注册成商标

玱玹小夭已被注册成商标

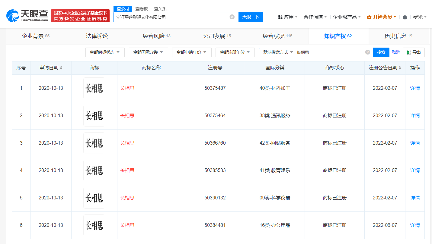
天眼查知识产权信息显示,出品方之一的浙江星莲影视文化有限公司已于2020年申请多枚“长相思”商标,国际分类为材料加工、通讯服务、教育娱乐等,这些商标均已于2022年成功注册。此外,值得一提的是,该剧第一季播出后,剧中角色、CP也被多方抢注商标,其中,“玱玹”“玱玹小夭”商标已成功注册。

天眼查信息:https://www.tianyancha.com/company/3327997918/zhishi

https://www.tianyancha.com/search/t401?key=%E7%8E%B1%E7%8E%B9

本文来自投稿,不代表创造权威IP 赋能创业者——IP百创立场,如若转载,请注明出处:创造权威IP 赋能创业者——IP百创

(0)
打赏 微信扫一扫 微信扫一扫 支付宝扫一扫 支付宝扫一扫
上一篇 2024年6月20日
下一篇 2024年6月20日

相关推荐

  • 非遗文化“喂饱”网红经济?

    这恐怕又是一场换汤不换药的商业游戏。

    2024年11月21日
  • 贤合庄关联公司经营异常

    天眼查App显示,近日,“贤合庄卤味火锅”关联公司成都市贤合庄品牌管理有限公司因通过登记的住所或者经营场所无法联系,被锦江市场监督管理局列入经营异常名录。 该公司成立于2019年6月,法定代表人为黄忠,注册资本300万人民币,由四川至膳品牌管理有限公司、福建省贤合庄餐饮有限公司分别持股51%、49%。公开信息显示,贤合庄是由演员陈赫、歌手叶一茜与主持人朱桢合…

    2024年9月2日
  • 轻医美的上游遍地“吃饱”?

    摘要:医美市场,没有创新?

    文丨罗弋

    出品丨消费最前线(xiaofeizqx)

    近日,北京证券交易所官网显示,武汉奇致激光技术股份有限公司的IPO申请已获受理。这家公司或许在普通的消费层面并不熟知,但要提及“光子嫩肤”,就不得不提到这家公司,2021年,奇致激光将激光技术与医疗美容结合,算是正式在“光子嫩肤”这一概念引入了国内的医美市场。

    这些年,以玻尿酸、肉毒素、皮肤再生产品和光电射频仪器为主的轻医美行业发展迅速,并成功带飞上游企业。除了奇致激光,其他风口项目下的华熙生物、爱美客、昊海生科也发展得如日中天。

    从行业角度来看,轻医美算是间接拯救了医美大市场。据悉,注射+光电的非手术医美在2020年爆火,凭借一己之力把原本萎靡不振的线下医美赛道从边缘线上拉了回来,根据统计,仅仅一年之内,以抗衰出名的热玛吉就增长了137.4%。

    时至今日,我国的轻医美市场规模扩张到798亿的规模,根据中信建投的数据,预计2024年中国医美市场的规模将达到3000亿元。随着“光子嫩肤”第一股的到来,或许,这个行业比我们想象得还要暴利。

    上游吃肉,下游喝汤?

    在整个医美行业,分三大产业链。首先位居上游的显然就是奇致激光、华熙生物、爱美客这一类原料设备的供给企业;剩下两类分别是中介、代理经销商,以及各大美容机构。前者以新氧为代表,后者有Yestar艺星整形、华美、美莱等等。

    尽管站在一条产业链上,但它们的命运却不尽相同,医美上下游的毛利率天差地别。新氧数据显示,在整个医美市场,上游药品耗材的产品毛利率平均在50%-90%的范围内,净利润率在20-50%之间。

    而中游那些代理经销商平均毛利率在20%-35%之间,净利率水平在5-15%之间。下游美容机构,普遍毛利率在40%-70%之间,净利率只有10%左右。从奇致激光这类光电设备企业身后的资本布局,就能看出医美上游企业的日子多么风光。

    据不完全统计,从2021年至今,仅光电医美上游产业链,就有芙迈蕾、南京佰福、雅光医疗、京渝激光、威脉医疗等超30家企业获得融资。而投资机构包括但不限于腾讯、小米、软银、IDG、北极光、高盛、高瓴……奇致激光背后站着的则是新氧。

    2222222222

    细看这些上游企业,家家赚得盘满钵满。

    奇致激光招股书显示,2020年、2021年、2022年及2023上半年,奇致激光实现营业收入分别约为1.8亿元、2.4亿元、2.5亿元和6260万元;归属于母公司所有者的净利润分别为2883.4万元、3356.8万元、4022.3万元和1112.3万元,毛利率达到55.5%、57.8%、55.6%和59.9%。

    “玻尿酸大户”华熙生物跟主打“溶液嗨体”的爱美客毛利率也不容小觑。2023年上半年,爱美客实现营业收入14.59亿元,同比增长64.93%;净利润为9.63亿元,同比增长64.66%。去年,爱美客2022年的毛利率高达94.85%,比同年茅台还高。

    华熙生物发布2023年一季报,报告显示营收 13.05亿元,同比增长 4.01%,归母净利润 2.0亿元,同比增长 0.37%;其中毛利率 73.78%。对比以上三家,新氧的财报实在惨不忍睹,2023年第一季度,新氧总收入为3.1亿元人民币(4520万美元),同比增长3.2%。

    但即便处于增长状态,新氧净利润却在亏损,归属于公司净亏损为1190万元,2020Q1、2021Q1、2022Q1、2023Q1,新氧的净利率分别-19.66%、-12.87%、-22.37%、-3.58%。医美上下游的差距到底出在哪里?

    一个关键原因就在于成本,尤其是营销成本。

    这个行业烧钱的力度不亚于任何一个泡沫风口。以新氧为例,新氧在2022年四个季度以及今年Q1的单季度营业成本分别为1.07亿、1.05亿、0.94亿、0.88亿、1.14亿,营业费用分别为2.72亿、2.47亿、2.37亿、2.13亿、2.3亿。医美机构成本构成中,主要是营销成本,能占到总成本的30%-50%。

    相比于要疯狂营销的下游企业,上游的供应商基本没有这个困扰。因为一旦踏入营销泥潭,就连华熙生物都撑不住,一直以来,华熙生物跟爱美客几乎平分医美供货天下,但从2023年,华熙生物开始逊色。

    2023年半年报,华熙生物营收增速仅为4.77%,净利润增速还首次出现下滑,反观爱美客营收增速和净利润增速始终在60%以上。原因无他,这几年,华熙生物逐渐开始面向C端消费群,如此一来,营销投入疯狂上涨。

    2022年,华熙生物的销售费用高达30.49亿元,同比增长25.17%,其中线上推广费用17.22亿元,占销售费用的56.48%。医美的钱不是那么容易赚,上游独善其身,也是因为有下游在负重前行。

    医美赛道,跨界“上瘾”?

    医美供应链在年轻人从未消失的颜值焦虑中一度能“点石成金”。华熙生物跟爱美客大放异彩的同时,不少企业也在悄悄跨界医美赛道,尤其是一些医药企业。以华东医药为例,这家资深药企最典型的医美产品是1.8万一针的少女针。

    2021年4月,华东医药旗下子公司获得医疗器械注册证的公告一出,股价就瞬间飙升,最大涨幅比例一度达到了120%。得益于少女针,去年,华东医药实现营收377.15亿元,同比增长9.11%;净利润25.33亿元,同比增长8.29%;实现归属于上市公司股东的净利润24.99亿元。

    2023年,这股跨界热潮还在继续。

    今年年初,云南白药宣布旗下的医美业务进入试运营阶段;4月份,复星医药宣布入局肉毒素市场;博瑞医药、常山药业也先后计划加入减肥药阵营,10月份,有消息称博瑞医药董事长亲自尝试减肥药,这则非官方的小道消息直接让博瑞医药股价上涨20%。

    此外,还有特一药业、江苏吴中、兴科蓉医药、四环医药、康哲药业……这些企业要么亲自研发产品,要么收购增添医美业务管线,总之,想要在医美市场分一杯羹的心思再明显不过,毕竟轻医美项目,如今也算是一项高端消费。

    华东医药有近乎两万的少女针,爱美客的高端玻尿酸每毫升也在五位数,其他项目中,以光电类的热玛吉为例,每次客单价在12000到20000元之间,光电类价位稍低的热提拉和Fotona 4D Pro,客单价也分别在8000到10000元左右,和5000到8000元之间。

    高昂的客单价能让企业快速实现产品盈利。

    但跨界也要承受不小的压力。以华东医药为例,这家医药公司为医美板块投入不少,企业年报显示,2018年,公司以近15亿元的价格收购了英国Sinclair,用来生产少女针,2021年、2022年又分别收购国际能量源医美器械公司High Tech和Viora,仅前者就耗资6.6亿元。

    这样投入所带来的后果就是2020年华东医药的营收、扣非净利润双双负增长。截至2020年前三季度,华东医药营收为255亿元,同比下降7.7%;扣非净利润20.31亿元,同比下降2.36%。要知道,在此之前,华东医药上市20年几乎无亏损。

    此外,企业现在跨界医美也多少有些迟。

    这个行业一众巨头无论主要业务重心是什么,都在积极布局第二、第三业务线。去年,华熙生物通过收购益而康生物51%的股权,正式进军胶原蛋白产业领域;爱美客则将下一步的计划放在再生材料与肉毒素上。

    昊海生科盯上了光电设备,2022年,公司花费2.05亿获得激光医疗设备厂商欧华美科63.64%的股权,开始涉足以奇致激光为代表的射频及激光美容领域。留给其他企业跨界的机会似乎不多了。

    更值得一提的是,国内目前的高端激光医疗设备,实际还在靠进口。奇致激光也好,昊海生科也罢,在市面上都打不过以色列飞顿与欧洲之星。此外,进口玻尿酸也占据着大约65%的市场份额,国家药监局批准的48款医疗器械玻尿酸中,有19款是来自8家国外厂商。

    没有技术,再怎么迎着风口跨界都是无能为力。

    医美市场,没有创新?

    在年轻人的话题中,医美的讨论度永远不过时。在小红书上,有关“医美”话题的总浏览量已达6亿人次,各种针剂与光电的消费热度持续数年,经久不衰。根据调查,在轻医美项目中,光电项目连续三年成为最受欢迎类目。

    数据显示,2022年光电医美项⽬GMV达43.63%,相比注射类和其他项目,光电医美仍为轻医美项⽬最“吸⾦”项⽬,同时也是轻医美项⽬第⼀⼤品类。注射项目中,玻尿酸仍然占大头。

    这不仅能反应出当下年轻人抗衰之心强烈,还侧面说明了一个问题:医美行业产品同质化严重,至少这几年的创新力不足,迟迟没有突破性技术。就连行业相关人士都直言:国内医美一些关键技术在挂着创新的名义,持续研发。

    以华熙生物为例。这些年,华熙生物似乎陷在创新泥潭里难以脱身,甚至在从B端往C端走,但在C端的布局也仅仅是用玻尿酸原料为基底开发的商业化产品,一度从护肤品延伸到了零食饮料。

    333333333333

    例如华熙生物推出玻尿酸水品牌“水肌泉”、玻尿酸食品品牌“黑零” 和透明质酸果饮品牌“休想角落”等三个品类。但以天猫旗舰店的数据来看,黑零和休想角落的月销量购买人数基本上还是在300-400+,玻尿酸水被频繁诟病智商税。

    事实上,华熙生物为研发所付出的投入不算少。

    年报显示,2022年华熙生物研发费用约3.82亿元,较上一年增长了36.52%;近三年研发投入在总营业收入的占比,较上一年保持了稳定增长,2020年、2021年、2022年华熙生物研发投入占比分别为5.36%、5.75%、6.1%。

    这其中,华熙生物尤其对新的生物活性物产品感兴趣。2022年华熙生物完成3个化妆品新原料备案,全年进行原料及合成生物研发项目有116项,涉及胶原蛋白、麦角硫因、人乳寡糖等新赛道新领域。

    据公开资料披露,华熙生物目前已经在合成生物领域投入近20亿元,并通过这一技术已经开展多种生物活性物的研究项目,但到目前为止,华熙生物还没有任何一项通过合成生物学技术生产的产品上市,只有部分原料处于中试阶段。

    不创新不行吗?华熙生物稳坐国内玻尿酸龙头宝座,看似前路没什么曲折。但玻尿酸从原料到终端产品,价格都在逐年下降。据弗若斯特沙利文报告显示,玻尿酸原材料的平均价格已由2017年的210元/克,逐渐降至2021年的124元/克,降幅超过4成,并且未来还有下降趋势。

    巨头显然不能切断创新,只啃老本。

    再看光电产品的发展,一直以来,光电医美设备都参差不齐。据中航证券,消费者在持牌/非持牌医美机构能够接触到被称为“射频医美器械”的设备数量超过200种,但多数器械属于无显著疗效的“山寨设备”,仅有30余种在欧洲、美国、日本或韩国通过当地医疗器械认证。

    截至2021年10月,国内通过国家药品监督管理局认证的射频医美器械其实只有21款。正在IPO的奇致激光也曾因为产品质量问题接连失利。此前,奇致激光因产品不符合标准规定医疗器械,被武汉市食药监局警告,责令停止生产不合格的医疗器械,并处罚款10000元。

    巨头尚且如此,何况其他玩家,医美乱相背后一出出悲剧与技术创新停滞有莫大的关系。

    消费最前线,曾用名锦鲤财经,为您提供专业极致中立的商业观察,公众号:xiaofeizqx。本文为原创文章,谢绝未保留作者相关信息的任何形式的转载。

    2023年10月26日
  • 抖音正式联手饿了么?两大巨头联合真能颠覆整个市场吗?

    抖音正式联手饿了么?两大巨头联合真能颠覆整个市场吗?

    互联网 2022年8月30日
  • 河南大学礼堂修缮公司被执行百万

    #北京同兴古建筑公司被执行108万# 天眼查App显示,近日,北京同兴古建筑工程有限责任公司和法定代表人徐长林,以及毛某,新增一则被执行人信息,执行标的为108.3万余元,执行法院为保定市莲池区人民法院。 北京同兴古建筑工程有限责任公司成立于1999年2月,注册资本1080万人民币,由徐长林、郭凤祥、汤崇平共同持股。此前,因河南大学修缮中的明伦校区大礼堂发生…

    2024年6月20日

发表回复

您的电子邮箱地址不会被公开。 必填项已用*标注

联系我们

邮件:939297903@qq.com

工作时间:周一至周五,9:30-18:30,节假日休息

关注微信