王鹤棣潮牌登记篮球相关作品著作权

#王鹤棣潮牌登记多项作品著作权#

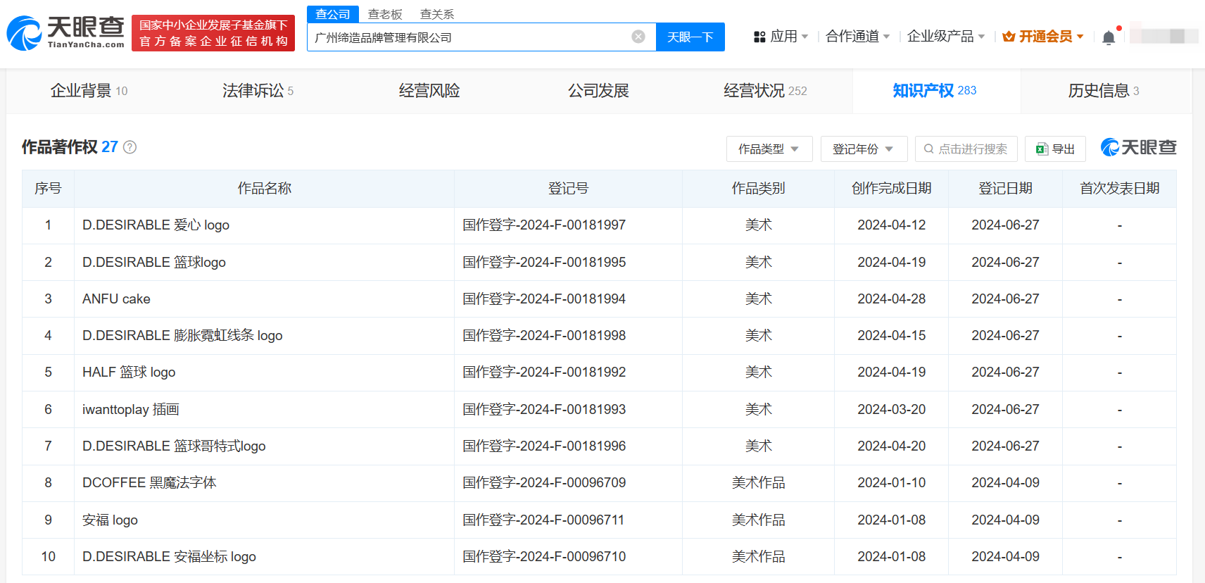
天眼查App显示,近日,广州缔造品牌管理有限公司“D.DESIRABLE 爱心 logo” “D.DESIRABLE 篮球logo” “D.DESIRABLE 篮球哥特式logo”等多项作品著作权获得登记批准,类别均为美术作品。

王鹤棣潮牌登记篮球相关作品著作权

王鹤棣潮牌登记篮球相关作品著作权

该公司为王鹤棣潮牌D.Desirable关联公司,王鹤棣持有51%股份并任公司监事。据悉,王鹤棣爱好打篮球,此前参加NBA全明星周末名人赛登场21分钟拿下18分。

天眼查信息:https://www.tianyancha.com/company/5708241566/zhishi

本文来自投稿,不代表创造权威IP 赋能创业者——IP百创立场,如若转载,请注明出处:创造权威IP 赋能创业者——IP百创

(0)
打赏 微信扫一扫 微信扫一扫 支付宝扫一扫 支付宝扫一扫
上一篇 2024年6月28日
下一篇 2024年6月28日

相关推荐

  • 科大硅谷基金入股自动驾驶技术公司

    天眼查App显示,近日,安徽中科星驰自动驾驶技术有限公司发生工商变更,新增合肥产投资本创业投资管理有限公司、合肥市天使投资基金有限公司、科大硅谷引导基金(安徽)合伙企业(有限合伙)为股东,公司注册资本由约3733万人民币增至3850万人民币,同时,部分主要人员也发生变更。 安徽中科星驰自动驾驶技术有限公司成立于2021年12月,法定代表人为周正兵,现由合肥慧…

    2024年8月28日
  • 蔡磊:与其等死,不如战斗,感谢刘强东的兜底

    蔡磊患渐冻症后,领导团队实现SOD1和FUS基因救治突破。获京东刘强东等支持,推动药物研发显著进展。蔡磊坚信“与其等死,不如战斗”,其团队正研发渐冻症护理体系,推进科研合作。

    2025年1月15日
  • 华人运通上海公司因劳动仲裁案被限消

    #华人运通上海公司及丁磊再被限消# 天眼查App显示,近日,华人运通控股(上海)有限公司及其法定代表人丁磊因未按执行通知书指定的期间履行生效法律文书确定的给付义务,被上海市闵行区人民法院限制高消费,涉及劳动仲裁案件。案件流程信息显示,今年6月,该公司已因此案被强制执行3万余元。 华人运通控股(上海)有限公司成立于2019年2月,注册资本约2.53亿人民币,由…

    2024年8月20日
  • 瑞幸重返华尔街,Manner走向港交所:谁代表中国咖啡的未来?

    中国咖啡市场进入深度洗牌期,资本扩张成为品牌角逐的关键,瑞幸与Manner不约而同将目光投向资本市场。 近期,瑞幸咖啡联合创始人、首席执行官郭谨一公开表示:“在市委市政府的指导与支持下,公司正在积极推进重返美国主板上市的相关工作。”此番表态意味着,自2020年因财务造假退市后,瑞幸正式启动重返美股市场的步伐。 几乎与此同时,有外媒报道称,Manner咖啡正考…

    2025年12月11日
  • 蔡徐坤起诉多人侵权

    #蔡徐坤起诉多人侵犯名誉权# 天眼查法律诉讼信息显示,近日,蔡徐坤与董某、邓某、武某相关名誉权纠纷案件新增开庭公告,原告为蔡徐坤,该案将于8月6日在上海松江区人民法院开庭审理。 天眼查信息:https://www.tianyancha.com/judicialcase/detail/0/feccd9bb52234c738c64b62f95cc5d5f

    2024年7月11日

发表回复

您的电子邮箱地址不会被公开。 必填项已用*标注

联系我们

邮件:939297903@qq.com

工作时间:周一至周五,9:30-18:30,节假日休息

关注微信