赛力斯申请赛界商标

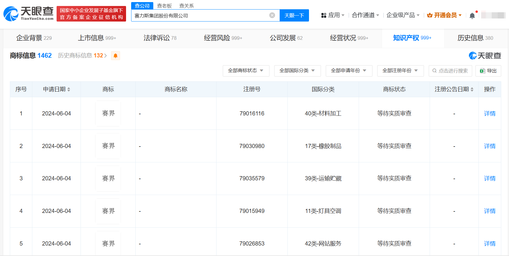
天眼查App显示,近日,赛力斯申请注册5枚“赛界”商标,国际分类包括网站服务、运输贮藏、材料加工等,当前商标状态均为“等待实质审查”。

赛力斯申请赛界商标

赛力斯申请赛界商标

据悉,此前赛力斯与华为共同打造了“问界”汽车品牌。今年1月,赛力斯申请运输工具类“赛力斯问界”商标,当前商标状态为“等待实质审查”。在此之前,华为已注册多个“问界”商标。

天眼查信息:https://www.tianyancha.com/company/145463019/zhishi

本文来自投稿,不代表创造权威IP 赋能创业者——IP百创立场,如若转载,请注明出处:创造权威IP 赋能创业者——IP百创

(0)
打赏 微信扫一扫 微信扫一扫 支付宝扫一扫 支付宝扫一扫
上一篇 2024年6月28日
下一篇 2024年6月28日

相关推荐

  • 淘宝京东决战新疆包邮,包邮服务的“下沉”刚刚打响

    配图来自Canva可画 一直以来,国内各电商平台之间的竞争从未停止,为了争夺更多用户,电商平台之间拼低价、拼内容、拼模式、拼服务等,可谓是花样百出,而自去年的“仅退款”动作之后,各大电商平台有关服务的比拼又上升了一个等级,步入了性价比阶段,开始拼“包邮”。 众所周知,新疆等偏远地区不包邮已经成为电商行业默认的“潜规则”。而如今,越来越多的电商平台和商家盯上了…

    2024年3月25日
  • 铁头曾被其打假的企业起诉

    #彩虹星球起诉网红铁头侵权##网红铁头惩恶扬善已被抓# 据报道,有网友发帖称,网红“铁头惩恶扬善”已被警方抓获,并晒出一张杭州市公安局滨江区分局的扣押决定书。记者从杭州警方处获悉,铁头确已被控制,相关案件正在侦办中。 天眼查法律诉讼信息显示,西安彩虹星球文化科技有限公司曾因网络侵权责任纠纷起诉董某某(铁头),该案于今年3月、8月两次在杭州互联网法院开庭审理。…

    2024年8月28日
  • AI范式革命下,联想给出AI基础设施的“万全之策”

    过去一年,最热的是什么?毫无疑问是AI(人工智能)。《柯林斯英语词典》直接把“AI”选为2023“年度单词”,在《咬文嚼字》发布的2023十大流行语中,“人工智能大模型”也位列其中。 但是,在AI炙手可热的时候,也出现了一些新趋势、新问题,尤其是作为AI基座的算力基础设施如何才能最大程度释放动能,值得业界关注。 突破算力瓶颈成为当务之急AI的火爆,与技术的发…

    互联网 2024年4月22日
  • 报复性旅游,“捅了”马蜂窝

    如今旅游消费复苏,谁跑得快、谁跑得慢,可能更加一目了然。

    2023年3月6日
  • 星图数据最新发布2024年双十一全网销售数据解读报告

    今年的双十一无疑是充满变化与挑战的一年。在大促前夕,阿里、京东、腾讯深入开放,在支付和物流方面互联互通。同时,政府推出的超强补贴政策首次可与平台双十一优惠叠加使用,补贴力度更是高达20%。此外,各大平台也纷纷向商家提供补贴及优惠政策支持,以减轻商家经营压力。

    那么,在今年的双十一大促中,各大电商平台究竟表现如何?又有哪些品牌在各大品类中脱颖而出,冲进榜单呢?

    2024年11月12日

发表回复

您的电子邮箱地址不会被公开。 必填项已用*标注

联系我们

邮件:939297903@qq.com

工作时间:周一至周五,9:30-18:30,节假日休息

关注微信