张小泉实控人所持6.7亿股权被冻结

#张国标所持富春控股股权被冻结#

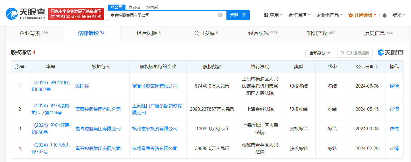
天眼查法律诉讼信息显示,近日,富春控股集团有限公司新增一则股权冻结信息,被执行人为张国标,冻结股权数额约6.74亿人民币,冻结期限自2024年6月6日至2027年6月5日,执行法院为杭州市富阳区人民法院。

张小泉实控人所持6.7亿股权被冻结

张小泉实控人所持6.7亿股权被冻结

张小泉实控人所持6.7亿股权被冻结

张小泉实控人所持6.7亿股权被冻结

富春控股集团有限公司成立于1993年8月,法定代表人、董事长为张国标,总经理为张樟生,注册资本8.43亿人民币,由张国标、张樟生分别持股80%、20%,张国标认缴出资额为6.74亿余元。股权穿透图显示,富春控股集团有限公司通过子公司杭州富泉投资有限公司控股杭州张小泉集团有限公司。

天眼查信息:https://www.tianyancha.com/company/72296059/sifa

本文来自投稿,不代表创造权威IP 赋能创业者——IP百创立场,如若转载,请注明出处:创造权威IP 赋能创业者——IP百创

(0)
打赏 微信扫一扫 微信扫一扫 支付宝扫一扫 支付宝扫一扫
上一篇 2024年6月30日
下一篇 2024年6月30日

相关推荐

  • 9岁的一加,成了改变行业的“尖刀”

    生日,是一个特殊的时点,对于一个人是这样,对于一个品牌也是这样。 今年12月17日,智能手机品牌一加迎来了自己的9岁生日,在这个特殊时点,一加也有了新的变化。 “OPPO正式进入双品牌时代,一加作为OPPO旗下,主打性能的先锋品牌,聚焦在性能赛道,为我们的用户打造兼具极致性能和质感设计的精品。在双品牌的协同上,OPPO线上就是一加。” OPPO首席产品官、一…

    2022年12月18日
  • 银发美妆的红利,都被谁“吃”掉了?

    老年人越多,银发经济越热。 根据国家统计局的数据,截至2025年底,我国60岁及以上老年人口达3.2亿人,占总人口的23%,而预计到2035年左右,这一群体数量将突破4亿人。在此背景下,银发经济规模呈现爆发式增长,当前中国银发经济规模约7万亿元,占GDP比重为6%,预计到2035年,这一数字有望飙升至30万亿元,占GDP比重升至10%。 当我们看见周围有钱、…

    2026年3月18日
  • 把事当事的你,如何在职场中掌控自若?

    一个四十不惑的中年男人,胸有远大理想,但却四处碰壁,他还有机会逆风翻盘吗?如果我说,只要把握住人生中关键的几步,就可能创造奇迹、掌控人生,你信吗? 要说绝望、一事无成,莫过于公元207年的刘备,46岁的他回首往事,虽然贵为中山靖王之后,但家世没落,只能“贩履织席”为生。纵然有匡扶汉室的宏图壮志,但征战20余年,屡战屡败,投奔过公孙瓒、吕布,也曾在曹操、袁绍、…

    2023年10月26日
  • 谁动了蒙牛的“奶酪”?

    这场相互救赎的游戏成功了吗?

    2023年4月4日
  • Web3潮流街头文化的魔力

    在数字化时代的迅猛发展中,Web3技术不仅在金融和科技领域掀起了波澜,也正深刻地影响着时尚产业的格局。作为这一变革的代表之一,Hape与Xbitoeth的联名系列——BTC运动鞋,正引领着街头文化的新潮流。这一联名系列的推出,不仅是两大品牌在传统时尚与数字创新之间的融合,更是对未来时尚趋势的前瞻性探索。 BTC运动鞋成为了一个引人注目的潮流创新。将现代科技与…

    2024年9月24日

发表回复

您的电子邮箱地址不会被公开。 必填项已用*标注

联系我们

邮件:939297903@qq.com

工作时间:周一至周五,9:30-18:30,节假日休息

关注微信