湖南台已注册芒果台商标

#湖南卫视台标#

近日,有网友称湖南台标设计理念原来来源于“鱼米之乡”,并不是芒果,引发网友讨论。

湖南台已注册芒果台商标

湖南台已注册芒果台商标

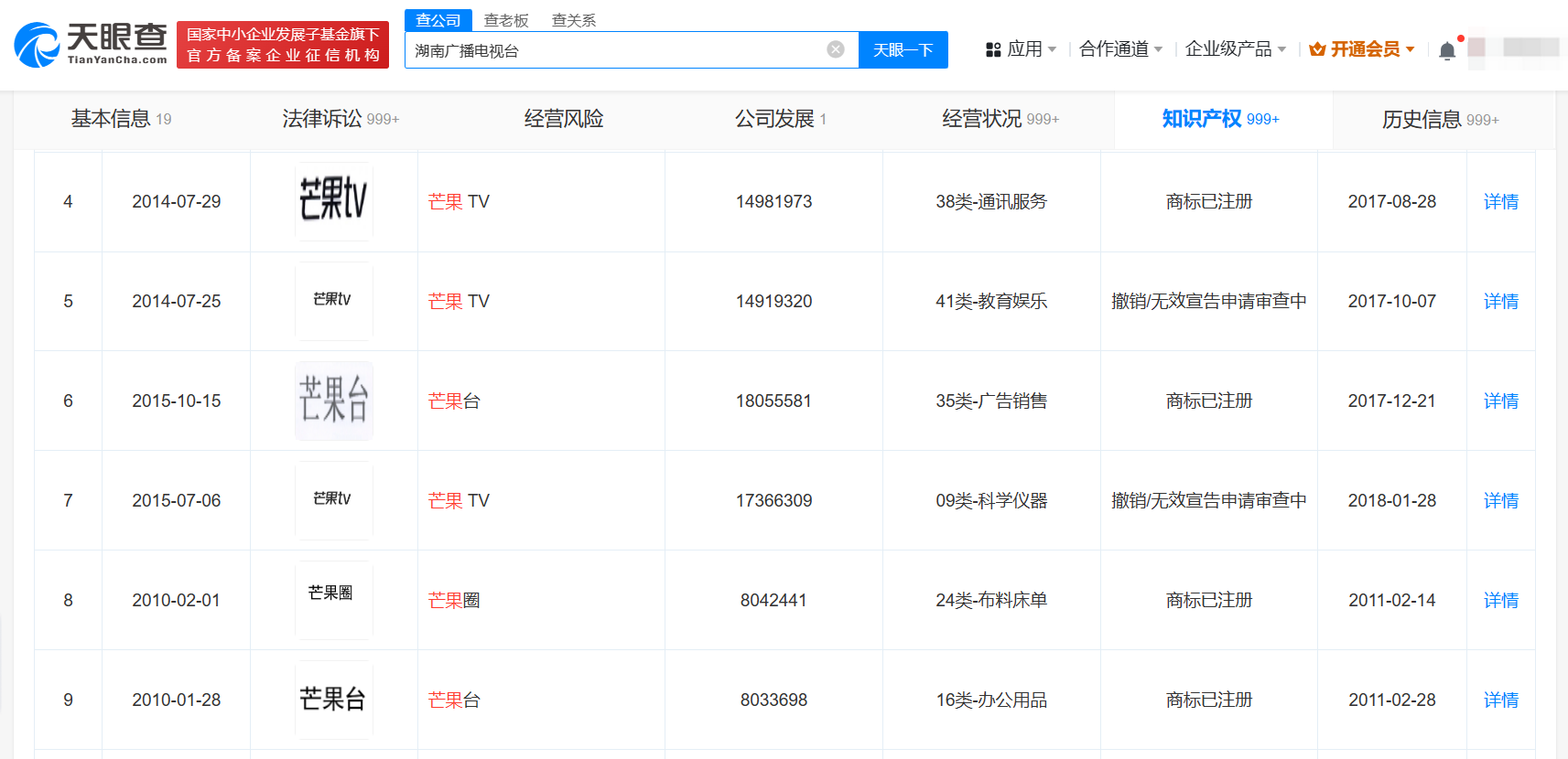
天眼查App显示,湖南广播电视台自1997年开始即申请上述台标商标,最早申请的商标已于1999年完成注册。值得一提的是,随着湖南卫视逐渐被称呼为“芒果台”,湖南广播电视台也申请了多个“芒果台”“芒果TV”商标,其中多数已成功注册。此外,该电视台还注册了多个“芒果大讲堂”“芒果大本营”“芒果新闻”等节目相关商标。

天眼查信息:https://www.tianyancha.com/company/3225377461/zhishi

本文来自投稿,不代表创造权威IP 赋能创业者——IP百创立场,如若转载,请注明出处:创造权威IP 赋能创业者——IP百创

(0)
打赏 微信扫一扫 微信扫一扫 支付宝扫一扫 支付宝扫一扫
上一篇 2024年7月1日
下一篇 2024年7月1日

相关推荐

  • 茅台旗下基金等入股新能源材料公司

    天眼查App显示,近日,兰溪致德新能源材料有限公司发生工商变更,新增茅台旗下茅台金石(贵州)产业发展基金合伙企业(有限合伙)、中金资本旗下中金(宜宾)生态文明产业发展股权投资合伙企业(有限合伙)、金石投资旗下金石成长股权投资(杭州)合伙企业(有限合伙)等为股东,同时,公司注册资本由约4335.78万人民币增至约4853.27万人民币。 兰溪致德新能源材料有限…

    2024年8月14日
  • 恒大地产等被强制执行30.5亿

    #恒大地产累计被执行超742亿# 天眼查法律诉讼信息显示,6月25日,恒大地产集团有限公司新增6条被执行人信息,执行标的合计30.56亿余元,涉及票据纠纷、建设工程施工合同纠纷等案件,部分案件被执行人还包括钦州金棕榈商贸城投资开发有限责任公司、防城港恒大金碧房地产开发有限公司、百色恒景房地产开发有限公司等。 天眼风险信息显示,恒大地产集团有限公司现存760余…

    2024年6月26日
  • 3D显示产业乘风破浪 京东方“出圈”更“出彩”

    摘要:3D显示“飞入寻常百姓家”不是遥不可及的未来,而是触手可及的当下。3D显示大规模商用“拐点”已至。显示领域的领导者京东方正加速助推3D视界进入千家万户。 文|易北辰 “屏之物联 融合共生”京东方全球创新伙伴大会·2023 于06.27—06.30在北京·亦庄 北人亦创国际会展中心隆重举行。 作为一年一度的物联网行业盛会,京东方全球创新伙伴大会自2016…

    2023年6月30日
  • 华图教育董事长等被执行2.53亿

    天眼查App显示,近日,易定宏、伍某某新增一条被执行人信息,执行标的2.53亿余元,涉及嘉兴稳弘三号投资合伙企业(有限合伙)与上述两人股权转让纠纷案件,执行法院为深圳市福田区人民法院。 天眼查显示,易定宏为华图教育关联公司北京华图宏阳教育文化发展股份有限公司法定代表人、董事长,其名下共关联40余家企业,20余家为存续状态,包括华图教育旗下多家公司,以及咨询、…

    2024年6月18日
  • 新品混战中的雀巢,京东成了自己的最佳辅助

    推陈出新成为品牌的商业通识,更被看作是破局的关键点。

    2025年1月17日

发表回复

您的电子邮箱地址不会被公开。 必填项已用*标注

联系我们

邮件:939297903@qq.com

工作时间:周一至周五,9:30-18:30,节假日休息

关注微信