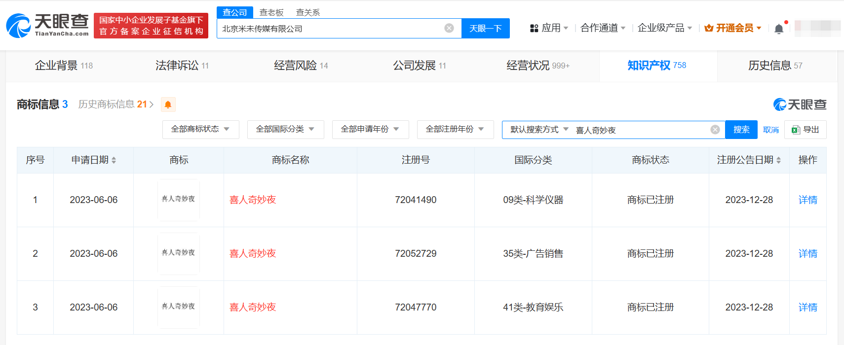
米未传媒已注册喜人奇妙夜商标

近日,综艺节目《喜人奇妙夜》开播。有网友称,一开始以为是新综艺,后来发现是《一年一度喜剧大赛》换平台改名字。

米未传媒已注册喜人奇妙夜商标

米未传媒已注册喜人奇妙夜商标

天眼查App显示,该综艺出品方北京米未传媒有限公司已于去年6月申请3枚“喜人奇妙夜”商标,国际分类为教育娱乐、科学仪器、广告销售,同年12月,上述3枚商标已成功注册。

天眼查信息:https://www.tianyancha.com/company/2310296650/zhishi

本文来自投稿,不代表创造权威IP 赋能创业者——IP百创立场,如若转载,请注明出处:创造权威IP 赋能创业者——IP百创

(0)
打赏 微信扫一扫 微信扫一扫 支付宝扫一扫 支付宝扫一扫
上一篇 2024年7月1日
下一篇 2024年7月1日

相关推荐

  • 腾讯、百度花式布局CRM

    配图来自Canva可画 早在2019年,国内几乎所有的互联网巨头就已经在CRM领域排兵布阵了,但由于投资理念和商业逻辑的不同,BAT入局CRM的思路完全不同:腾讯采取广泛投资、阿里选择战略合作、百度则是亲自下场。尽管当时这些互联网巨头们动作频频,却并未在CRM市场上激起太大浪花。 而随着C端互联网人口红利逐渐减退,BAT也不得不继续向B端市场寻求突破。于是,…

    2022年8月15日
  • 米家立式学习灯Pro发布 自然光体验再升级 

    11月27日,Redmi K80系列发布会上推出全新一代学习灯——米家立式学习灯Pro。这款产品用户提供超值的照明体验,尤其是其先进的光源技术和独特的设计,使其在众多同类产品中脱颖而出。 全新升级的米家立式学习灯Pro于10月31日正式全网开启预售,AI智能调光,打造全屋自然光环境,将同等配置产品的价格直接对折,预售价4799元,建议零售价4999元。 米家…

    2024年11月27日
  • TCL冰箱秋季新品发布会“鲜”睹为快,打造不串味真平嵌全新体验

    在追求生活品质的今天,“无异味”“保鲜强”和“颜值高”,已成为消费者对冰箱要求的关键词。作为“懂你的健康保鲜专家”,TCL冰洗秉持“为健康生活而创新”的使命,在今天的“不串味 真平嵌”2024 TCL超薄平嵌系列冰箱秋季新品发布会上,正式推出了全新双系统平嵌冰箱T9 Pro,从嗅觉、味觉到视觉等多感官提供了更优的冰箱体验,为用户的品质生活保驾护航。 作为凝聚…

    2024年8月7日
  • 大模型时代,昇思跑出创新使能“加速度”

    当下最火的是什么?绝对是人工智能。在人工智能发展的过程中,人工智能框架扮演着至关重要的角色,它为开发者提供了一个高效、灵活、便捷的开发工具,加速人工智能技术的创新和应用。 昇思MindSpore,是国内主流的开源框架,开源四年来发展迅速。3月22日,昇思人工智能框架峰会2024上披露的数据显示:访问量已达数千万,超过687万下载安装使用,在码云千万开源项目中…

    互联网 2024年3月27日
  • 丝芙兰没能成为美妆集合店的“幸存者”

    品牌加速消亡,集合店再无“新人”?

    2023年6月20日

发表回复

您的电子邮箱地址不会被公开。 必填项已用*标注

联系我们

邮件:939297903@qq.com

工作时间:周一至周五,9:30-18:30,节假日休息

关注微信