揭秘天兵科技公司

#天兵科技已有上百项火箭相关专利##天兵科技发文致歉#

7月2日,天兵科技发布致歉信:对于6月30日发生的天龙三号液体运载火箭一子级火箭因试验故障坠落起火事件,向社会公众致以最诚挚的歉意。

揭秘天兵科技公司

揭秘天兵科技公司

揭秘天兵科技公司

揭秘天兵科技公司

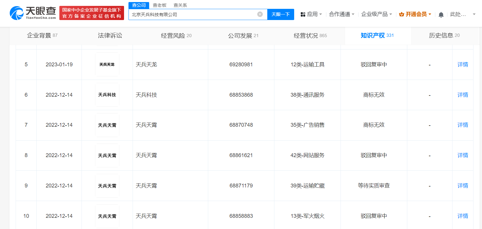
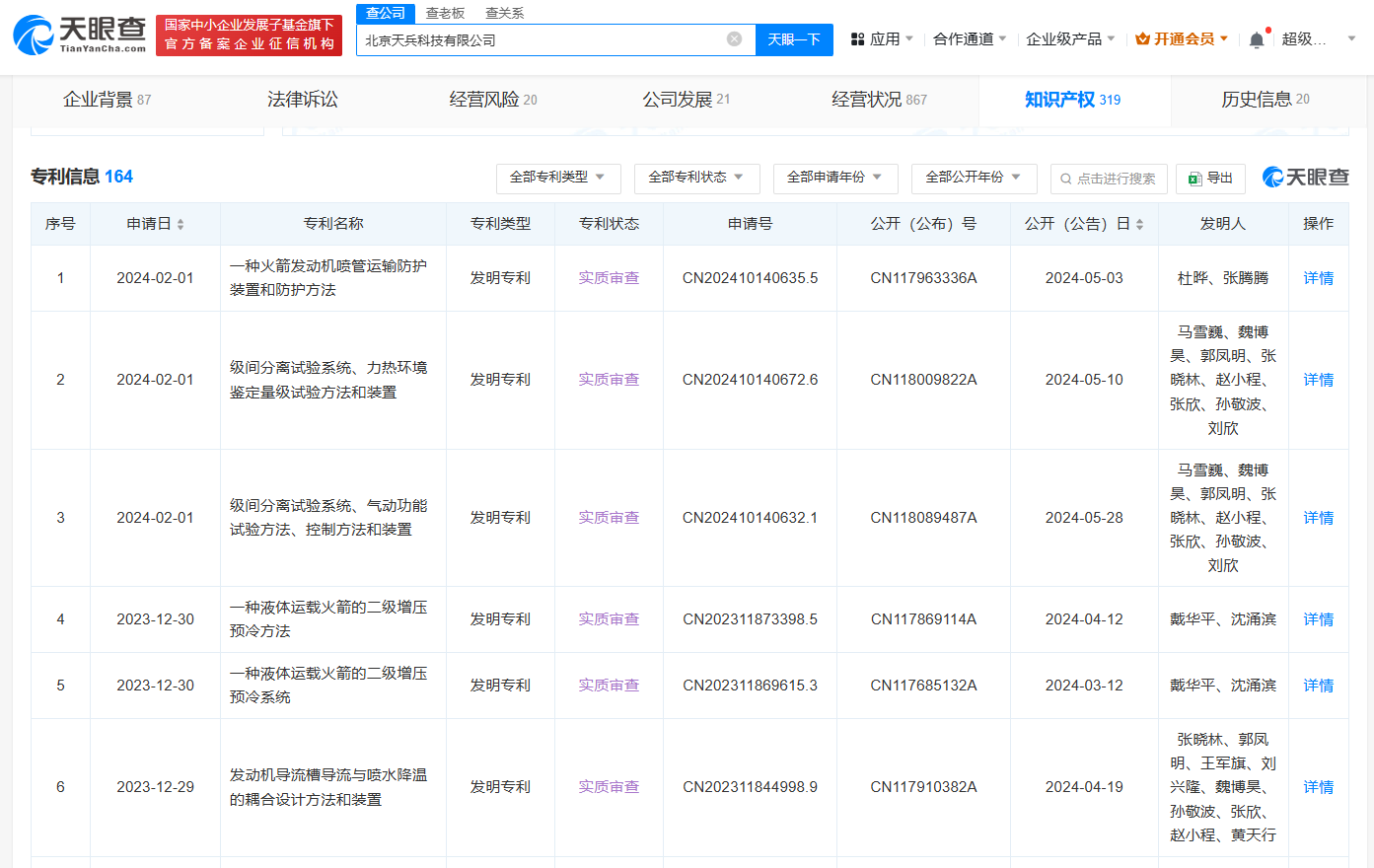
天眼查App显示,天兵科技关联公司北京天兵科技有限公司成立于2015年6月,法定代表人为康永来,注册资本1.5亿人民币,经营范围包括航天航空、飞行器及零部件、航天器及零部件、运载火箭、航天发动机的技术开发、技术服务、技术推广等,由江苏天兵航天科技股份有限公司全资持股。对外投资信息显示,该公司全资持股6家公司,其中5家为存续状态,包括巩义市天兵航天科技有限公司、苏州天兵科技有限公司等。此外,该公司分别在酒泉、西安设有分公司。知识产权信息显示,该公司已申请注册多枚“天兵”“天兵天霄”“天兵天火”“天兵航天”等商标。值得注意的是,该公司已申请160余项火箭相关专利,包括“一种快速自动脱落的连接器、设计方法和火箭发射系统”“一种可移动组合式发射台结构”等,其中部分专利已获授权。

天眼查信息:https://www.tianyancha.com/company/3289202352

本文来自投稿,不代表创造权威IP 赋能创业者——IP百创立场,如若转载,请注明出处:创造权威IP 赋能创业者——IP百创

(0)
打赏 微信扫一扫 微信扫一扫 支付宝扫一扫 支付宝扫一扫
上一篇 2024年7月2日
下一篇 2024年7月2日

相关推荐

  • 魏大勋火成暑期档“顶流”,《我的人间烟火》靠男配出圈?

    ​作者| 连翘 编辑| Mia 接近7月中旬,暑期档的热剧对垒正式进入白热化阶段。爱优腾分别打出古偶王牌《长风渡》《玉骨遥》《安乐传》,芒果TV则毫不犹豫亮出“李木戈+杨洋+王楚然”的现偶剧《我的人间烟火》。果不其然,该剧播出之后,热度紧随肖战+任敏的《玉骨遥》之后,势头强劲。不过,剧集PK火花四溅和粉丝狂欢之外,暑期档的最大受益者却另有其人。 《我的人间烟…

    行业动态 2023年7月13日
  • 赵丽颖封后,飞天奖为何率先拥抱“85花”?

    作者| 糖炒山楂 编辑| Mia 谁能想到,连续好几年被视为白玉兰奖最大看点的“85花主流奖突破”问题,会率先在飞天奖上拿到答案。当然,这也成就了本届飞天奖的流量盛宴。 三天时间,新视后赵丽颖仍是热搜常客。从当晚的#赵丽颖飞天奖视后#联动#85花格局大变#揽获超9亿热搜,到这两日刘琳等演员祝贺、《知否》梗发酵、《风吹半夏》登上爱奇艺热搜总榜第一,网友的讨论热…

    行业动态 2024年9月23日
  • #腾讯在上海成立知勉创合投资公司# 注册资本1000万

    天眼查工商信息显示,近日,上海知勉创合投资有限公司成立,法定代表人为陈菊红,注册资本1000万人民币,经营范围为投资管理、企业管理、以自有资金从事投资活动、自有资金投资的资产管理服务、信息咨询服务、财务咨询。股东信息显示,该公司由腾讯旗下深圳市腾讯睿见投资有限公司全资持股。 天眼查信息:https://www.tianyancha.com/company/7…

    行业动态 2025年8月20日
  • 智元机器人关联公司增资至9128.3万增幅约10.5%

    天眼查工商信息显示,近日,智元机器人关联公司智元创新(上海)科技股份有限公司发生工商变更,注册资本由约8263.7万人民币增至约9128.3万人民币,增幅约10.5%。 该公司成立于2023年2月,法定代表人为邓泰华,经营范围含智能机器人的研发、服务消费机器人销售、智能机器人销售、人工智能理论与算法软件开发、人工智能基础软件开发、人工智能基础资源与技术平台、…

  • 靠喝酒祛除班味的“牛马”,能不能养大酒小二?

    文 | 螳螂观察 作者 | 如意 当一天和尚撞一天钟,做一天牛马发一天疯,现在的打工人,已经有了“活人微死”感。 网友分享:“活人微死太符合我目前的状态了,这工作干的,活着跟死了一样…每天拖着一副皮囊呼吸着而已,没有任何意义的生活。” 躺有躺的价格,卷有卷的价格,以前上班讲究四两拨千斤,现在上班就讲究那个巧劲,四两拨四两。就像月薪3K的牛马,一般…

    2024年12月11日

发表回复

您的电子邮箱地址不会被公开。 必填项已用*标注

联系我们

邮件:939297903@qq.com

工作时间:周一至周五,9:30-18:30,节假日休息

关注微信