恒大地产等被强制执行5.7亿

#恒大地产累计被执行超699亿#

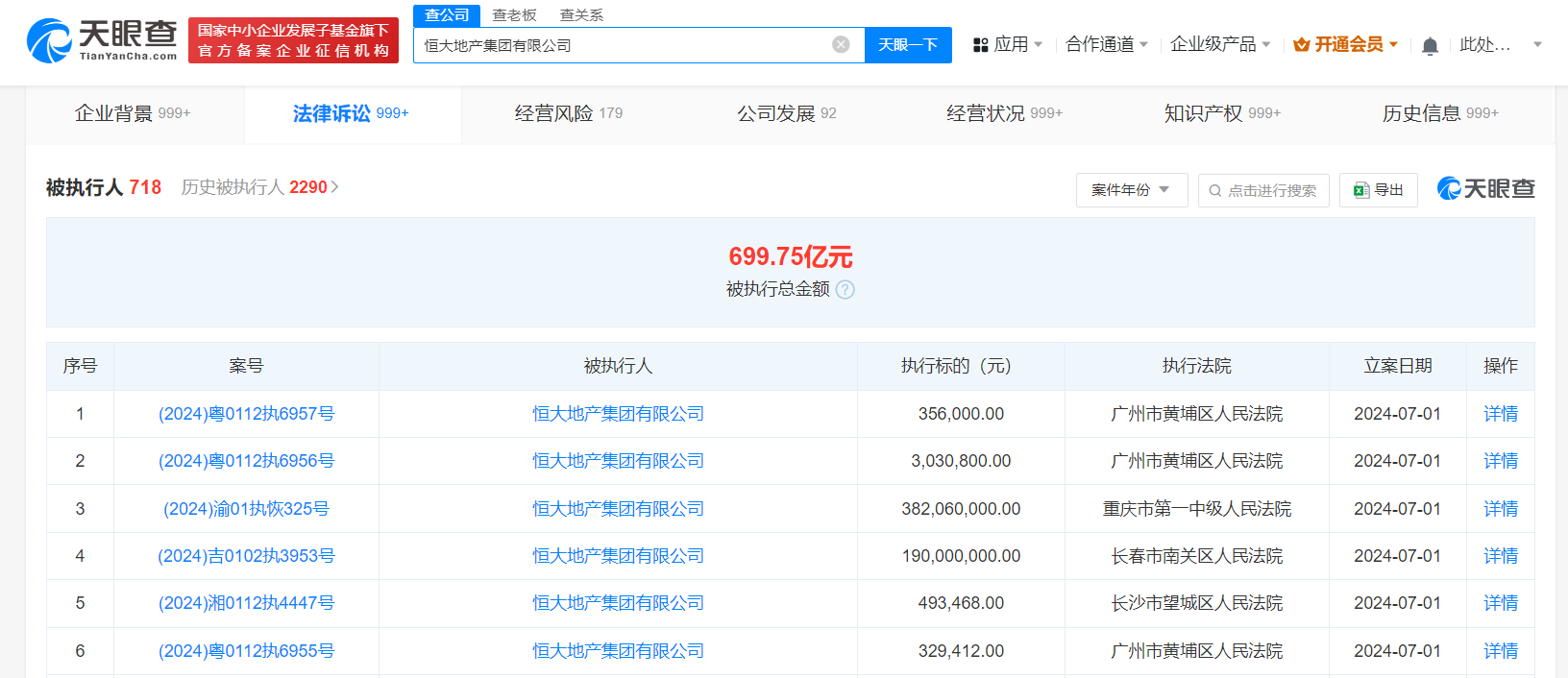
天眼查法律诉讼信息显示,7月1日,恒大地产集团有限公司新增6条被执行人及恢复执行信息,执行标的合计5.76亿余元,涉及服务合同纠纷、金融借款合同纠纷、票据追索权纠纷等案件,部分案件被执行人还包括恒大地产集团江津有限公司、恒大地产集团重庆有限公司、长春信基房地产开发有限公司等,执行法院为广州市黄埔区人民法院、重庆市第一中级人民法院、长春市南关区人民法院等。

恒大地产等被强制执行5.7亿

恒大地产等被强制执行5.7亿

风险信息显示,恒大地产集团有限公司现存710余条被执行人信息,被执行总金额超699亿元。此外,该公司还存在多条限制消费令、失信被执行人(老赖)和终本案件信息。

天眼查信息:https://www.tianyancha.com/company/7219966/sifa

本文来自投稿,不代表创造权威IP 赋能创业者——IP百创立场,如若转载,请注明出处:创造权威IP 赋能创业者——IP百创

(0)
打赏 微信扫一扫 微信扫一扫 支付宝扫一扫 支付宝扫一扫
上一篇 2024年7月2日
下一篇 2024年7月2日

相关推荐

  • 天娱传媒所持300万股权被冻结

    #天娱传媒所持股权再被冻结# 天眼查法律诉讼信息显示,近日,上海天娱传媒有限公司新增一条股权冻结信息,股权被执行的企业为湖南天娱影视制作有限公司,冻结股权数额300万人民币,冻结期限自2024年7月24日至2027年7月23日,执行法院为北京市朝阳区人民法院。 湖南天娱影视制作有限公司成立于2007年4月,法定代表人为申亚东,注册资本300万人民币,由上海天…

    2024年7月29日
  • 科大硅谷基金入股自动驾驶技术公司

    天眼查App显示,近日,安徽中科星驰自动驾驶技术有限公司发生工商变更,新增合肥产投资本创业投资管理有限公司、合肥市天使投资基金有限公司、科大硅谷引导基金(安徽)合伙企业(有限合伙)为股东,公司注册资本由约3733万人民币增至3850万人民币,同时,部分主要人员也发生变更。 安徽中科星驰自动驾驶技术有限公司成立于2021年12月,法定代表人为周正兵,现由合肥慧…

    2024年8月28日
  • 王红权星公司入股服装公司

    天眼查App显示,近日,北京圣客龙服装服饰有限责任公司发生工商变更,新增重庆星盛权文化发展有限公司为股东,持股比例约94.74%,同时公司注册资本由50万人民币增至950万人民币。股权全景穿透图显示,重庆星盛权公司由周阳、王洪全(王红权星)分别持股52%、48%。 据媒体报道,不久前,王红权星等多名拥有百万粉丝的“炫富”网红被全平台封禁。此前,王红权星因奢靡…

    2024年7月15日
  • 星巴克准备同中国本土咖啡开打价格战?7年6次换帅的“巨头”将何去何从

    随着瑞幸、库迪等中国本土咖啡品牌的崛起,“9块9喝咖啡”的概念已经深入消费者的内心,曾经是“高端”象征的星巴克则在中国市场“节节败退”,市场份额大减。 为了在最为重要的北美和中国市场重整旗鼓,星巴克从墨西哥连锁速食品牌Chipotle挖角成功,布莱恩·尼克将从9月起正式担任星巴克的新CEO。消息宣布当天(8月13日),星巴克股价应声大涨24.5%,资本市场普…

    2024年8月28日
  • #佳兆业等被恢复执行6.6亿# #佳兆业累计被执行超303亿#

    天眼查法律诉讼信息显示,6月21日,佳兆业集团(深圳)有限公司新增2条恢复执行信息,执行标的合计6.61亿余元,均涉及民间借贷纠纷案件,两案件被执行人还分别包括深圳市金沙湾大酒店有限公司、佳兆业地产(武汉)有限公司等,执行法院分别为广东省深圳市中级人民法院、湖北省武汉市中级人民法院。 天眼风险信息显示,佳兆业集团(深圳)有限公司现存140余条被执行人信息,被…

    2024年6月24日

发表回复

您的电子邮箱地址不会被公开。 必填项已用*标注

联系我们

邮件:939297903@qq.com

工作时间:周一至周五,9:30-18:30,节假日休息

关注微信