赛力斯正申请赛界商标

#赛力斯半年已卖20万辆新能源车##赛力斯拟25亿收购问界商标专利#

据媒体报道,赛力斯7月2日晚发布公告称,控股子公司赛力斯汽车有限公司拟收购华为技术有限公司及其关联方持有的已注册或申请中的919项问界等系列文字和图形商标,以及44项相关外观设计专利,收购价款合计25亿元。

赛力斯正申请赛界商标

赛力斯正申请赛界商标

赛力斯正申请赛界商标

天眼查App显示,赛力斯集团股份有限公司成立于2007年5月,曾用名为重庆小康汽车控股有限公司、重庆小康汽车集团有限公司等,其法定代表人为张正萍,注册资本约14.97亿人民币,由重庆小康控股有限公司、东风汽车集团有限公司、重庆渝安汽车工业有限公司等共同持股。对外投资信息显示,该公司持有13家企业股份,其中11家为存续状态。通过直接及间接持股,该公司拥有50余家企业的实控权。

赛力斯正申请赛界商标

赛力斯正申请赛界商标

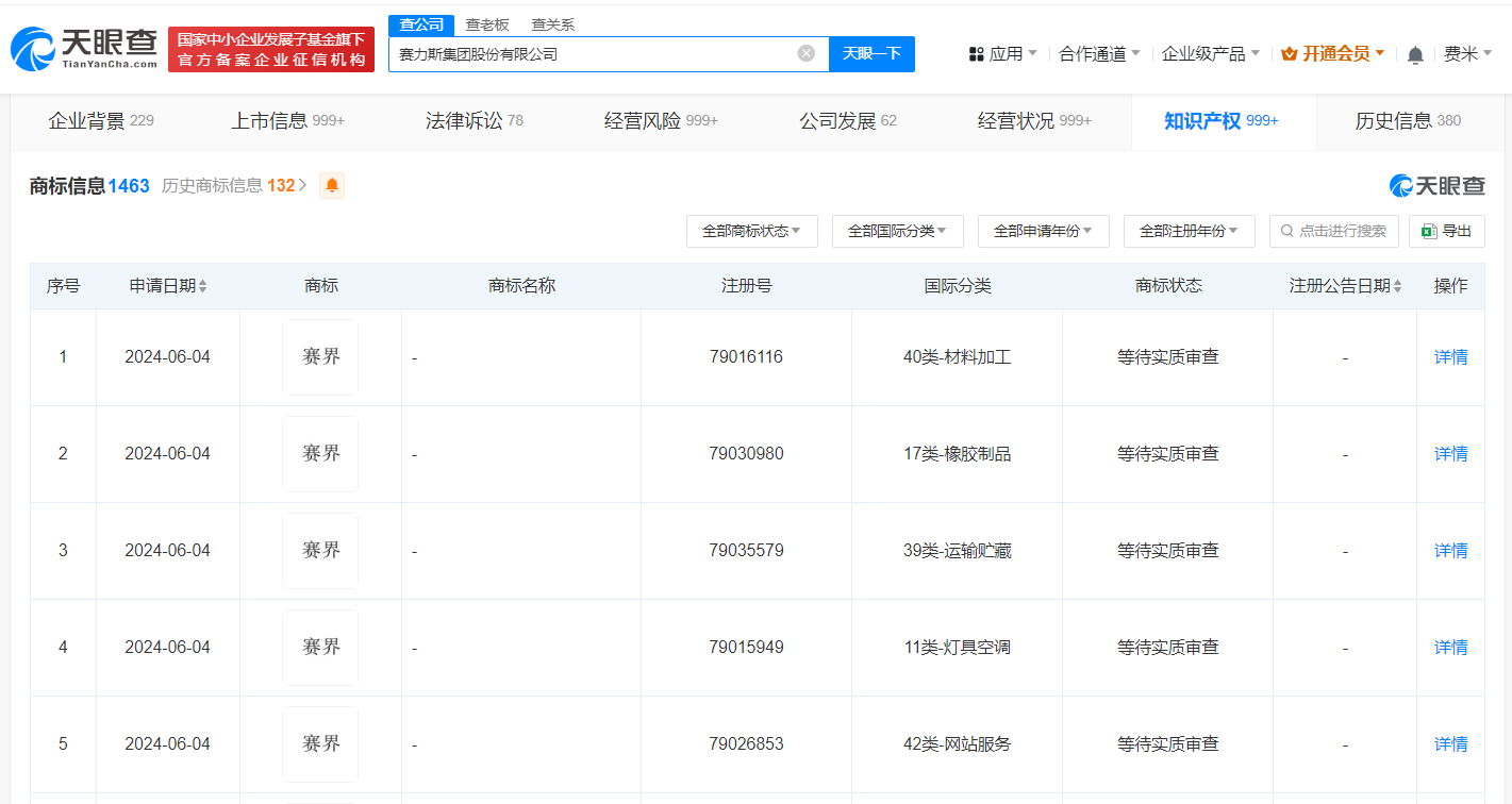
据悉,2021年底,赛力斯与华为联手推出“问界”汽车品牌。上市公告信息显示,赛力斯去年新能源汽车销量为15.09万辆,同比增长11.75%;今年1-6月累计销量已达到20.09万辆,同比增348.55%。知识产权信息显示,今年1月,赛力斯申请运输工具类“赛力斯问界”商标,近期还申请注册网站服务、运输贮藏等类别“赛界”商标,上述商标状态均为“等待实质审查”。

天眼查信息:https://www.tianyancha.com/company/145463019

本文来自投稿,不代表创造权威IP 赋能创业者——IP百创立场,如若转载,请注明出处:创造权威IP 赋能创业者——IP百创

(0)
打赏 微信扫一扫 微信扫一扫 支付宝扫一扫 支付宝扫一扫
上一篇 2024年7月3日
下一篇 2024年7月3日

相关推荐

  • 豆包真正的对手不是DeepSeek,而是千问

    AI应用的终极战场正在悄然到来。 根据新京报发布的最新榜单,截至2025年11月,中国AI应用月活排名前三为豆包(2.72亿)、DeepSeek(1.63亿)和夸克(9546万),腾讯元宝以5305万位列第四。 不过,真正的黑马却是来自阿里巴巴的千问。从2025年11月17日开启公测,上线一周下载量就突破了1000万,12月初月活增速位居全球第一;至12月中…

    1小时前
  • 与红米互相“拉踩”的一加,能扛起性价比大旗吗?

    ​与红米互相“拉踩”的一加,能扛起性价比大旗吗?

    摘要:“性价比”的誓言实现了吗?

    文丨江心白

    出品丨消费最前线(xiaofeizqx)

    一加跟红米的明争暗斗,在这段时间算是达到了一个高潮。

    先是雷军在年度演讲上,把红米正式发布的K60至尊版直接与一加11的参数进行对比,而后不到一周时间,一加也发布了一加Ace 2 Pro,自称要重构性能手机的想象力,基本在各个维度都对标红米。

    坦白来讲,今年一加的发力效果极其显著。公开数据显示,今年618期间,一加全渠道销量同比增长362%,并一举斩获京东2000元以上安卓手机品牌销量TOP2。据一加方面表示,在2023年上半年,一加手机销量同比增长335%,一加Ace系列相对Redmi K系列的销量比例,从3%提升到56%。

    IDC数据显示,2023年第一季度,中国智能手机市场一片低迷,苹果、小米、OPPO、vivo、荣耀等五大厂商出货量同比明显下滑,一加出货量却逆势增长超300%。种种战绩加身,一加对于自身的定位与计划也很宏大。

    据悉,一加方面不仅标榜自己是全行业增长最快的品牌,甚至公开表示,要在三年之内,把2000元以上的线上市场做到第一。手机市场持续萧条,一加却成为了荒凉中为数不多的闹市,不知对于别的厂商而言,是否会心生羡慕。

    先逐名,后夺利

    在价格战上,一加算是玩得炉火纯青,甚至有些不计后果。

    以2023年以来推出的一加11、一加Ace 2、一加Ace 2V为例,每一款拉动销量的关键都跟价格脱不开关系。据悉,当时一加11的12GB+256GB版本售价是3999元、一加Ace 2 12GB+256GB版售价仅需2799元。

    一加Ace 2 Pro共有12GB+256GB、16GB+512GB和24GB+1TB三种内存版本可选,分别售价2999元、3399元以及3999元。在各大手机厂商纷纷开启高端化路线的背景下,一加的定价策略显得尤为异类。

    手机市场高端化无非两个理由,一方面,在手机消费惨淡的这几年,唯有千元机与高端机的出货量影响较小,TechInsights报告指出,2022年,高端智能手机细分市场(300美元及以上)已成为出货量最大的价格区间,预计到2028年将达到73%-74%。

    另一方面,高端手机厂商始终牢牢掌控着整个行业的利润大盘。近日,Counterpoint Research发布了一份最近5个季度以来,全球前5大手机厂商的市场、营收、利润情况分析,苹果分走的利润是85%,三星的利润比苹果低73%,是12%,这两者合计就是97%。

    这样就意味着其它国产手机们,包括华为、小米、OPPO、VIVO、传音等,一共才分到3%,仅为苹果的二十八分之一,只有三星的四分之一。为此,国产手机品牌才夜以继日地抢占高端市场,以至今年折叠屏异军突起,而一加似乎志不在此。

    不仅如此,一加在今年618期间还连续降价两次,短短四天之内,一加Ace2和一加Ace2V先降价200元,之后又再次降价200元。当然,降价之后带来的销量增长十分明显,据悉,今年上半年,一加Ace系列同比增长1537%。

    一加的路径也渐渐明朗起来,这家曾经以小而美出名的极客手机品牌在疯狂抢占市场,试图突破以前的小众圈层,朝着主流手机市场奔去。除了自身原因,一加最重要的是要曲线挽救背后的OPPO。

    根据 IDC 数据,OPPO 去年第三季度全球市场出货量下滑严重,其中主品牌 OPPO 下滑了 22.3%;国内的表现更不理想,OPPO 一度 TOP 5 厂商中降幅最大的,达到了 27.9%。华兴证券更指出,OPPO 是2022年国内前五大厂商中双十一销量下滑幅度最大的一家,天猫平台销量为 25 万部(OPPO + 一加),京东平台约为 40 万部,合计比上一年同期减少了约 55 万部。

    2023年,一加蛰伏多年终于开始发力,OPPO对此的积极态度在意料之中。据悉,OPPO甚至允许,未来三年一加产品的硬件综合净利润率可以为0,这直接打破了雷军此前做出的“硬件综合利润率不超过5%”的承诺。

    2222222222222

    同时,OPPO也在资金、技术、渠道、供应链等多个方面支援一加,先逐名再追利,OPPO与一加的共识也在今年的种种举动中得到了印证,手机市场中的性价比之争,一加显然有恃无恐。

    只不过,OPPO能为一加撑多久,也会取决于其在这场战役的表现。

    “性价比”的誓言实现了吗?

    在高端领域之外,包括一加、红米在内的手机厂商不约而同地将产品重心对准了性价比。在电子消费几经低迷的市场环境下,这种布局无可厚非,去年,每经消费数据发布了一项调研,目前的智能手机消费态度指数仅为48.5,已经处于中线值以下。

    有购买计划的强意愿消费者中,只有16.8%的用户消费意愿迫切到计划1个月以内购买,大部分强意愿消费者会花费长达月余的时间选购,而在选购的因素中,性价比的存在感让人不得不重新审视手机市场的变化趋势。

    首先,手机消费降级是不争的事实,超过22%的受访者不愿为没有带给其惊喜感的手机支付更高的价格,另有超过13%的受访者明确表示购买时有严格的预算。在性价比背后,价格的敏感升级并没有降低消费者对性能配置的要求。

    有意思的是,调研结果显示,在众多影响消费者选择手机的因素中,一向催动手机厂商疯狂表达创新与科技的拍照功能,成了重要性最低的一项。但手机市场对于摄像头的热衷尤在,以小米为例,小米手机几乎每年都在相机功能上做改进,像素之外,还加入了多种场景优化,诸如HDR、智能美颜、夜视、超广角、追焦。

    此前新发布的三款手机,vivo S17系列有2160Hz高频调光以及10亿色臻彩显示;小米的Civi 3 手机,前置仿生双主摄;OPPO Reno10系列全系标配长焦镜头,超光影图像引擎……当单个摄像头像素提升变得越来越困难时,手机搭载的摄像头也逐年变多。

    有媒体统计过,从2016年到2020年,市面上的主流手机的摄像头数据基本保持一年增加一个的速度。时至今日,镜头的花活显然很难再调动起消费者的购买欲望,相反的,消费市场对于性价比的诠释多了很多种答案。

    包括存储空间、续航、屏幕、外观、散热、高刷、触控……这些要素开始在性价比上逐一凸显。调查显示,相比于各大厂商看中的拍照功能,消费者其实更加注重存储空间跟续航。然而,这些要素实现了吗?

    3333333333

    以一加为例,一加高调追求的性价比不乏许多槽点。例如,“罗超频道”测评时就曾提到,一加11在低亮度的情况下稍有偏红,而且最高激发亮度E5、E6基材的显示面板稍弱,强光下屏幕可读性有所削弱。“图图测评”也指出一加11使用的不是氢OS系统,而是ColorOS的系统。

    8月份,雷军在年度演讲中,直言一加11在续航时长、游戏3小时手机的温度、TOP20应用连续启动速度方面的劣势。事实上,被性价比红利桎梏的中端机在整个手机市场中都处于一个不上不下的尴尬地位。

    往上,在性能上与高端机相差甚远,往下,随着入门级机型配置不断升级,千元手机的性能提升,在手机消费中的占比越来越高。Counterpoint统计发现,2023 年第一季度,中国整体智能手机市场同比下滑 5%,入门级细分市场(低于 150 美元)在本季度同比大幅增长 22%。

    转转集团数据也显示,如Redmi、荣耀畅玩系列、荣耀Play系列等,都在今年的618期间大放异彩。一加们所秉承的性价比,渐渐失去了原本的光环。

    国产手机还有必要冲高吗?

    一加的销量在某些角度为国产手机高端化的必要性打上了一个问号。冲高这几年,国产手机的高端化进程远比想象得缓慢。今年第一季度,Canalys数据显示,全球高端手机出货量前十五名的机型,其中苹果占据了七个席位,几乎吃掉了高端手机市场一大半的份额,三星的表现同样不错,旗下共有六款手机上榜。

    而国产手机厂商,只有小米13和华为Mate 50上榜,分别位列第13和14名。

    如此吃力不讨好,归根到底还是创新能力与自研程度双双失调。在高端手机领域,即便苹果每年都在创新上备受诟病,但整体来看,苹果的地位依旧难以撼动,2023年,苹果15系列还未面世,消费市场对其的想象与猜测就层出不穷。

    据悉,苹果15系列将加大对零件的添置,其中,包含3nm工艺的A17、钛合金的边框、Type C的接口、潜望镜的长焦。8月23日,有科技媒体汇总了苹果 iPhone 15 Pro 机型会带来的 20 多项关键性改变。

    反观国产手机,一个明显的转折在于国内几大手机厂商对于手机的重视大不如前。

    IoT新品、汽车、大模型……看上去每个领域都比手机更能调动厂商的积极性。华为和荣耀近几年凭借不少单品爆款把IoT的生态越做越大,逐渐补全了平板、PC、智慧屏、可穿戴、智能家居等业务板块。

    魅族、小米的研发重心早就开始向汽车转移。去年,小米的大部分研发开支发生了微妙的变化,2022年财报显示,小米研发开支由去年同期的132亿元增加21.7%,至160亿元,主要就是受到智能电动汽车等创新业务费用增加影响,后者年度研发开支达到31亿元。

    2023年,小米公布一季度财报,研发支出达41亿元,同比增长17.7%,其中智能电动汽车等创新业务共投入11亿元。2022年四季度,小米裁员2798人。与之相比,汽车团队人数则从三季度的1800人再次增加至2300人左右。

    而根据卢伟冰披露的未来五年研发计划,2022年至2026年,小米总研发投入将超过1000亿元,分散投入到智能手机、智能汽车、机器人等多个领域。大模型方面,华为、OPPO、vivo的疯狂程度不亚于当年轰轰烈烈的造芯狂潮。

    难以再度激起水花的手机市场,让巨头多少有些心灰意冷。

    国产手机还有继续高端化的必要吗?从目前的表现来看,虽然苹果与三星的地位坚如磐石,但也不是全无希望,根据Sandalwood中国电商市场全平台监测数据显示,2023年iPhone 在4000-5000元市场份额下降至40%以下,5000-700元市场份额也开始降至80%以下。

    44444444444444

    但安卓和鸿蒙手机在4000元以上价位段销量却同比增长22%,其中6000-8000元价位段增速最高,达到62%。有机构预计,2023年零售价在4000元人民币以上的智能手机销量将达到7500万部以上。

    2023年第一季度,国产手机大有背水一战的架势,在几款旗舰手机上也终于开始凸显创新技术,例如荣耀Magic5系列上的青海湖电池、自研射频增强芯片、鹰眼相机,OPPO Find X6系列上的哈苏影像、马里亚纳X自研NPU影像芯片,华为P60和Mate X3上的XMAGE影像、昆仑玻璃、双向收发卫星消息……

    国产手机还不想就此放弃,或许,对于它们而言,按部就班地回归实在无趣。

    消费最前线,曾用名锦鲤财经,为您提供专业极致中立的商业观察,公众号:xiaofeizqx。本文为原创文章,谢绝未保留作者相关信息的任何形式的转载。

    2023年8月25日
  • 零食赛道太拥挤,已经容不下更多人

    过不了多久,茶颜悦色也会和它们一样,开始在拥挤的零食赛道里寻求突破口。

    2024年9月24日
  • #中国中铁在大连成立矿业公司# 注册资本3亿

    天眼查App显示,近日,中铁北方矿业(大连)有限公司成立,法定代表人为许光南,注册资本3亿人民币,经营范围含矿产资源勘查、煤炭开采、特种设备安装改造修理、金属矿石销售、煤炭及制品销售、非金属矿物制品制造、选矿、矿物洗选加工、矿山机械制造、非金属矿及制品销售等。股权全景穿透图显示,该公司由中铁九局集团有限公司全资持股,后者为中国中铁全资子公司。 天眼查信息:h…

    2024年8月23日

发表回复

您的电子邮箱地址不会被公开。 必填项已用*标注

联系我们

邮件:939297903@qq.com

工作时间:周一至周五,9:30-18:30,节假日休息

关注微信