腾讯申请微信问一问商标

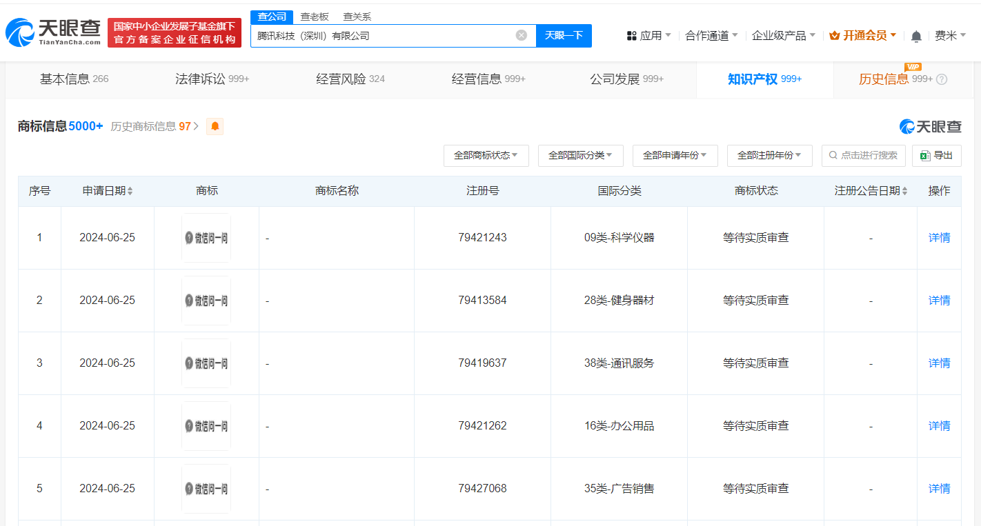
天眼查知识产权信息显示,近日,腾讯科技(深圳)有限公司申请5枚“微信问一问”商标,国际分类为办公用品、广告销售、科学仪器、健身器材、通讯服务,当前商标状态均为等待实质审查。

腾讯申请微信问一问商标

据媒体报道,在2023微信公开课上,微信“搜一搜”团队宣布将推出“问一问”功能,创作者可以浏览用户的常见问题,并对感兴趣的问题进行回答,优质答案会在用户搜索相关问题时进行展现。

天眼查信息:https://www.tianyancha.com/company/150041670/zhishi

本文来自投稿,不代表创造权威IP 赋能创业者——IP百创立场,如若转载,请注明出处:创造权威IP 赋能创业者——IP百创

(0)
打赏 微信扫一扫 微信扫一扫 支付宝扫一扫 支付宝扫一扫
上一篇 2024年7月10日
下一篇 2024年7月10日

相关推荐

  • 创始人卢文庆与三只羊无股权关联

    #卢文庆妻子为三只羊集团背后股东##曾志伟连夜改名去掉三只羊# 近期,主播辛巴与三只羊因带货大闸蟹互撕,随后辛巴爆料三只羊诸多问题。目前,三只羊集团创始人卢文庆抖音社交账号已设为私密状态。 天眼查App显示,卢文庆关联的安徽朗贤企业管理合伙企业(有限合伙)、合肥弘文人力资源管理有限公司等4家企业均为注销或吊销未注销状态。曾任职信息显示,其曾为合肥三只羊文化传…

    2024年9月4日
  • ISC.AI 2025在京开幕:开启智能化时代全球发展新纪元

    8月6日,第十三届互联网安全大会(ISC.AI 2025)在北京国家会议中心盛大开幕。大会由中国互联网协会、中国人工智能学会、中国软件行业协会、中国通信企业协会、东方企业创新发展中心、360互联网安全中心、ISC.AI大会组委会主办,中国计算机学会计算机安全专业委员会、中国人工智能学会人工智能与安全专业委员会、北京信息化和工业化融合服务联盟、中关村数智人工智…

    2025年8月6日
  • 在三线城市,拼单外卖“拯救”的不止打工人

    让三线城市的打工人每月省下可支配收入五分之一的开销,仅此一点,已经胜过千言。

    2024年8月9日
  • 融创等被强制执行20.2亿

    天眼查法律诉讼信息显示,7月23日,融创房地产集团有限公司新增5条被执行人信息,执行标的合计20.2亿余元,涉及票据追索权纠纷等案件,部分案件被执行人还包括成都融创文旅城投资有限公司、桂林融创城投资有限公司、重庆诚业建筑工程有限公司等。 风险信息显示,融创房地产集团有限公司现存570余条被执行人信息,被执行总金额超348亿元。此外,该公司还存在多个限制消费令…

    2024年7月24日
  • 都美竹起诉企业文章侵权

    #企业发都美竹吴亦凡文章被诉侵权# 天眼查法律诉讼信息显示,近日,深圳市南山区人民法院向被告深圳市雪媛生物科技有限公司公告送达原告都美竹与其人格权纠纷案件起诉状副本及开庭传票。公告内容显示,都美竹诉请法院判令被告删除其微信公众号文章《都美竹凭什么敢跟吴亦凡叫板?》,在其微信公众号上连续一个月向都美竹赔礼道歉,赔偿都美竹经济损失、精神损害抚慰金、维权支出共计8…

    2024年8月16日

发表回复

您的电子邮箱地址不会被公开。 必填项已用*标注

联系我们

邮件:939297903@qq.com

工作时间:周一至周五,9:30-18:30,节假日休息

关注微信