王鹤棣公司申请吐司品牌商标

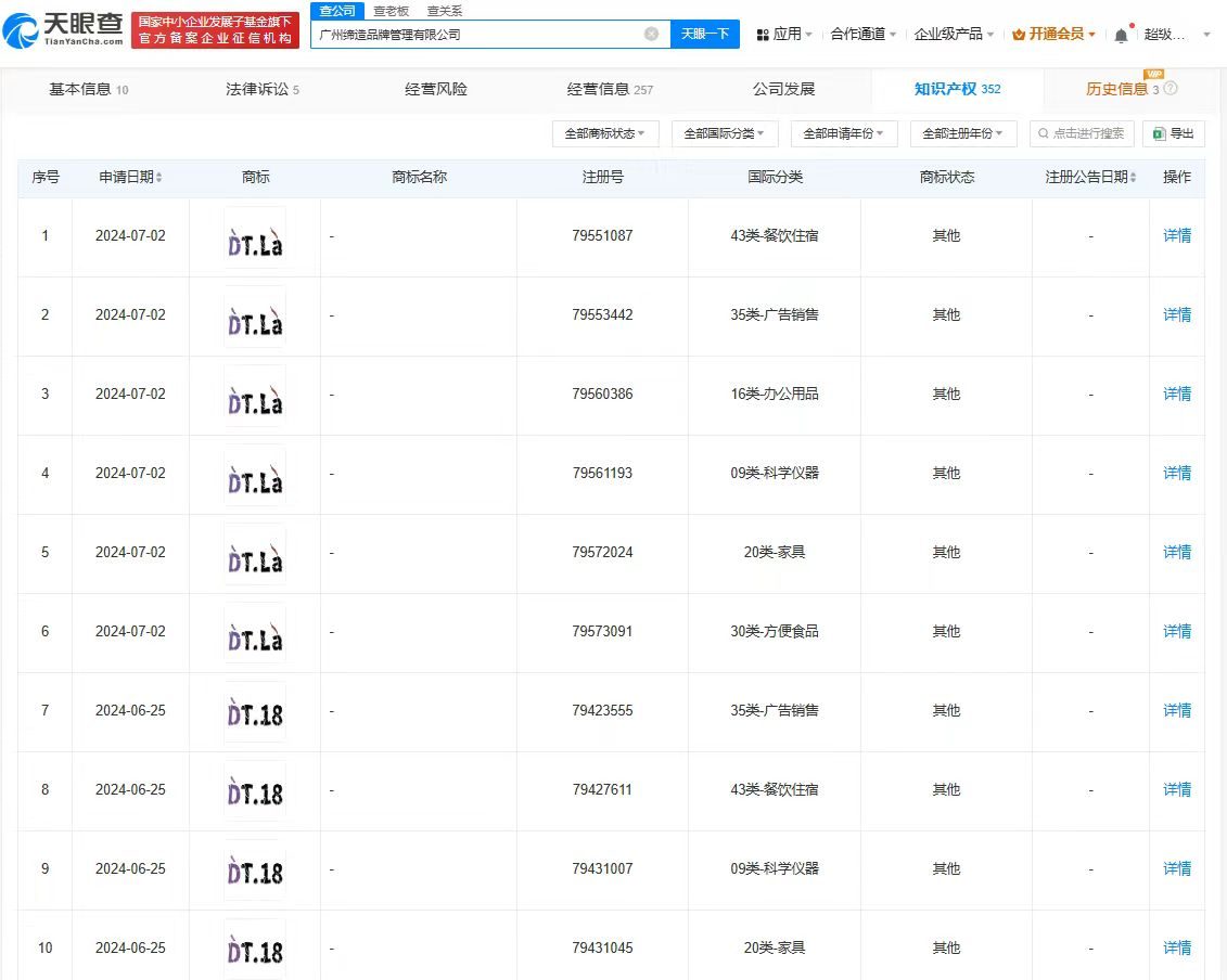
天眼查App显示,近日,广州缔造品牌管理有限公司申请注册多个“DT.18”“DT.La”商标,国际分类包括广告销售、方便食品等,当前商标状态均为等待实质审查。

王鹤棣公司申请吐司品牌商标

王鹤棣公司申请吐司品牌商标

王鹤棣公司申请吐司品牌商标

广州缔造品牌管理有限公司成立于2022年9月,法定代表人为康亢,监事为王鹤棣,由王鹤棣、康亢分别持股51%、49%。据悉,“DT.18”为王鹤棣潮牌D.Desirable近期推出的吐司面包品牌。

天眼查信息:https://www.tianyancha.com/company/5708241566/zhishi

本文来自投稿,不代表创造权威IP 赋能创业者——IP百创立场,如若转载,请注明出处:创造权威IP 赋能创业者——IP百创

(0)
打赏 微信扫一扫 微信扫一扫 支付宝扫一扫 支付宝扫一扫
上一篇 2024年8月7日
下一篇 2024年8月7日

相关推荐

  • 郑爽仍有1.2亿案款未履行

    #郑爽涉嫌不合理转让财产被诉##郑爽电视剧出品公司股权被冻结# 天眼查法律诉讼信息显示,近日,霍尔果斯尚晖影视文化传媒有限公司新增股权冻结信息,被执行人为浙江东阳尚晖影视文化传媒有限公司,冻结股权数额300万元。据悉,该公司为郑爽主演的电视剧《绝密者》出品方。 天眼风险信息显示,郑爽名下存在2则终本案件信息,未履行金额超1.2亿元,此外其已多次被限制高消费。…

    2024年7月2日
  • 吴京起诉文化传播公司侵权

    #吴京维权案件将开庭# 天眼查法律诉讼信息显示,近日,北京互联网法院向慈溪德堡文化传播有限公司送达吴京与其网络侵权责任纠纷一案起诉状副本及开庭传票,自公告之日起经过30日即视为送达,并定于举证期满后第3日开庭审理此案。 天眼查信息:https://www.tianyancha.com/judicialcase/detail/2320384863/965ef8…

    2024年6月30日
  • 小米景明在金华成立新公司

    天眼查App显示,近日,金华小米景明科技有限公司成立,法定代表人为叶航军,注册资本500万人民币,经营范围含新能源汽车整车销售、智能车载设备销售、五金产品零售、润滑油销售、商务代理代办服务、二手车经纪等。股东信息显示,该公司由小米景明科技有限公司全资持股。 天眼查信息:https://www.tianyancha.com/company/7042514904

    2024年7月17日
  • 鸿蒙智行问界新M7 Pro正式发布,旗下首款轿跑SUV智界R7同台亮相

    2024年8月26日,鸿蒙智行举行首次新品发布会,问界新M7 Pro正式上市,官方售价24.98万-28.98万元。同时,鸿蒙智行首款轿跑SUV智界R7正式亮相。华为常务董事、终端BG董事长、智能汽车解决方案BU董事长余承东表示:“问界新M7 Pro拥有同级最大空间、最好驾控、最强智驾和最强安全,是25万级最好的SUV!将为用户带来更加极致的出行体验,助力鸿…

    2024年8月26日
  • 众泰汽车被强制执行9001万

    天眼查法律诉讼信息显示,近日,众泰汽车及旗下湖南江南汽车制造有限公司、湖南江南汽车制造有限公司重庆分公司新增一条被执行人信息,执行标的9001万余元,涉及租赁合同纠纷案件,执行法院为重庆市璧山区人民法院。 众泰汽车股份有限公司成立于1998年8月,法定代表人为胡泽宇,注册资本约50.4亿人民币,由江苏深商控股集团有限公司、浙商银行股份有限公司金华分行、深圳市…

    2024年7月10日

发表回复

您的电子邮箱地址不会被公开。 必填项已用*标注

联系我们

邮件:939297903@qq.com

工作时间:周一至周五,9:30-18:30,节假日休息

关注微信