脚踩鹅肠厂家被罚2万

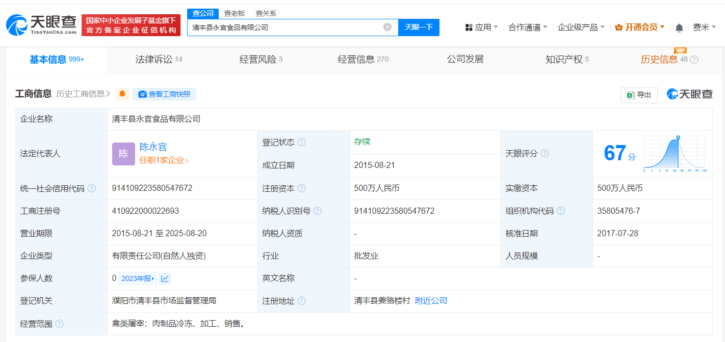
天眼查经营风险信息显示,近日,清丰县永官食品有限公司因不依照农产品质量安全法规定应当建立农产品质量安全管理制度违法行为,被清丰县农业农村局罚款2万元。该公司成立于2015年8月,法定代表人为陈永官,注册资本500万人民币,由陈永官全资持股。此前,有媒体暗访该公司及山东雅士享肉类食品有限公司,发现鸭肠随意堆放在地上,清洗地面的脏水混在鸭肠中,工人直接用脚踩洗鹅肠,甚至还有工人将从污水中捞出的死鸭再次送回车间。

脚踩鹅肠厂家被罚2万

脚踩鹅肠厂家被罚2万

脚踩鹅肠厂家被罚2万

天眼查信息:https://www.tianyancha.com/company/2324720634/jingxian

本文来自投稿,不代表创造权威IP 赋能创业者——IP百创立场,如若转载,请注明出处:创造权威IP 赋能创业者——IP百创

(0)
打赏 微信扫一扫 微信扫一扫 支付宝扫一扫 支付宝扫一扫
上一篇 2024年7月15日 下午2:41
下一篇 2024年7月15日 下午2:49

相关推荐

  • 贾玲起诉加点滋味侵权

    #贾玲起诉调味品公司侵权# 天眼查App显示,近日,贾俞玲(艺名贾玲)与杭州加点滋味科技有限公司相关网络侵权责任纠纷案件新增开庭公告,原告为贾俞玲,该案将于9月11日在杭州互联网法院开庭审理。 杭州加点滋味科技有限公司成立于2020年8月,法定代表人为申悦人,注册资本约982.87万人民币,经营范围包括日用百货销售、互联网销售、食品销售、餐饮服务、食品生产等…

    2024年8月27日
  • GLASS邓为杂志出版方被罚

    #GLASS邓为杂志被没收# 天眼查App显示,近日,尼芙摩登(北京)文化创意有限公司因存在擅自从事出版物的出版业务,提供的近两年出版物进销货清单等有关非财务票据未按规定载明有关内容,征订、储存、运输、邮寄、投递、散发、附送其他非法出版物的违法行为,被北京市文化和旅游局罚款2.5万元,并没收非法财物《GLASS 邓为》32册。 尼芙摩登(北京)文化创意有限公…

    2024年7月13日
  • 张庭正批量注销名下企业

    #张庭本月已注销17家企业# 天眼查App显示,7月以来,张庭(本名张淑琴)名下上海亿香生物科技有限公司、上海辰陆信息科技有限公司、上海赢煌信息科技有限公司、上海翔世生物科技有限公司等17家企业已完成注销。此外,其名下上海赢威企业管理有限公司、上海觉佩商务信息咨询中心(有限合伙)、上海睽远商务信息咨询中心(有限合伙)、上海臻蒂商务信息咨询中心(有限合伙)等多…

    2024年7月22日
  • 浙商银行新帅上任:能否打破罚单魔咒,重夺浙系一哥宝座?

    浙商银行迎来新任“掌舵人”,这一人事变动引发市场广泛关注。 11月17日,浙商银行发布公告称,根据中共浙江省委决定,陈海强出任浙商银行党委书记,并获提名担任董事长。浙商银行表示,该行董事会将尽快按照法定程序完成董事长的选举工作。 值得关注的是,此次高层更迭前夕,浙商银行刚刚领受大额罚单。 11月13日,深圳金融监督管理局公布的行政处罚信息显示,浙商银行深圳分…

    2025年11月20日
  • #王小川百川智能在上海成立新公司# 注册资本8000万美元

    天眼查App显示,近日,上海百川融汇科技有限公司成立,法定代表人为王小川,注册资本8000万美元,经营范围含计算机系统服务、人工智能应用软件开发、人工智能双创服务平台、人工智能理论与算法软件开发、人工智能通用应用系统、人工智能公共数据平台、人工智能公共服务平台技术咨询服务等,由BAICHUAN AILIMITED全资持股。 天眼查信息:https://www…

    2024年8月19日

发表回复

您的电子邮箱地址不会被公开。 必填项已用*标注

联系我们

邮件:939297903@qq.com

工作时间:周一至周五,9:30-18:30,节假日休息

关注微信