恒大地产等被强制执行12.9亿

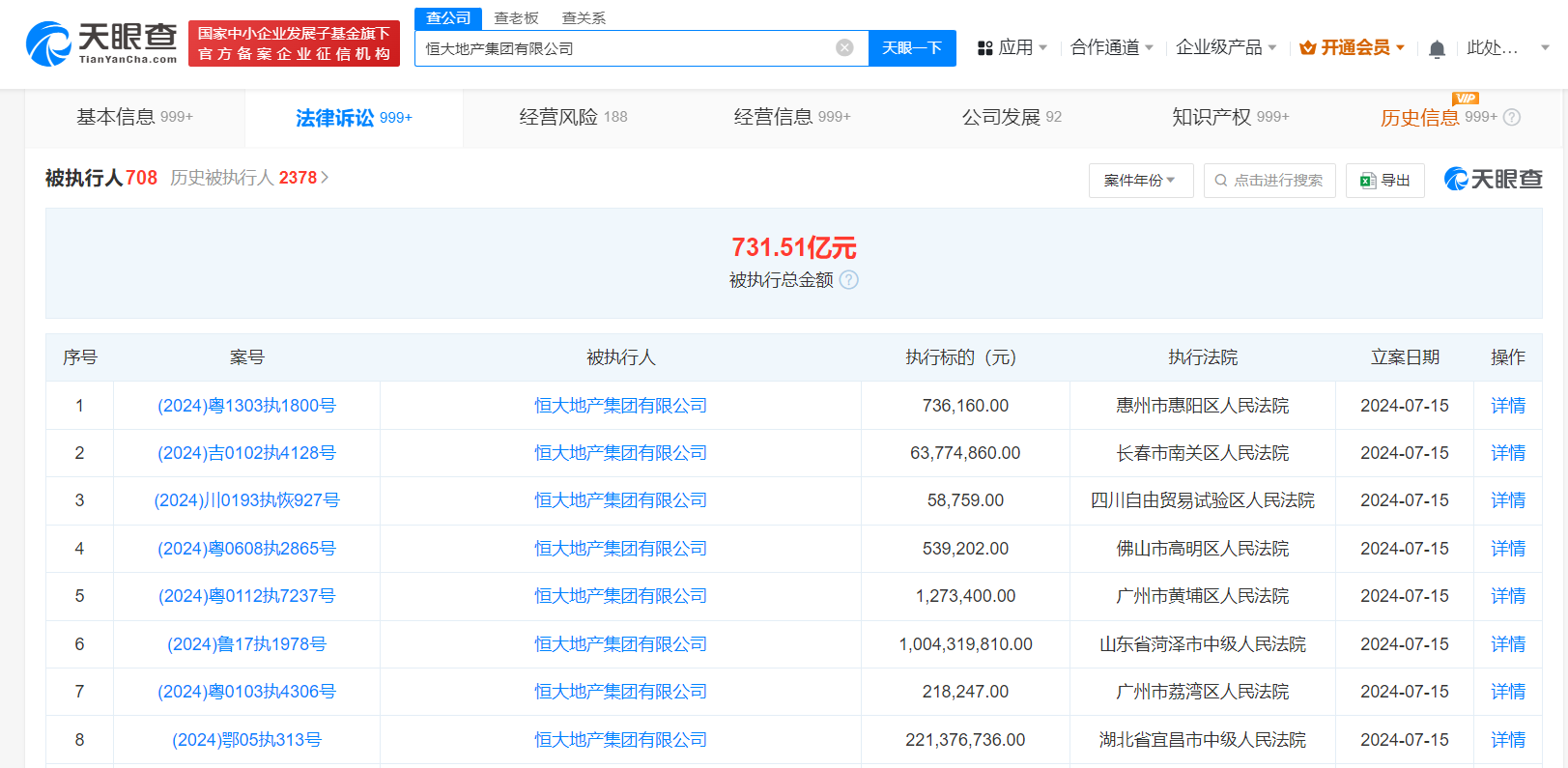
天眼查法律诉讼信息显示,7月15日,恒大地产集团有限公司新增8条被执行人信息,执行标的合计12.9亿余元,涉及票据追索权纠纷等案件,部分案件被执行人还包括恒大地产集团济南置业有限公司、菏泽帝景置业有限公司等。

恒大地产等被强制执行12.9亿

恒大地产等被强制执行12.9亿

天眼风险信息显示,恒大地产集团有限公司现存700余条被执行人信息,被执行总金额超731亿元。此外,该公司还存在多个限制消费令、失信被执行人(老赖)和终本案件信息。

天眼查信息:https://www.tianyancha.com/company/7219966/sifa

本文来自投稿,不代表创造权威IP 赋能创业者——IP百创立场,如若转载,请注明出处:创造权威IP 赋能创业者——IP百创

(0)
打赏 微信扫一扫 微信扫一扫 支付宝扫一扫 支付宝扫一扫
上一篇 2024年7月16日
下一篇 2024年7月16日

相关推荐

  • 大哥远公司已经营异常

    #大哥远公司经营异常# 近日,网红“大哥远”停播引发网友关注。 天眼查App显示,近期,哈尔滨大哥远文化传媒有限公司已因未依照规定期限公示年度报告,被列入经营异常名录。该公司成立于2023年5月,注册资本1万人民币,由亓鹏、李福共同持股。商标信息显示,该公司于去年6月申请“伍贰陆玖”商标,“伍贰陆玖”为大哥远MCN,不过,上述商标状态目前为驳回复审。 天眼查…

    2024年7月22日
  • 商户在黑悟空发售日注册同名商行

    #多家企业以黑神话黑悟空命名##黑神话悟空取景地门票销量暴涨3倍# 据媒体报道,近日,首款国产3A游戏《黑神话:悟空》上线,在多个国家游戏平台销量霸榜。此外,该游戏还带火山西多个取景地,其中,隰县小西天景区工作人员称,8月20日售出的门票比去年同日增长300%。 天眼查App显示,自《黑神话:悟空》官宣以来,多家新成立的企业以“黑神话”“黑悟空”命名,包括广…

    2024年8月22日
  • 百度智能云发布国内首个企业级MCP服务,首批上线超1000个MCP Server

    4月25日,以“模型的世界,应用的天下”为主题的Create 2025 百度AI开发者大会在湖北武汉召开。

    2025年4月25日
  • 小鹏汽车在合肥成立销售服务新公司

    天眼查App显示,近日,合肥鹏煦汽车销售服务有限公司成立,法定代表人为赵大武,注册资本500万人民币,经营范围含新能源汽车整车销售、汽车销售、新能源汽车电附件销售、轮胎销售、电池销售、小微型客车租赁经营服务、二手车经纪等。股权全景穿透图显示,该公司由合肥鹏智汽车销售服务有限公司全资持股,后者为小鹏汽车销售有限公司全资子公司。 天眼查信息:https://ww…

    2024年8月19日
  • 智谱AI等成立投资基金# 出资额2.6亿

    天眼查App显示,近日,北京星连鼎森股权投资基金合伙企业(有限合伙)成立,执行事务合伙人为北京星连肇基私募基金管理有限责任公司,出资额2.6亿人民币,经营范围为以私募基金从事股权投资、投资管理、资产管理等活动。合伙人信息显示,该基金由智谱AI关联公司北京智谱华章科技有限公司,以及成都京成燕北科技有限公司、北京星连肇基私募基金管理有限责任公司共同出资。 天眼查…

    2024年7月18日

发表回复

您的电子邮箱地址不会被公开。 必填项已用*标注

联系我们

邮件:939297903@qq.com

工作时间:周一至周五,9:30-18:30,节假日休息

关注微信