史玉柱所持1.14亿股权被续冻

#史玉柱持巨人投资公司股权被续冻#

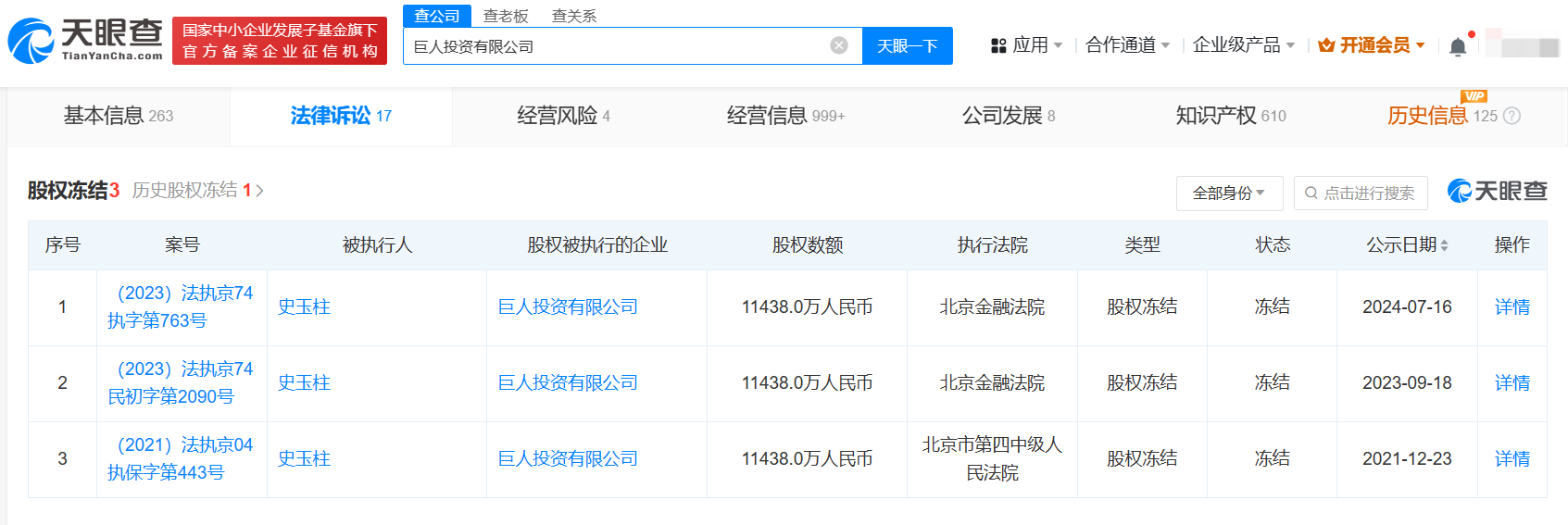
天眼查App显示,近日,巨人投资有限公司新增一则股权冻结信息,被执行人为史玉柱,冻结股权数额为1.14亿余元,冻结期限由原来的自2021年8月至2024年8月,变更为自2021年8月至2027年7月。

史玉柱所持1.14亿股权被续冻

史玉柱所持1.14亿股权被续冻

史玉柱所持1.14亿股权被续冻

巨人投资有限公司成立于 2001年4月,法定代表人为史玉柱,注册资本约1.17亿人民币,由史玉柱、牛金华分别持股约97.86%、2.14%。天眼风险信息显示,此前,史玉柱所持该公司股权已多次被冻结。

天眼查信息:https://www.tianyancha.com/company/14636396

本文来自投稿,不代表创造权威IP 赋能创业者——IP百创立场,如若转载,请注明出处:创造权威IP 赋能创业者——IP百创

(0)
打赏 微信扫一扫 微信扫一扫 支付宝扫一扫 支付宝扫一扫
上一篇 2024年7月17日
下一篇 2024年7月17日

相关推荐

  • 雅迪子公司产品不符合国标被罚7.2万

    #浙江雅迪机车公司被罚7.2万# 天眼查App显示,近日,浙江雅迪机车有限公司因生产不符合保障人体健康和人身财产安全的国家标准产品,被宁波市市场监督管理局罚款7.2万余元,并没收违法生产的产品1台。处罚内容显示,今年4月,执法人员对该公司生产、检验合格并待销的电动自行车进行随机抽样检查,样品经检验不符合强制性国家标准要求。 浙江雅迪机车有限公司成立于2002…

    2024年8月29日
  • 虎头局再被列为经营异常

    天眼查App显示,近日,虎头局关联公司上海万物有样餐饮管理有限公司因未依照规定的期限公示年度报告,被上海市市场监督管理局列入经营异常名录。值得一提的是,2023年7月,该公司也曾被列为经营异常。 上海万物有样餐饮管理有限公司成立于2020年12月,法定代表人为胡亭,注册资本约15.24万人民币,由胡亭、上海饱佑企业管理合伙企业(有限合伙)、宋欢平等共同持股。…

    2024年7月15日
  • 智慧PC进入到“通感美学时代”

    全球PC市场在刚刚过去的一个季度依然低迷。Canalys最新报告显示,2023年一季度中国PC市场整体下滑23.8%,但华为却保持了34.1%的超高增长率,让人刮目相看。 PC市场发展所酝酿的变革大势已经日趋明朗,华为是这其中的先行者。曾经不解为何华为能在市场低迷之时做到鹤立鸡群,但当我使用了华为MateBook X Pro 2023一段时间后,一切都有了答…

    2023年7月27日
  • #米哈游成立秘法科技公司# 含AI软件开发业务

    天眼查App显示,近日,上海米哈游秘法科技有限公司成立,法定代表人为于晨曦,注册资本100万人民币,经营范围含数据处理和存储支持服务、信息技术咨询服务、动漫游戏开发、数字文化创意软件开发、专业设计服务、信息咨询服务、人工智能应用软件开发等,由上海米哈游网络科技股份有限公司全资持股。 天眼查信息:https://www.tianyancha.com/compa…

    2024年7月1日
  • 观“追觅俞浩改名”有感,互联网,请别把“企业家”逼成“网红”

    俞浩不想做一家“嘈杂的平庸公司”,我们这个社会,或许也不该容忍一个“嘈杂的平庸舆论场”。互联网,请别再把“企业家”逼成“网红”。

    2026年2月1日

发表回复

您的电子邮箱地址不会被公开。 必填项已用*标注

联系我们

邮件:939297903@qq.com

工作时间:周一至周五,9:30-18:30,节假日休息

关注微信