张庭正批量注销名下企业

#张庭本月已注销17家企业#

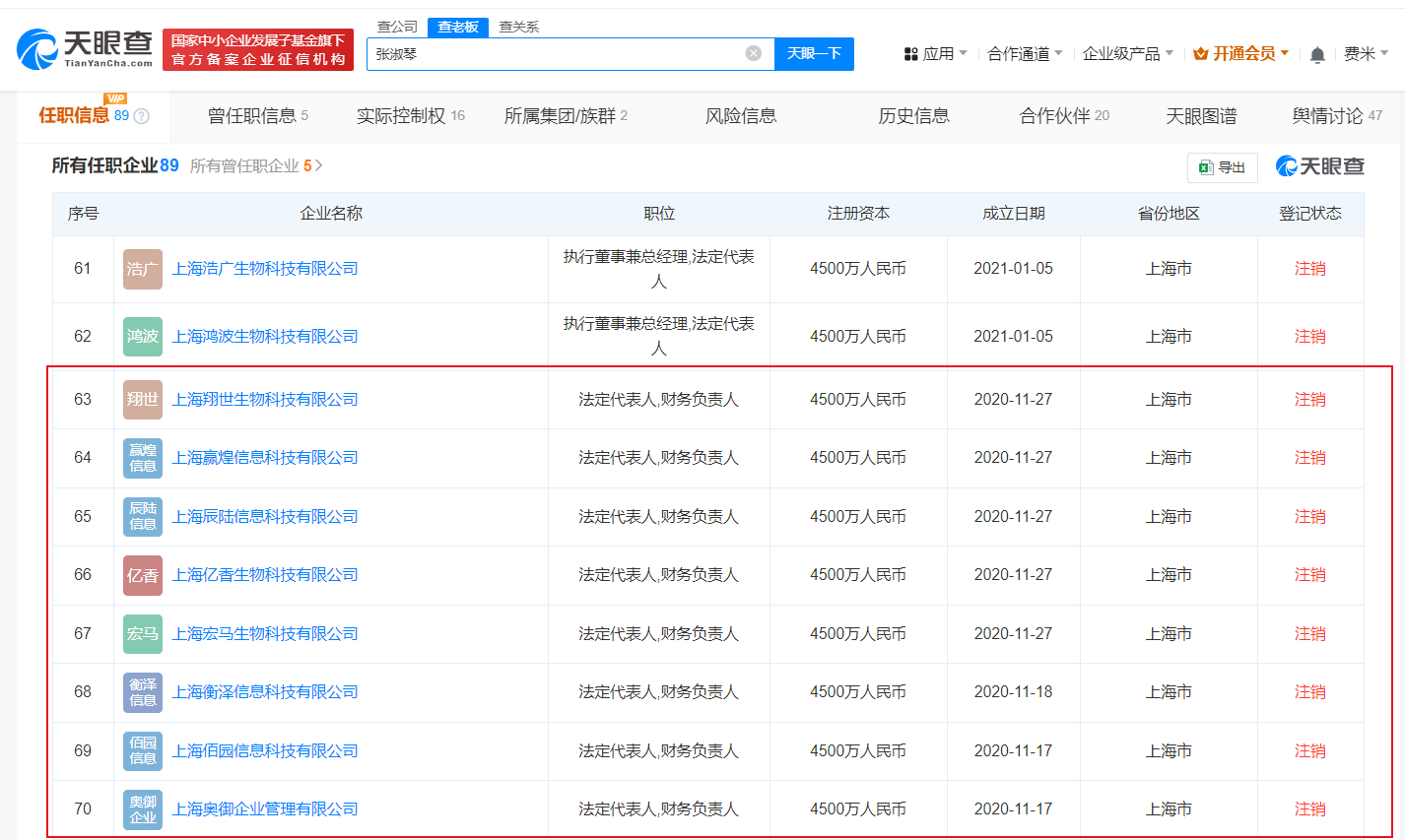
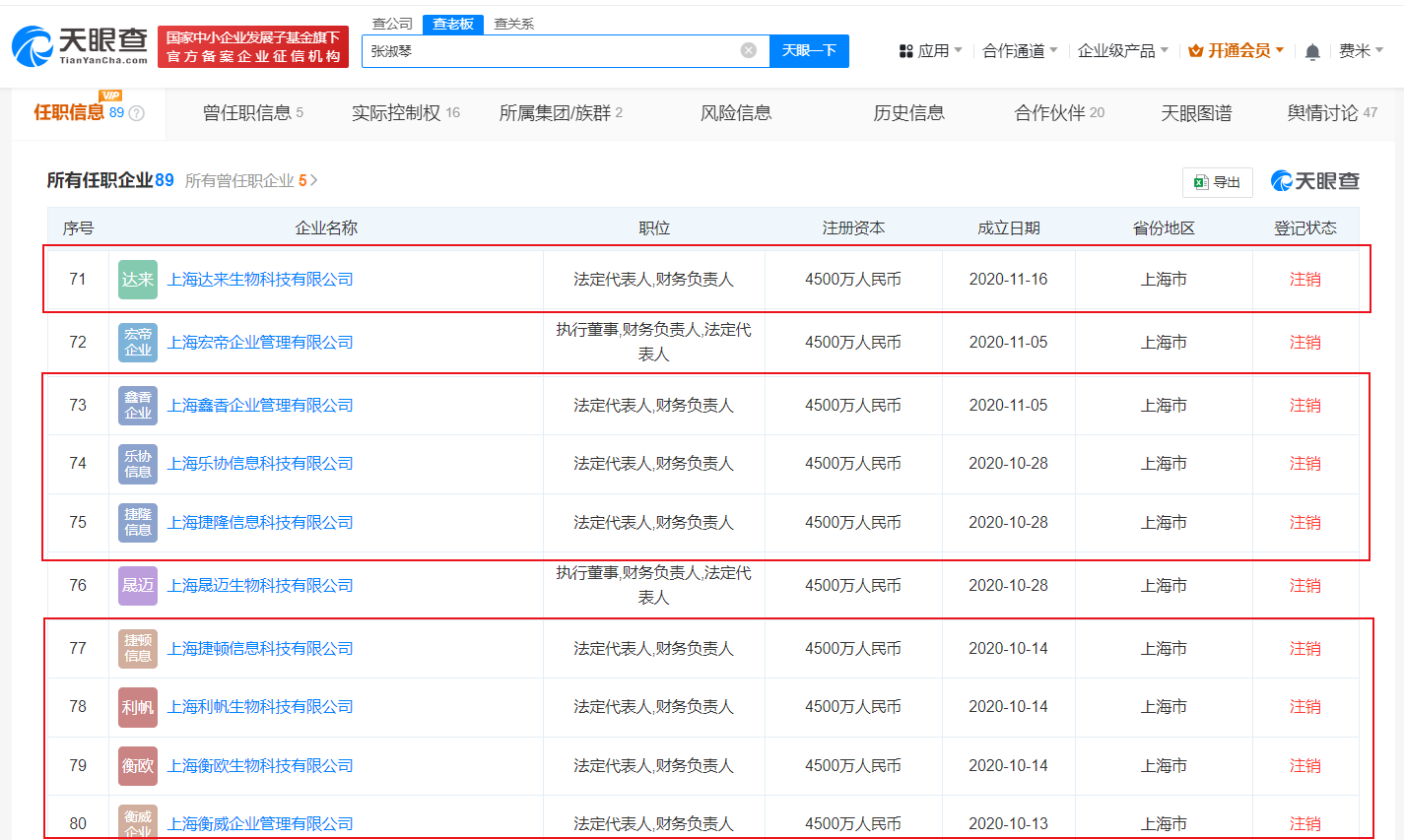
天眼查App显示,7月以来,张庭(本名张淑琴)名下上海亿香生物科技有限公司、上海辰陆信息科技有限公司、上海赢煌信息科技有限公司、上海翔世生物科技有限公司等17家企业已完成注销。此外,其名下上海赢威企业管理有限公司、上海觉佩商务信息咨询中心(有限合伙)、上海睽远商务信息咨询中心(有限合伙)、上海臻蒂商务信息咨询中心(有限合伙)等多家企业也正在进行简易注销公告。

张庭正批量注销名下企业

张庭正批量注销名下企业

张庭正批量注销名下企业

天眼查显示,张庭名下近90家企业中52家为存续或开业状态,张庭在这些企业担任法定代表人、执行董事或监事等。值得一提的是,2个多月前,其名下存续或开业状态的企业为76家,即2个多月已注销20余家。

天眼查信息:https://www.tianyancha.com/human/1929000132-c4041941694

本文来自投稿,不代表创造权威IP 赋能创业者——IP百创立场,如若转载,请注明出处:创造权威IP 赋能创业者——IP百创

(0)
打赏 微信扫一扫 微信扫一扫 支付宝扫一扫 支付宝扫一扫
上一篇 2024年7月22日
下一篇 2024年7月22日

相关推荐

  • 马云一米八旗下公司入股博瑞迪生物

    #马云一米八旗下公司入股育种企业# 天眼查App显示,近日,石家庄博瑞迪生物技术有限公司发生工商变更,新增马云一米八旗下一米八农业科技(海南)有限公司等为股东,同时,公司注册资本由约291.8万人民币增至约357.7万人民币,部分主要人员也发生变更。 石家庄博瑞迪生物技术有限公司成立于2017年4月,法定代表人为张嘉楠,经营范围含信息系统集成服务、通讯设备销…

    2024年7月24日
  • 吃掉喜马拉雅,腾讯音乐增长瓶颈有救了?

    不得不说,腾讯音乐能有今天的地位,投资并购策略可谓居功至伟。 今年6月10日,腾讯音乐宣布与喜马拉雅签署并购协议,计划以12.6亿美元现金(约合人民币90亿元)及腾讯音乐相关股权组合全面收购喜马拉雅。本次交易完成后,喜马拉雅将成为腾讯音乐的全资子公司。 至此,腾讯音乐拥有QQ音乐、酷狗音乐、酷我音乐三大音乐APP,拥有全民K歌这一K歌平台,拥有喜马拉雅、懒人…

    2025年7月28日
  • 中国质量认证中心推出电竞显示器性能认证

    2023年4月21日,中国质量认证中心(CQC)、国家广播电视产品质量检验检测中心(北京泰瑞特检测技术服务有限责任公司,以下简称“泰测公司”)共同举办了电竞显示器性能认证发布会。中国质量认证中心党委委员、副主任刘江,泰测公司总经理刘志刚等相关领导出席活动并致辞。中国视像行业协会、首批电竞显示器获证企业受邀参加活动。 刘江指出,中国质量认证中心作为国内领先的质…

    2023年4月22日
  • 酒旅业会重现“外卖大战”的盛况?想多了

    为什么“酒旅大战”不会有“外卖大战”那样惨烈与热闹?

    2025年8月11日
  • 法法汽车被强制执行31万

    天眼查法律诉讼信息显示,近日,法法汽车(中国)有限公司新增一条被执行人信息,执行标的31万余元,执行法院为北京市朝阳区人民法院。 法法汽车(中国)有限公司成立于2017年3月,法定代表人为王志刚,注册资本4.2亿人民币,由FF Hong Kong Holding Limited、乐视汽车科技(北京)有限公司共同持股。 天眼查信息:https://www.ti…

    2024年8月20日

发表回复

您的电子邮箱地址不会被公开。 必填项已用*标注

联系我们

邮件:939297903@qq.com

工作时间:周一至周五,9:30-18:30,节假日休息

关注微信