恒大地产等被强制执行19.7亿

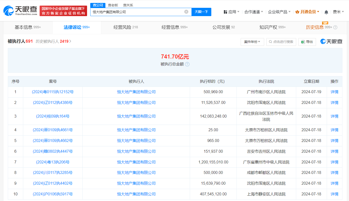
天眼查法律诉讼信息显示,7月18日至19日,恒大地产集团有限公司新增13条被执行人信息,执行标的合计19.7亿余元,涉及服务合同纠纷、建设工程合同纠纷、票据追索权纠纷等案件,部分案件被执行人还包括恒大地产集团(深圳)有限公司、恒大地产集团南宁有限公司、玉林市新湖投资开发有限公司等,执行法院包括广西壮族自治区玉林市中级人民法院、广东省惠州市中级人民法院等。

恒大地产等被强制执行19.7亿

恒大地产等被强制执行19.7亿

天眼风险信息显示,恒大地产集团有限公司现存690余条被执行人信息,被执行总金额超741亿元。此外,该公司还存在多个限制消费令、失信被执行人(老赖)和终本案件信息。

天眼查信息:https://www.tianyancha.com/company/7219966/sifa

本文来自投稿,不代表创造权威IP 赋能创业者——IP百创立场,如若转载,请注明出处:创造权威IP 赋能创业者——IP百创

(0)
打赏 微信扫一扫 微信扫一扫 支付宝扫一扫 支付宝扫一扫
上一篇 2024年7月23日
下一篇 2024年7月23日

相关推荐

  • 全红婵哥哥成立农业新公司

    #全红婵哥哥注销果蔬店当日成立新公司# 天眼查App显示,9月13日,湛江市全入农业科技发展有限公司成立,法定代表人为全红婵哥哥全进华,注册资本2万人民币,经营范围含供应链管理服务、互联网销售、农副产品销售、食用农产品批发、食用农产品零售、鲜肉批发等,由全进华全资持股。值得一提的是,同日,全进华名下的湛江市麻章区全入果蔬店经营状态由存续变更为注销。 据媒体报…

    2024年9月18日
  • 如何突破互联网医疗的信任藩篱?

    互联网医疗,不是一个笼统的、遥远的概念,它本身是要靠在互联网医院的应用效果来展现

    2022年9月7日
  • 一副穿戴甲背后,5万苏北宝妈如何硬控全球美甲潮流?

    2019年的一天,张达在拼多多后台看到一个有趣的订单。“看姓名、联系方式,像表妹下的订单,但我的穿戴甲店才开第二天,她应该不可能知道。”张达回忆。 1993年出生的张达,是江苏东海县人,当地以水晶闻名。高中毕业后,张达曾跑到北京经营水晶生意,但没闯出什么名堂,最终回到东海。一次偶然的机会,他听说有人在拼多多销售穿戴甲,且生意不错。 ▲最近几年,东海穿戴甲行业…

    2024年7月30日
  • 拼低价时代,小红书难吃“双十一”红利

    鼓吹“小而美”,多少有些逆势而行。

    2023年10月26日
  • 王妈合作伙伴强子退出王妈公司

    #强子退出王妈关联公司# 天眼查App显示,近日,武汉荒野文化传媒有限公司发生工商变更,何雅馨(“七颗猩猩”视频角色“强子”扮演者)卸任法定代表人、执行董事、经理,新增辛忠军为法定代表人、董事,同时,公司全资股东也由何雅馨变更为辛忠军。 武汉荒野文化传媒有限公司成立于2022年2月,注册资本100万人民币,经营范围包括组织文化艺术交流活动、互联网销售、文艺创…

    2024年8月29日

发表回复

您的电子邮箱地址不会被公开。 必填项已用*标注

联系我们

邮件:939297903@qq.com

工作时间:周一至周五,9:30-18:30,节假日休息

关注微信