富力地产等被强制执行3.3亿

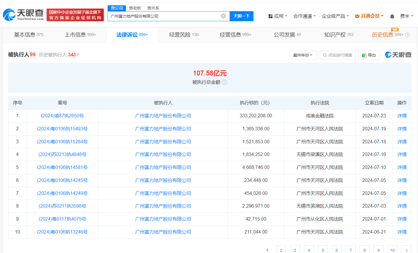
天眼查法律诉讼信息显示,7月23日,富力地产(HK.02777)及旗下重庆富力房地产开发有限公司、广州富力地产(重庆)有限公司新增一则被执行人信息,执行标的3.3亿余元,执行法院为成渝金融法院。

富力地产等被强制执行3.3亿

富力地产等被强制执行3.3亿

富力地产等被强制执行3.3亿

风险信息显示,广州富力地产股份有限公司现存90余条被执行人信息,被执行总金额超107亿元。此外,该公司还存在多个限制消费令、失信被执行人(老赖)和终本案件信息。

天眼查信息:https://www.tianyancha.com/company/14365540/sifa

本文来自投稿,不代表创造权威IP 赋能创业者——IP百创立场,如若转载,请注明出处:创造权威IP 赋能创业者——IP百创

(0)
打赏 微信扫一扫 微信扫一扫 支付宝扫一扫 支付宝扫一扫
上一篇 2024年7月24日
下一篇 2024年7月24日

相关推荐

  • 生意大爆发!京东服务商助力新商家半年内月均销售额超百万!

    作者 | 芸芸 编辑 | 闪电 美编 | 倩倩 审核 | 颂文 商家服务消费者,那谁在服务商家?答案是“服务商们”。 当【咚咚消息】出现在京东APP右上角时,又有一个消费者被触达了。这是节日促销环节中的重要一环,在大促期,从开始预售到尾款支付,较长的时间周期容易让消费者产生惯性的遗忘,而服务商为消费者和商家解决了这个难题。 这是陆泽科技在今年京东11.11时…

    2024年1月8日
  • 小红书武汉公司迁至上海

    #小红书武汉公司迁至上海并更名# 天眼查App显示,近日,行吟信息科技(武汉)有限公司发生工商变更,注册地址由武汉东湖新技术开发区光谷三路777号变更为上海市黄浦区淮海中路138号,同时公司名称变更为优猷信息科技(上海)有限公司。 该公司成立于2017年10月,法定代表人为陶芸,注册资本5000万人民币,经营范围含信息咨询服务、日用百货销售、办公用品销售、体…

    2024年6月26日
  • 转走阳光私募存款公司曾多次换照

    #揭秘阳光私募12亿存款丢失涉事3公司##阳光私募12.52亿元存款丢失# 据媒体报道,优策投资阳光私募基金产品存放在长安银行的三个账户12.52亿元存款被转走,而优策投资的法定代表人、托管券商、持有者均声称不知情。据悉,三个存款账户曾向宝鸡凤凰岭股权投资管理有限公司、西安畅融投资管理有限公司和宝鸡远大资产管理有限公司三家外部公司转过款。 天眼查App显示,…

    2024年8月16日
  • 王鹤棣经纪人公司退股争议炸串店

    #王鹤棣经纪人不再是王炸炸串受益人# 天眼查App显示,近日,北京王炸餐饮管理有限公司发生工商变更,王迪(王鹤棣经纪人)实控的海南样样好投资合伙企业(有限合伙)、海南样样红投资合伙企业(有限合伙)退出股东行列,新增邓鱼为股东,同时,公司部分主要人员发生变更。 北京王炸餐饮管理有限公司成立于2023年11月,法定代表人为贺鹏飞,注册资本200万人民币。据媒体报…

    2024年8月7日
  • 阳光城等被强制执行9.9亿

    天眼查法律诉讼信息显示,9月10日,阳光城集团股份有限公司新增4条被执行人信息,执行标的合计9.9亿余元,涉及租赁合同纠纷、买卖合同纠纷等案件,部分案件被执行人还包括阳光城集团陕西实业有限公司、北京慧诚房地产开发有限公司等,执行法院为湖南省长沙市中级人民法院、广州市增城区人民法院。 天眼风险信息显示,阳光城集团股份有限公司现存180余条被执行人信息,被执行总…

    2024年9月11日

发表回复

您的电子邮箱地址不会被公开。 必填项已用*标注

联系我们

邮件:939297903@qq.com

工作时间:周一至周五,9:30-18:30,节假日休息

关注微信