莫小仙方便面谎称无脂肪被罚

#莫小仙发布虚假广告被罚10万#

天眼查经营风险信息显示,近日,上海莫小仙食品股份有限公司因涉嫌发布虚假广告,被双牌县市场监督管理局罚款10万元。处罚事由显示,该公司销售的标注为莫小仙××小面(非油炸方便面),产品用超大字号标注“0脂肪面饼”字样,但面饼中实际脂肪含量超过规定的0界限值(每100g或100mL≤0.5g)。

莫小仙方便面谎称无脂肪被罚

莫小仙方便面谎称无脂肪被罚

莫小仙方便面谎称无脂肪被罚

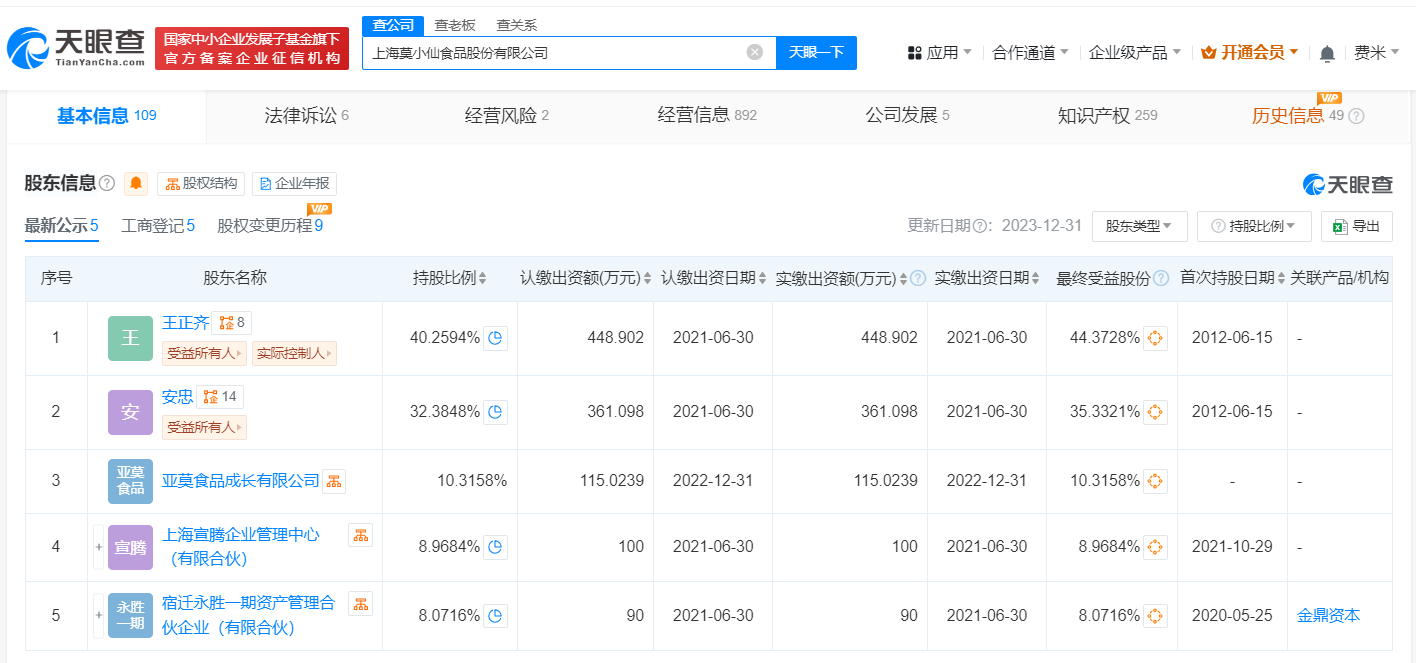
上海莫小仙食品股份有限公司成立于2012年6月,法定代表人为王正齐,注册资本约1115万人民币,由王正齐、安忠、亚莫食品成长有限公司等共同持股。

天眼查信息:https://www.tianyancha.com/company/3439611048/jingxian

本文来自投稿,不代表创造权威IP 赋能创业者——IP百创立场,如若转载,请注明出处:创造权威IP 赋能创业者——IP百创

(0)
打赏 微信扫一扫 微信扫一扫 支付宝扫一扫 支付宝扫一扫
上一篇 2024年7月26日
下一篇 2024年7月26日

相关推荐

  • 左手分红套现,右手赴港圈钱:丸美生物的港股IPO豪赌

    这家在A股被称作为“眼霜第一股”的丸美生物,竟然又要急冲冲地冲刺港股IPO了。 在A股上市已经足足6年,丸美生物作为一家持续盈利的公司,账上并非没有钱,为何非要在这个节骨眼去香港冲击IPO? 三大深层次原因 从丸美生物2025年第三季度的财报来看,丸美生物的流动负债已经高达14.37亿元,短期偿债压力还是非常大。虽然丸美生物的账面货币资金超过15亿元,但是也…

    2025年12月24日
  • 于正公司所持100万股权被冻结

    #于正公司再被冻结股权# 天眼查法律诉讼信息显示,近日,东阳欢娱影视文化有限公司再新增一则股权冻结信息,股权被执行的企业为 霍尔果斯欢娱影视文化有限公司,冻结股权数额为100万元,冻结期限自2024年7月18日至2027年7月17日,执行法院为广东省深圳市南山区人民法院。 东阳欢娱影视文化有限公司成立于2012年8月,法定代表人为马金萍,注册资本3000万人…

    2024年7月25日
  • 数据亮眼背后藏隐忧?途虎养车增长压力并不轻!

    汽车后市场硝烟弥漫,途虎养车像一位奋力厮杀的勇士,从燃油车服务领域奋力开拓,成功踏入新能源汽车后市场的新赛道。 2024 年财报,无疑是途虎养车阶段性的“战绩汇报”。数据显示,途虎养车营收达 148 亿元,同比增长 8.5%,经调整净利润更是劲增 29.7%,达到 6.24 亿元,同比增长 29.7%,这般佳绩无疑彰显出途虎在行业中底蕴深厚、根基稳固。 途虎…

    2025年4月10日
  • 飞行汽车商业化只差临门一脚!小鹏汇天、亿航智能拼了!

    过去一年,被视为新的投资风口的飞行汽车行业,迎来前所未有地跨越式发展,逐步迈向商业化的“前夜”。就在这个领域即将迎来爆发之际,传来了一则震撼消息:2024年末被誉为“飞行汽车界新星”的Lilium公司,因未能成功获取紧急融资担保,不幸面临破产申请。 这一事件无疑给整个行业泼了一盆冷水,提醒我们飞行汽车领域的商业化之路并非一帆风顺。然而,低空经济的蓬勃发展依然…

    2025年1月27日
  • 华为申请注册乾崑大挪移商标

    天眼查知识产权信息显示,近日,华为技术有限公司申请注册一枚“乾崑大挪移”商标,国际分类为运输工具,当前商标状态为等待实质审查。 据媒体报道,今年4月,华为发布了以智能驾驶为核心的智能汽车解决方案新品牌——华为乾崑。近期,华为已申请注册“乾崑ADS”“乾崑智驾”“乾崑音响”等多个商标,当前商标状态多为等待实质审查。 天眼查信息:https://shangbia…

    2024年8月12日

发表回复

您的电子邮箱地址不会被公开。 必填项已用*标注

联系我们

邮件:939297903@qq.com

工作时间:周一至周五,9:30-18:30,节假日休息

关注微信