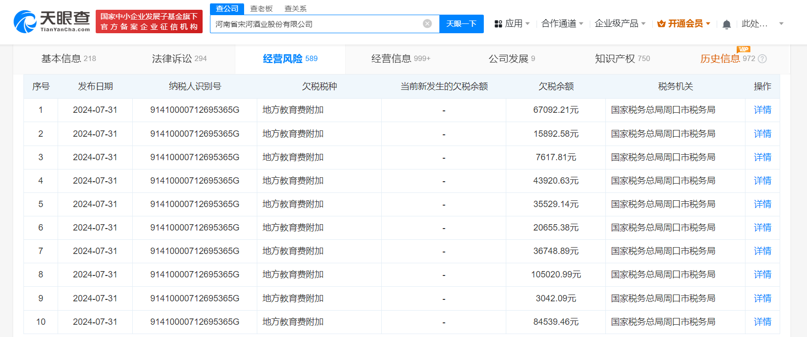
宋河酒业欠税2.76亿被公告

天眼查App显示,近日,河南省宋河酒业股份有限公司新增308条欠税公告,欠税税种涉及地方教育费附加、消费税、城市维护建设税、环境保护税、教育费附加、城镇土地使用税等,欠税余额合计2.76亿余元。

宋河酒业欠税2.76亿被公告

宋河酒业欠税2.76亿被公告

河南省宋河酒业股份有限公司成立于1999年8月,法定代表人为朱文臣,注册资本约1.75亿人民币,由辅仁药业集团有限公司、嘉兴和瑾春华投资合伙企业(有限合伙)、喀什中盛创投有限公司、朱文臣等共同持股。天眼风险信息显示,该公司目前存在多条限制消费令、失信被执行人(老赖)和股权冻结信息。

天眼查信息:https://www.tianyancha.com/company/166646062

本文来自投稿,不代表创造权威IP 赋能创业者——IP百创立场,如若转载,请注明出处:创造权威IP 赋能创业者——IP百创

(0)
打赏 微信扫一扫 微信扫一扫 支付宝扫一扫 支付宝扫一扫
上一篇 2024年8月2日 下午10:57
下一篇 2024年8月2日 下午11:05

相关推荐

  • 那些大牌商场,正被本土商超“摁在地上摩擦”

    这是一场时代剧变,值得载入消费史册。

    2024年10月30日
  • #中国能建在成都成立能源服务公司# 注册资本1亿

    天眼查App显示,近日,中能建综合能源服务(成都)有限公司成立,法定代表人为尉涛,注册资本1亿人民币,经营范围含热力生产和供应,储能技术服务,矿产资源储量评估服务,太阳能发电技术服务,风力发电技术服务,新兴能源技术研发,合同能源管理,碳减排、碳转化、碳捕捉、碳封存技术研发等。股权全景穿透图显示,该公司由中能建数字科技集团有限公司全资持股,后者为中国能建全资子…

    2024年9月6日
  • 率先全面开放,文心一言为何一骑绝尘?

    率先全面开放,文心一言为何一骑绝尘?

    摘要: 大模型在国内正掀起新一代技术浪潮。

    连续两天,半夜爆出大消息。先是华为新机深夜上线,让芯片国产替代的步伐更进一步;次日晚,百度文心一言官宣向公众全面开放——两大劲爆消息直接点燃科技圈。

    8月31日凌晨,百度官方公众账号即发布推文,称“文心一言向全社会开放”,用户可以在应用商店下载“文心一言APP”或登陆“文心一言官网”体验。包括百度文心一言在内,一共有8个企业/机构的大模型位列第一批名单,可以正式上线面向公众提供服务,值得注意的是,被看作文心一言竞争者的阿里通义千问、360智脑、讯飞星火等,不在首批获批名单中。

    随后“文心一言APP”在各大应用商店冲上热榜,在苹果App Store上更是直接登顶免费榜榜首,成为当日热门应用,这无疑让百度再一次占得了先机。

    此前,在获得备案审批之前,各家只能小范围内测,用户需要“排队”申请内测资格,由此大大限制了大模型在用户层面的推广,如今大模型备案获批和全面开放,大模型的步伐有望迈入下一阶段。

    秉持着技术自主的理念,将资金大规模倾斜到自主技术研发的百度和华为,可以说是殊途同归,而软硬件领域的“双子星”联袂,共同推动技术投入走向“开花结果”。

    技术坚守,换来厚积薄发

    大模型在国内掀起新一代技术浪潮,迅速席卷了整个互联网,而百度在大模型赛道上的步伐一直领先。2019年第一个发布了文心大模型,2023年,大厂中最早推出大语言模型“文心一言”,如今又率先获批、得到认可,正式向全社会开放。

    百度之所以快速踩在了大模型的全球性技术风口上,是建立在百度雄厚的技术基底之上。

    早从2010年开始,百度就已经着手布局AI相关技术的研发,近十年来,累计研发投入超过 1400 亿元。其中2022 年研发费用高达 214.16 亿元,占百度核心收入比例达到 22.4%。与全球其他大厂相比,这些投入也是数一数二。

    在高研发成本的持续投入下,这些年从最初探索深度学习等基础技术,到推动AI在互联网等场景试点落地,再到如今扎根千行百业、大力推进AI工业化大生产等,百度既完成了在芯片、框架、模型和应用四层构架对应的自研技术积累,具备了做AI基础设施供给者的前提条件,又成功引领了AI技术成果在产业层面的实践,降低了人工智能的开发和应用门槛。

    2222222222222222

    这也使得百度无论在技术专利、技术产品还是技术应用上,都占据了领先地位。以专利来看,根据由国家工业信息安全发展研究中心、工信部电子知识产权中心发布的《中国人工智能专利技术分析报告(2022)》显示,百度AI专利申请量1.68万件,连续五年保持中国第一;专利授权量上,百度仍以5705件专利授权量位列第一。

    文心一言大模型,正是百度多年技术积累和产业实践的水到渠成,而基于技术和实践的领先优势,文心一言问世不到半年,在国内外多家调研机构、权威媒体和高校等发布的大模型评测报告中,表现优异。

    33333333333333

    如IDC最新发布的《AI大模型技术能力评估报告,2023》,报告显示,百度文心大模型3.5拿下12项指标的7个满分,综合评分第一,算法模型第一,行业覆盖第一。其中算法模型是大模型能力最为核心的要素,百度文心大模型在这一维度获得了唯一的满分。

    更令外界欣喜的是,从测评来看,百度文心一言大模型能力从5月至今不断提升,正在逐渐赶上国外大模型。

    百度「AI大底座」的全栈能力,助力文心一言进化

    31日凌晨全面开放后,百度文心一言APP迅速飙升至苹果商店免费榜榜首,成为首个登顶应用商店榜首的中文AI原生应用。

    用户的反响,透露出他们对文心一言表现出的强劲进化能力的期待。自今年3月发布至今,文心一言快速成长,熟练掌握的创作体裁超过200个,内容丰富度是发布初期的1.6倍,思维链长度是初期的2.1倍,知识点覆盖达到初期的8.3倍。在一些公开测评中,文心大模型3.5版支持下的文心一言中文能力突出,甚至有超出GPT-4的表现。

    444444444444444

    这很大程度上得益于百度飞桨,百度拥有自研的深度学习平台飞桨,它有力支撑了大模型的高效训练和推理。通过飞桨端到端自适应混合并行训练技术以及压缩、推理、服务部署的协同优化,文心大模型训练速度达到原来的3倍,推理速度达到原来的30多倍。

    飞桨和文心一言,一个是框架平台,一个是大模型,这两者之间正好处在人工智能技术体系里面很重要的两层,它们之间有很强的协同优化潜力,由此飞桨领先的训练技术,能够优化大模型的训练效率。

    百度不单单在框架层和模型层拥有关键技术。进入人工智能时代,IT技术的技术栈发生了根本性变化,从过去三层转变为“芯片-框架-模型-应用”四层,百度则是全球为数不多、进行全栈布局的人工智能公司。从高端芯片昆仑芯,到飞桨深度学习框架,再到文心预训练大模型,及搜索、智能云、自动驾驶、小度等应用,各层都有领先业界的关键自研技术。

    5555555555555

    如框架层上,百度从2016年就开源了飞桨深度学习框架,目前这一框架已经集成了深度学习核心训练和推理框架、基础模型库、端到端开发套件等工具组件,在中国市场份额中排行第一。

    全栈布局的优势在于,可以在技术栈的四层架构中,实现端到端优化,大幅提升效率,飞桨和文心一言的优化,就是最典型的例子。另外,芯片、框架、大模型和终端应用场景,也可以形成一个高效的反馈闭环,帮助大模型不断去调优迭代,越做越好。

    比如文心一言与搜索、信息流等应用层的协同。百度的搜索服务,每天响应几十亿次真实的用户使用需求,每天进行1万亿次深度语义推理与匹配,能够提供最真实、最及时的反馈,从而倒逼大模型、深度学习框架和芯片的优化。相对地,文心一言应用于搜索,也将带来搜索的变革。

    除了全栈自研的「AI 大底座」,百度智能云推出的两大AI工程平台—「AI 中台」和「百度百舸· AI 异构计算平台」,也分别在开发和资源层面进行提效,加速训练过程。这给文心一言的成长提供了最坚实的技术支撑,也成为其追赶国外大模型的底气。

    核心能力升级,百度加速大模型落地时代到来

    5月底举行的2023万象·百度移动生态大会上,百度搜索宣布“AI伙伴”开始内测。这款全能的“Al伙伴”能够听懂用户的任何问题,并用语音进行互动,还能帮助用户标记答案中的重点,提供权威的来源。在演示中,“Al伙伴”完整地提供了一篇人工智能大会主持词。

    百度旗下各类用户侧产品正在利用大模型进行重构,而基于大模型基座和云平台进行开发生态的建设也在同步推进。前不久,百度承办的2023 WAVE SUMMIT上,推出了“超级助理”和“Comate X智能编程助手”。

    理解、生成、逻辑和记忆,构成了一个人工智能或者通用人工智能系统最基本的能力,从文心一言在C端及B端应用上的表现来看,这四大核心能力正在快速提升,而背后展示出的则是百度在知识增强、检索增强、对话增强方面的关键技术能力和差异化优势。

    庞大的知识图谱和搜索基础上对真实数据和用户需求的理解,是百度多年来构建技术护城河和打造内容生态的基础,因而作为百度自主研制的知识增强大语言模型,文心一言在知识增强和检索增强方面天然具有优势。

    据悉,百度文心大模型拥有世界上最大规模知识图谱,包含50亿实体、5500 亿级事实,每天调用量超过400亿次。

    在对话增强方面,百度深耕对话技术多年,前不久,王海峰带领团队完成的「知识与深度学习融合的通用对话技术及应用」成果,荣获了「2022 年度吴文俊人工智能科技进步奖特等奖」,这是该奖项设立以来颁发的首个特等奖。对话技术所涉及的记忆机制、上下文理解和对话规划能力,能够帮助文心一言实现更好的对话连贯性、合理性和逻辑性。

    百度已经构建了面向中文、服务应用、富含知识的多样化训练数据,并建立起人类反馈、奖励模型和策略优化之间的飞轮机制,随着真实用户的反馈越来越多,文心一言的效果会越来越好,能力也越来越强。

    而今,文心一言率先面向用户全面开放,也就说未来能获得更海量的真实世界中的人工反馈,这将进一步改进基础模型,助力文心一言加速迭代、提升能力。而且,对用户层面的放开,会刺激大模型竞争焦点转向应用层,激起应用开发的创造活力,基于文心一言的领先,百度未来或将率先带来杀手级应用,真正引领大模型进入落地时代。

    这亦是用户想从这场技术性浪潮看到的,弯道超车,占领新一代技术变革的制高点。

    道总有理,曾用名歪道道,互联网与科技圈新媒体。同名微信公众号:道总有理(daotmt)。本文为原创文章,谢绝未保留作者相关信息的任何形式的转载。

    2023年9月1日
  • 脚踩鸭肠工厂及负责人被罚6万

    #脚踩鸭肠涉事两工厂均被罚# 天眼查经营风险信息显示,近日,山东雅士享肉类食品有限公司因未按照国家规定的操作规程和技术要求屠宰畜禽,被滨州市沾化区农业农村局罚款5万元,同时该公司法定代表人张旭被罚款1万元。 此前,有媒体暗访该公司及清丰县永官食品有限公司,发现鸭肠随意堆放在地上,清洗地面的脏水混在鸭肠中,工人直接用脚踩洗鹅肠鸭肠,甚至还有工人将从污水中捞出的…

    2024年7月16日
  • 雷军演讲大肆“卖苦”背后,去“手机化”和走向“高端”

    生活就像一杯苦酒,做公司亦是如此。行业好的时候,千人追万人捧,“粉丝营销”、“互联网思维”都会把你当成行业成功案例去模仿;但行业不好的时候,人们就会问,“你是不是在走下坡路”?真是现场版的“小甜甜和牛夫人”。 2022年智能手机行业正处于低谷。IDC的数据显示,全球智能手机出货量已连续四个季度出现下滑,其中,2022年第2季全球智能手机出货量为2.86亿台,…

    2022年8月23日

发表回复

您的电子邮箱地址不会被公开。 必填项已用*标注

联系我们

邮件:939297903@qq.com

工作时间:周一至周五,9:30-18:30,节假日休息

关注微信