关晓彤代言的天然呆被恢复执行120万

#关晓彤代言的天然呆被恢复执行#

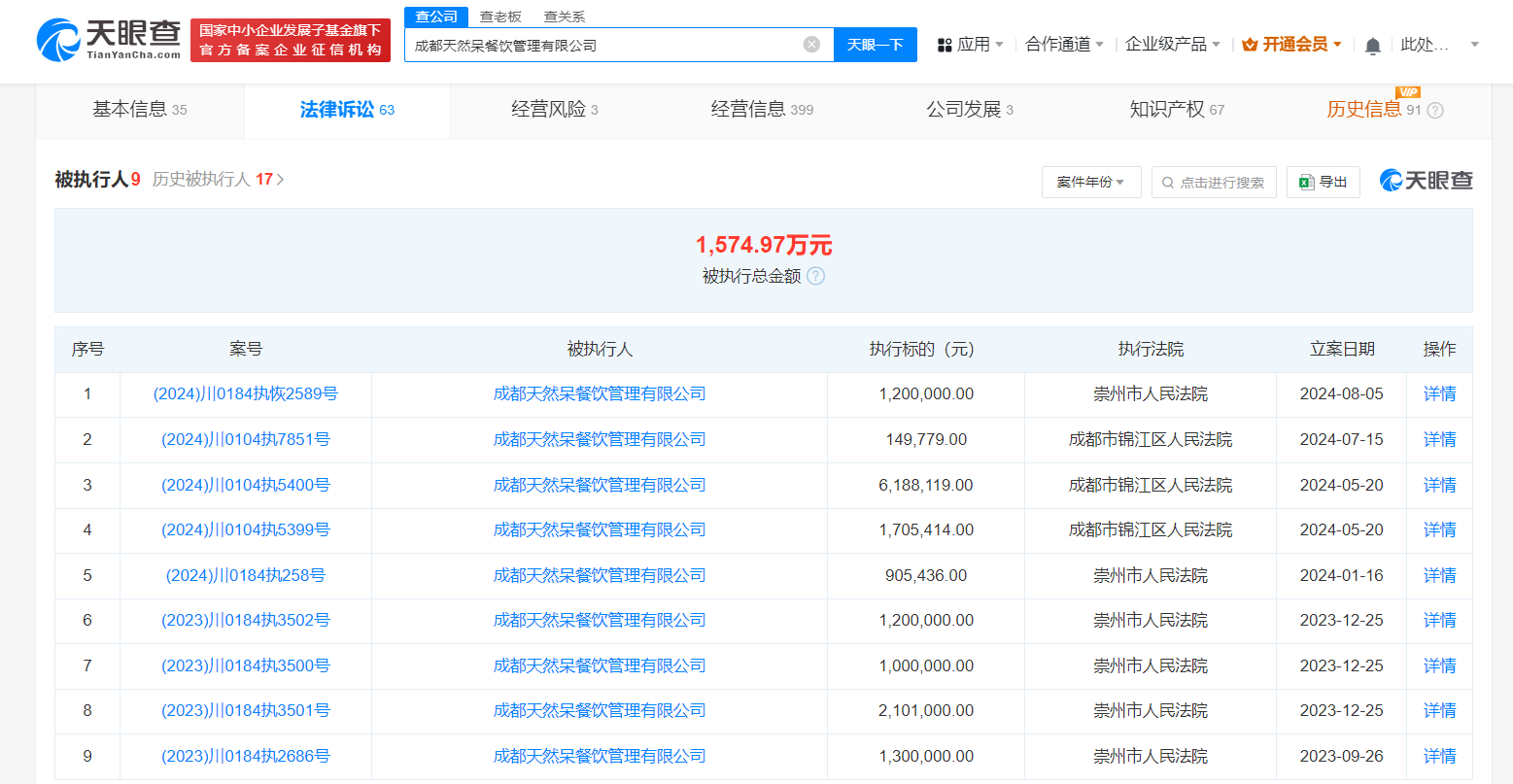
天眼查法律诉讼信息显示,近日,成都天然呆餐饮管理有限公司新增一条恢复执行信息,执行标的120万元,执行法院为崇州市人民法院。去年12月,该公司曾因此案首次被执行。

关晓彤代言的天然呆被恢复执行120万

关晓彤代言的天然呆被恢复执行120万

股权全景穿透图显示,关晓彤父亲关少曾通过彤梦心缘(成都)文化传媒有限公司持有天然呆公司35%的股份。风险信息显示,天然呆公司现存9条被执行人信息,被执行总金额1574万余元,此外还存在多个限制消费令及终本案件信息。

天眼查信息:https://www.tianyancha.com/company/3466364412

本文来自投稿,不代表创造权威IP 赋能创业者——IP百创立场,如若转载,请注明出处:创造权威IP 赋能创业者——IP百创

(0)
打赏 微信扫一扫 微信扫一扫 支付宝扫一扫 支付宝扫一扫
上一篇 2024年8月7日
下一篇 2024年8月7日

相关推荐

  • 打破人、设备、服务壁垒,万物互融时代的服务新范式

    在移动互联网时代,APP成为人们打开服务的主要方式。想象一下,你到昆明旅游,需要去马蜂窝APP查看攻略,去携程APP定机票和酒店,去墨迹APP查看天气,出发当天要打开滴滴APP预约车辆,到了机场需要打开航旅纵横APP使用电子登机牌…… 显然,站在用户的角度,这种体验就像是频繁在一个个APP的孤岛中进出、穿梭,实在难言简单与便捷。在大模型炙手可热、智能时代未来…

    2023年11月20日
  • 腾讯申请微信听一听商标

    天眼查知识产权信息显示,近日,腾讯科技(深圳)有限公司申请多枚“微信听一听”商标,国际分类为广告销售、教育娱乐、通讯服务等,当前商标状态均为等待实质审查。 值得一提的是,近日,该公司还申请多枚“微信乐迷圈”商标,当前商标状态也为等待实质审查。据悉,今年年初,微信上线“听一听”功能,其中包括“乐迷圈”。 天眼查信息:https://www.tianyancha…

    2024年6月20日
  • 网红铁头关联公司已注销

    #铁头关联公司商标申请均被驳回##网红铁头惩恶扬善已被抓# 据报道,有网友发帖称,网红“铁头惩恶扬善”已被警方抓获,并晒出一张杭州市公安局滨江区分局的扣押决定书。记者从杭州警方处获悉,铁头确已被控制,相关案件正在侦办中。 天眼查App显示,铁头姐姐董某关联的杭州铁拳文化传媒有限公司已于去年10月注销。该公司成立于2023年6月,注册资本50万人民币,经营范围…

    2024年8月28日
  • 汽车3.0时代 华小魅三国风云再起?

    2023年,汽车和手机两大行业同时迎来新变革,跨界融合成为关键词。先进的生产理念和完整的产业布局带来全新发展空间,行业竞争三国风云再起,汽车3.0时代迎面扑来。 华为赋能的问界新M7汽车,智能驾驶、智能座舱的产品力和价格竞争力不断提升,同时借势Mate60手机的爆红,问界新M7月销量直逼去年年销量。 而“生死看淡,不服就干”的小米近期发布小米14和新操作系统…

    2023年11月6日
  • #华为增资至408亿

    天眼查App显示,6月27日,华为技术有限公司发生工商变更,注册资本由约407.41亿人民币增至约408.41亿人民币。 华为技术有限公司成立于1987年9月,法定代表人为赵明路,经营范围含信息系统设计、集成、运行维护,集成电路设计、研发,大数据产品、物联网及通信相关领域产品的研发、生产、销售等。股东信息显示,该公司由华为投资控股有限公司全资持股。 天眼查信…

    2024年6月27日

发表回复

您的电子邮箱地址不会被公开。 必填项已用*标注

联系我们

邮件:939297903@qq.com

工作时间:周一至周五,9:30-18:30,节假日休息

关注微信