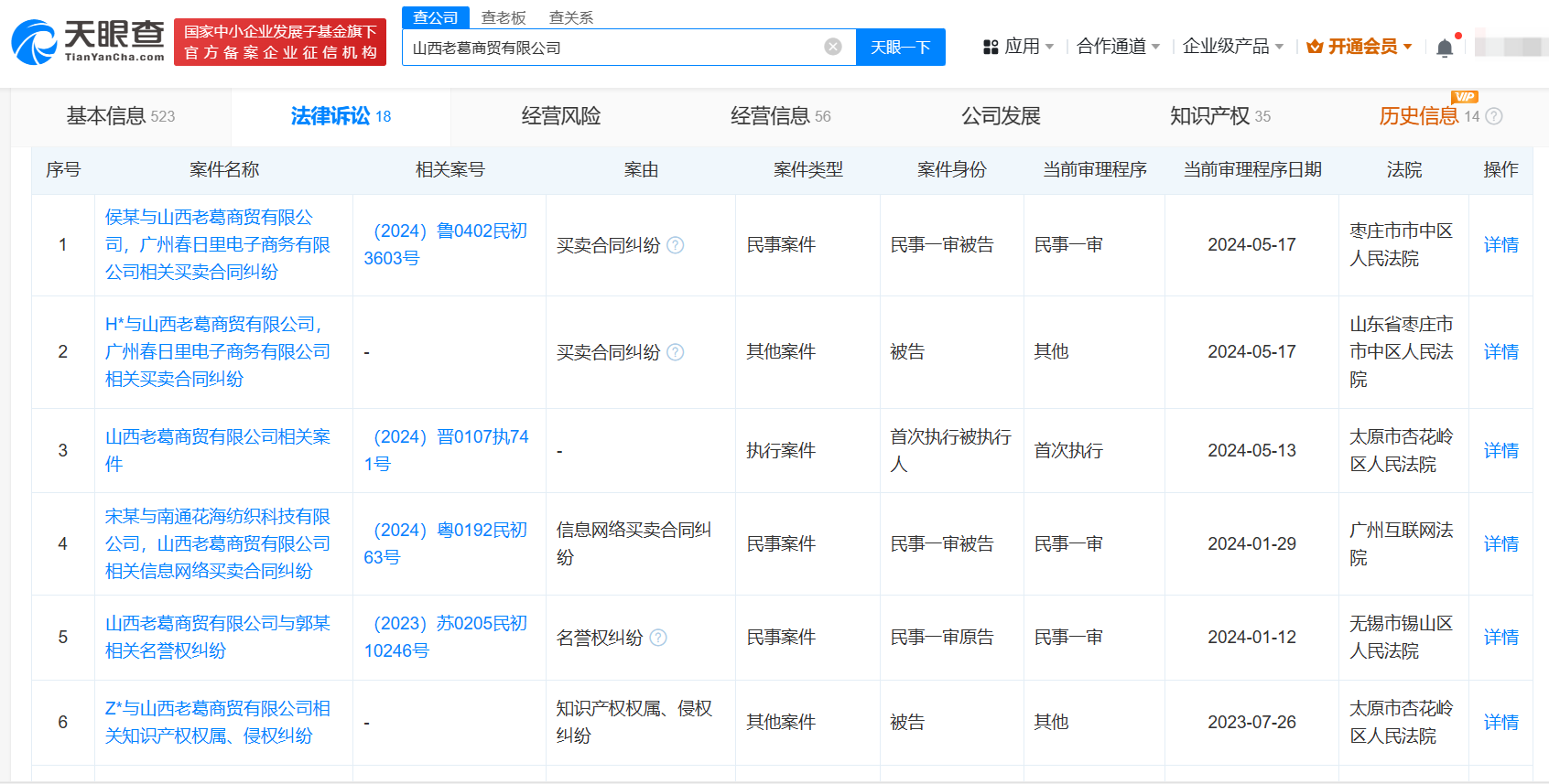
太原老葛关联商贸公司已被限消

#盘点网红太原老葛商业版图##商家请太原老葛直播带货后惨遭倒闭#

据媒体报道,近日,网红太原老葛带货被指割韭菜,太原网警发布视频称,网红“太原老葛”涉嫌诈骗被立案。公开信息显示,太原老葛本名葛广响。

太原老葛关联商贸公司已被限消

太原老葛关联商贸公司已被限消

太原老葛关联商贸公司已被限消

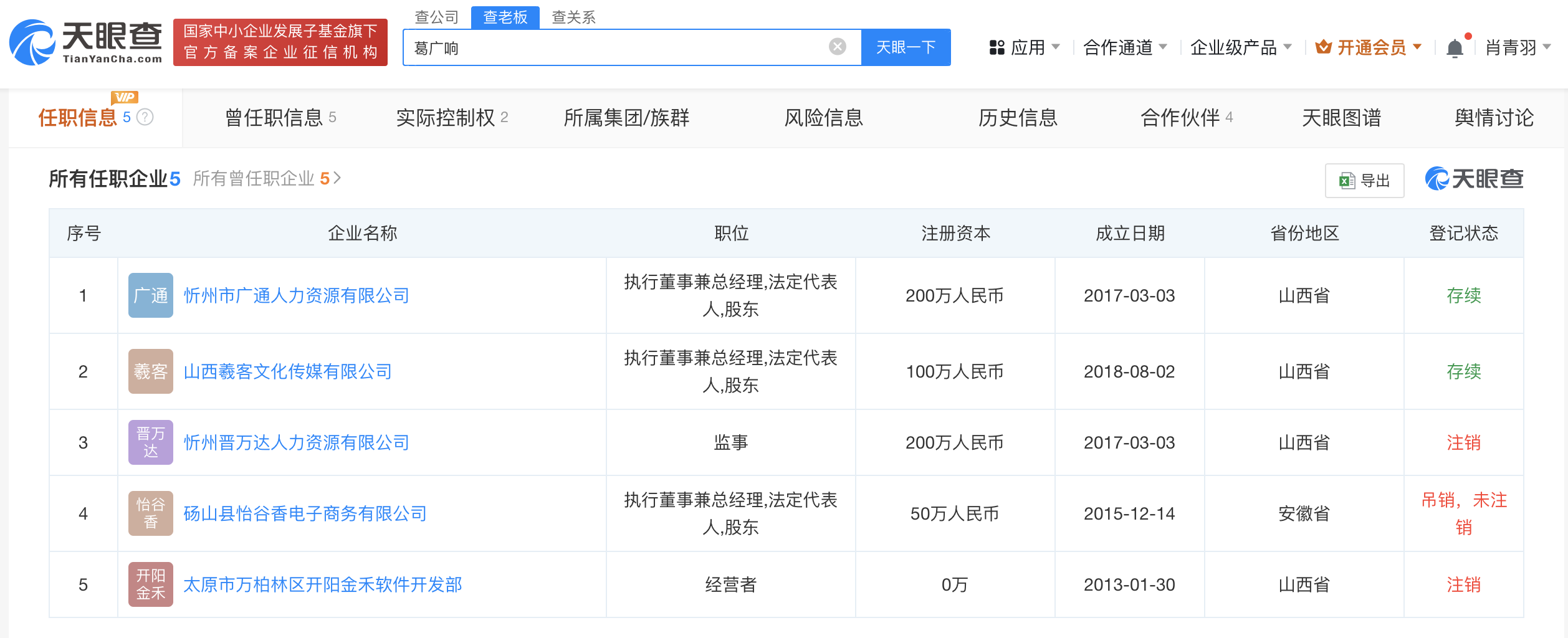
天眼查App显示,葛广响名下共关联5家企业,其中2家为存续状态,分别为忻州市广通人力资源有限公司、山西羲客文化传媒有限公司,葛广响持有2家公司股份,并担任执行董事兼总经理、法定代表人。风险信息显示,上述2家公司均已被市场监管部门列入经营异常名录。

值得一提的是,葛广响还曾分别担任山西老葛商贸有限公司、北京四合一文化传媒有限公司法定代表人、监事,于2021年卸任。这2家公司均为媒体报道中提到的“太原老葛”直播涉事公司。司法案件信息显示,2家公司均曾因买卖合同纠纷被起诉,此外,山西老葛商贸有限公司还曾因侵权案件被强制执行并被限制高消费。

天眼查信息:https://www.tianyancha.com/human/2144660833-c3218479567

本文来自投稿,不代表创造权威IP 赋能创业者——IP百创立场,如若转载,请注明出处:创造权威IP 赋能创业者——IP百创

(0)
打赏 微信扫一扫 微信扫一扫 支付宝扫一扫 支付宝扫一扫
上一篇 2024年8月12日
下一篇 2024年8月12日

相关推荐

  • 在产业变革的深水区,车企营销需要“情绪势能”

    汽车产业正在发生一场以电动化、智能化为核心的深刻变革。 中汽协数据显示,今年前10个月新能源汽车的市场占有率为30.4%,其中10月新能源汽车市场占有率达到33.5%。最近小鹏和华为关于AEB的论战凸显智能驾驶的热度。IDC预测,到2024年,全球出货的新车中超过71%将搭载智能网联系统,市场将逐渐趋于成熟。 在技术变革的同时,车企的营销模式同样也在发生变革…

    2023年12月11日
  • 出品方已注册得闲谨制商标

    #得闲谨制已被注册商标##得闲谨制开机# 据媒体报道,7月19日,电影《得闲谨制》开机,该电影由肖战、彭昱畅等主演。 天眼查知识产权信息显示,该电影出品方东阳正午阳光影视有限公司于2015年注册数枚“得闲谨制”商标,国际分类为科学仪器、材料加工、办公用品等,目前,多数商标已成功注册。 天眼查信息:https://www.tianyancha.com/sear…

    2024年7月19日
  • 海外运动大牌,在国内市场为何失宠?

    文丨关樾 出品丨消费最前线 最近几日,从加拿大鹅到彪马,再到迪卡侬,接连被摆上了“货架”,待价而沽。 对这三大品牌,消费者或许并不陌生。加拿大鹅高达上万元的羽绒服,曾经排队也买不着,彪马一双鞋卖到千元还一鞋难求,而迪卡侬这个来自法国的运动零售品牌,在这两年我国户外运动潮流兴起时可以说是混得风生水起,备受追捧。然而现在,它们背后的“金主”正试图寻找买家,卖掉部…

    2025年9月4日
  • 米家立式学习灯Pro发布 自然光体验再升级 

    11月27日,Redmi K80系列发布会上推出全新一代学习灯——米家立式学习灯Pro。这款产品用户提供超值的照明体验,尤其是其先进的光源技术和独特的设计,使其在众多同类产品中脱颖而出。 全新升级的米家立式学习灯Pro于10月31日正式全网开启预售,AI智能调光,打造全屋自然光环境,将同等配置产品的价格直接对折,预售价4799元,建议零售价4999元。 米家…

    2024年11月27日
  • 宝钢股份弗迪电池等入股徐工机械旗下公司

    天眼查App显示,近日,江苏汇智高端工程机械创新中心有限公司发生工商变更,新增宝钢股份、弗迪电池有限公司、恒立液压、艾迪精密等为股东,公司注册资本由1亿人民币增至约1.38亿人民币。 江苏汇智高端工程机械创新中心有限公司成立于2018年1月,法定代表人为单增海,经营范围含工程机械、农业机械、通用基础零部件领域的技术研发、技术转让、技术服务、技术咨询,液压件、…

    2024年7月24日

发表回复

您的电子邮箱地址不会被公开。 必填项已用*标注

联系我们

邮件:939297903@qq.com

工作时间:周一至周五,9:30-18:30,节假日休息

关注微信