麻辣诱惑分支机构均已注销

#麻辣诱惑公司已多次成老赖##麻辣诱惑创始人为欠薪千万道歉#

据媒体报道,2020年,麻辣诱惑创始人韩东因经营不善破产被限高,负债3亿。近日,韩东受访表示,对上千万的欠薪感到十分抱歉,自己会一点一点还,不想靠加盟的“快钱”去还债。

麻辣诱惑分支机构均已注销

麻辣诱惑分支机构均已注销

麻辣诱惑分支机构均已注销

麻辣诱惑分支机构均已注销

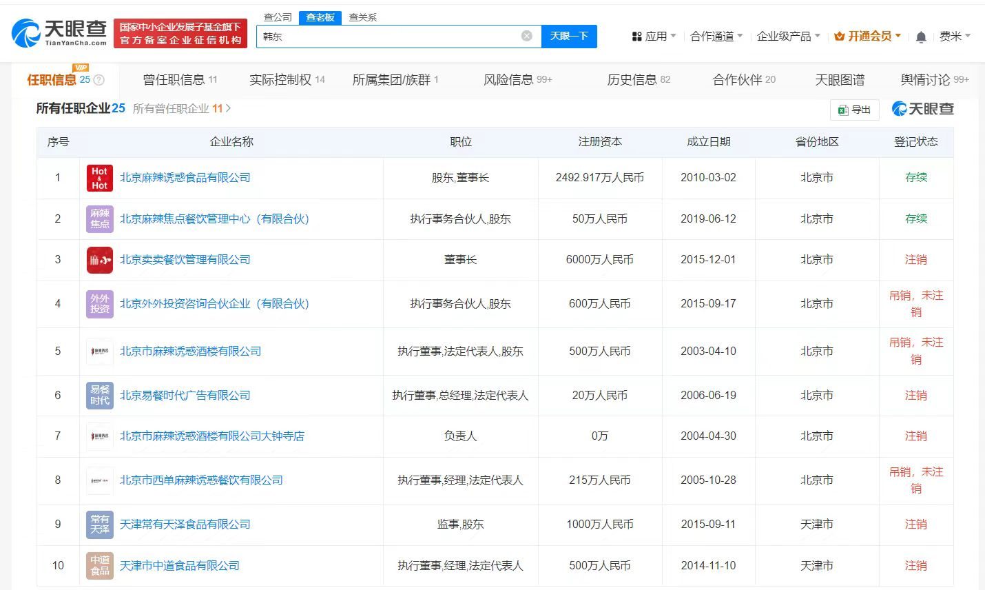
天眼查App显示,韩东关联的20余家企业中,处于存续状态的仅有北京麻辣诱惑食品有限公司、北京麻辣焦点餐饮管理中心(有限合伙),其余均为被吊销或者注销状态。其中,北京麻辣诱惑食品有限公司成立于2010年3月,法定代表人为周亮,注册资本约2492.9万人民币,由韩东、西藏榕安成长投资中心(有限合伙)、北京外外投资咨询合伙企业(有限合伙)、周亮等共同持股。

天眼风险信息显示,北京麻辣诱惑食品有限公司存在30余条失信被执行人(老赖)信息、90余条限制消费令,韩东所持该公司千万股权也已被冻结。分支机构信息显示,该公司50余家分公司及门店均已注销。此外,其投资的5家企业中,天津热辣食品有限公司、上海嗨享生活品牌管理有限公司为存续状态,2公司也均已被列为失信被执行人(老赖)并被限制高消费。

天眼查信息:https://www.tianyancha.com/company/9066887/sifa

本文来自投稿,不代表创造权威IP 赋能创业者——IP百创立场,如若转载,请注明出处:创造权威IP 赋能创业者——IP百创

(0)
打赏 微信扫一扫 微信扫一扫 支付宝扫一扫 支付宝扫一扫
上一篇 2024年8月13日
下一篇 2024年8月13日

相关推荐

  • #小米景明在济南成立汽车科技公司# 注册资本500万

    天眼查App显示,近日,济南小米景明汽车科技有限公司成立,法定代表人为于锴,注册资本500万人民币,经营范围含新能源汽车整车销售、汽车销售、智能车载设备销售、二手车经纪、汽车零配件零售、新能源汽车电附件销售、汽车装饰用品销售、洗车服务、机动车修理和维护、充电桩销售等。股东信息显示,该公司由小米景明科技有限公司全资持股。 天眼查信息:https://www.t…

    行业动态 2024年7月1日
  • 蚂蚁集团旗下公司等入股星能玄光# 后者为可控核聚变技术研发商

    天眼查工商信息显示,近日,合肥星能玄光科技有限责任公司发生工商变更,新增蚂蚁集团旗下上海云玚企业管理咨询有限公司、紫金矿业股权投资管理(厦门)有限公司等为股东,同时,注册资本由约665万人民币增至约902.5万人民币。 合肥星能玄光科技有限责任公司成立于2024年3月,法定代表人为杨智达,经营范围包括新兴能源技术研发、电子产品销售、电子专用设备制造、电子专用…

    行业动态 2025年11月24日
  • 柳工集团等成立战兴与未来产业投资基金出资额10亿

    天眼查工商信息显示,近日,广西柳工战兴与未来产业投资基金合伙企业(有限合伙)成立,执行事务合伙人为广西鑫世晟私募基金管理有限公司,出资额10亿人民币,经营范围为以私募基金从事股权投资、投资管理、资产管理等活动,创业投资。合伙人信息显示,该基金由广西柳工集团有限公司、广西投资引导基金有限责任公司、广西鑫世晟私募基金管理有限公司共同出资。 天眼查信息:https…

    2025年9月22日
  • 宁波甬元科创股权投资合伙企业登记成立# 出资额60.62亿

    天眼查工商信息显示,近日,宁波甬元科创股权投资合伙企业(有限合伙)成立,执行事务合伙人为虞巧颖、那力嘉,出资额60.62亿人民币,经营范围为以私募基金从事股权投资、投资管理、资产管理等活动,股权投资,创业投资。合伙人信息显示,该合伙企业由农银资本管理有限公司、宁波市甬元私募基金管理有限公司、浙江省社保科创股权投资基金合伙企业(有限合伙)、宁波市甬元创享企业管…

    行业动态 2026年1月9日
  • 华灿光电增资至16.17亿

    #华灿光电公司完成工商更名# 天眼查App显示,近日,华灿光电发生工商变更,公司名称变更为京东方华灿光电股份有限公司,同时,注册资本由约12.45亿人民币增至约16.17亿人民币。该公司成立于2005年11月,于2012年6月在A股上市,现由京东方A、珠海华发科技产业集团有限公司、义乌和谐芯光股权投资合伙企业(有限合伙)等共同持股。 据媒体报道,2022年1…

    2024年5月27日

发表回复

您的电子邮箱地址不会被公开。 必填项已用*标注

联系我们

邮件:939297903@qq.com

工作时间:周一至周五,9:30-18:30,节假日休息

关注微信