陈梦父母公司已注册陈梦名字商标

#陈梦父母公司已注册HOPEWANG商标##陈梦已开办乒乓球学校#

据报道,陈梦在巴黎奥运会上取得2枚金牌,随后,其在2022年11月开办的陈梦(国科大)乒乓球特色学校再次引发关注。

陈梦父母公司已注册陈梦名字商标

陈梦父母公司已注册陈梦名字商标

陈梦父母公司已注册陈梦名字商标

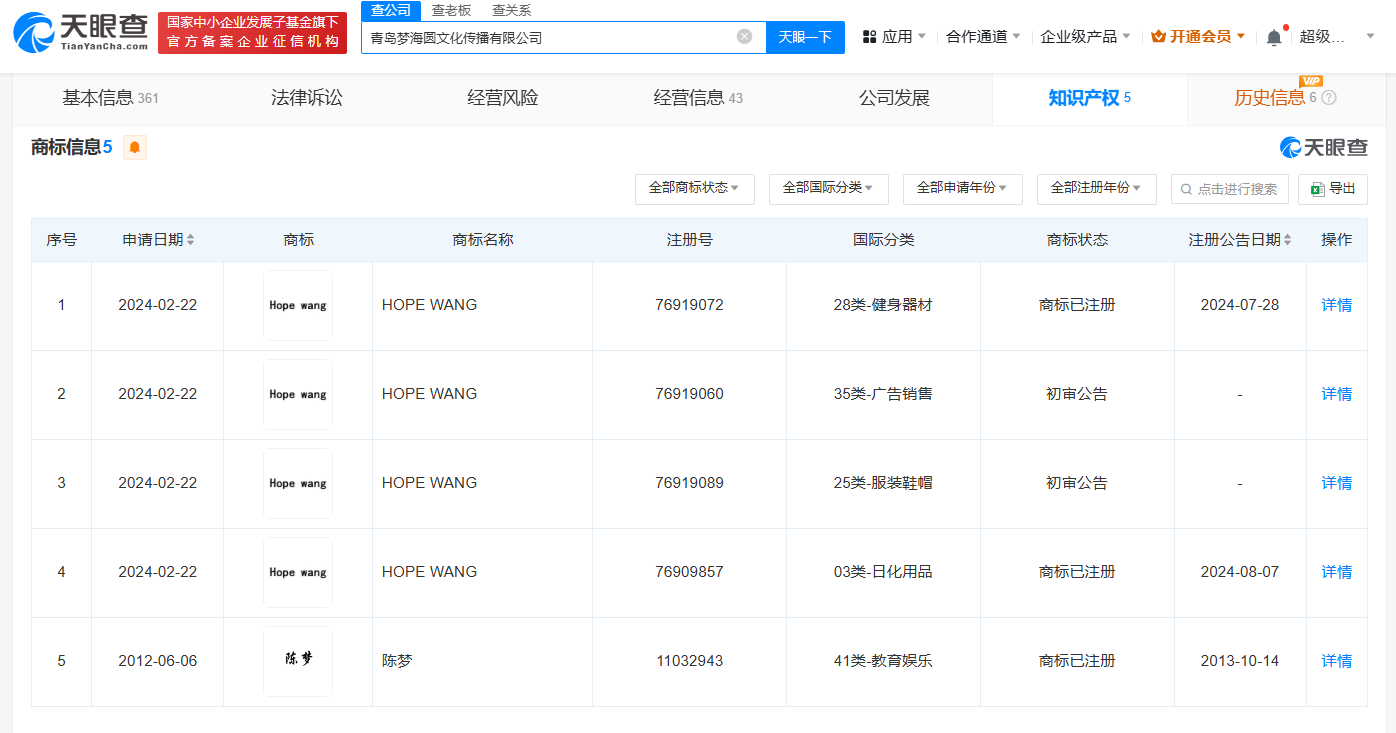
天眼查App显示,青岛梦海圆文化传播有限公司已成功注册1枚“陈梦”商标,国际分类为教育娱乐。近期,该公司申请的健身器材、日化用品类“HOPE WANG”商标已成功注册。该公司成立于2017年11月,法定代表人为逄敏(陈梦母亲),经营范围包括文艺创作、教育咨询服务、文化娱乐经纪人服务等,由逄敏和陈樑(陈梦父亲)共同持股。

天眼查信息:https://www.tianyancha.com/company/3119549098/zhishi

本文来自投稿,不代表创造权威IP 赋能创业者——IP百创立场,如若转载,请注明出处:创造权威IP 赋能创业者——IP百创

(0)
打赏 微信扫一扫 微信扫一扫 支付宝扫一扫 支付宝扫一扫
上一篇 2024年8月13日 下午4:34
下一篇 2024年8月13日 下午4:47

相关推荐

  • 联想旗下中小企业发展基金更名

    天眼查App显示,近日,中小企业发展基金联想(天津)合伙企业(有限合伙)发生工商变更,企业名称变更为联想中小企业发展创业投资基金(天津)合伙企业(有限合伙)。 该合伙企业成立于2021年12月,执行事务合伙人为天津知己行远二号投资管理中心(有限合伙),出资额30亿人民币,经营范围含以私募基金从事股权投资、投资管理、资产管理等活动。合伙人信息显示,该合伙企业由…

    行业动态 2024年8月26日
  • 东营市低空经济投资发展公司登记成立注册资本1亿

    天眼查App显示,近日,东营市低空经济投资发展有限公司成立,法定代表人为陈呈龙,注册资本1亿人民币,经营范围含以自有资金从事投资活动、数据处理和存储支持服务、工程管理服务、智能无人飞行器制造、智能无人飞行器销售、航空商务服务、5G通信技术服务、人工智能行业应用系统集成服务、信息技术咨询服务等。股东信息显示,该公司由东营市国有资本投资集团有限公司、东营市城市建…

    2025年12月1日
  • 2025年中国移动中资出海数智赋能合作大会成功举办

    5月21日,中国移动在北京举办2025年中资出海数智赋能合作大会,大会以“智聚全球,数领未来”为主题,汇聚一众企业代表、行业专家、合作伙伴,共商赋能中资企业出海创新路径。中国电子学会理事会党委书记张峰、工业和信息化部国际经济技术合作中心副主任朱刚、商务部投资促进事务局副局长俞子荣、北京市海淀区委副书记杨仁全等出席大会,中国移动副总经理李慧镝出席大会并致辞。 …

    2025年5月22日
  • 迈瑞医疗在济南成立新公司注册资本2000万

    天眼查工商信息显示,近日,济南迈瑞科技有限公司成立,法定代表人为席彬,注册资本2000万人民币,经营范围含仪器仪表制造、第一类医疗器械生产、仪器仪表销售、货物进出口、技术进出口、进出口代理等。股东信息显示,该公司由迈瑞医疗全资持股。 天眼查信息:https://www.tianyancha.com/company/7909659603

    2026年1月4日
  • 跟风呆呆江西杀猪宴博主近期涨粉2万

    #江西杀猪宴博主1分钟视频报价2800元##江西杀猪宴跟风呆呆翻车# #发起江西杀猪宴翻车博主道歉# 据媒体报道,近日,江西杀猪宴发起者“卧龙哥”为筹备不足道歉。据了解,1月14日活动当天,现场涌入的人数高达四五万人,远超其接待能力。 天眼查知识产权信息显示,“卧龙哥”已被自然人李某申请注册为商标,国际分类为酒。 第三方数据显示,截至1月16日8时,丰城卧龙…

发表回复

您的电子邮箱地址不会被公开。 必填项已用*标注

联系我们

邮件:939297903@qq.com

工作时间:周一至周五,9:30-18:30,节假日休息

关注微信