合创汽车持广汽乘用车千万股权被冻结

#合创汽车所持4116万股权被冻结#

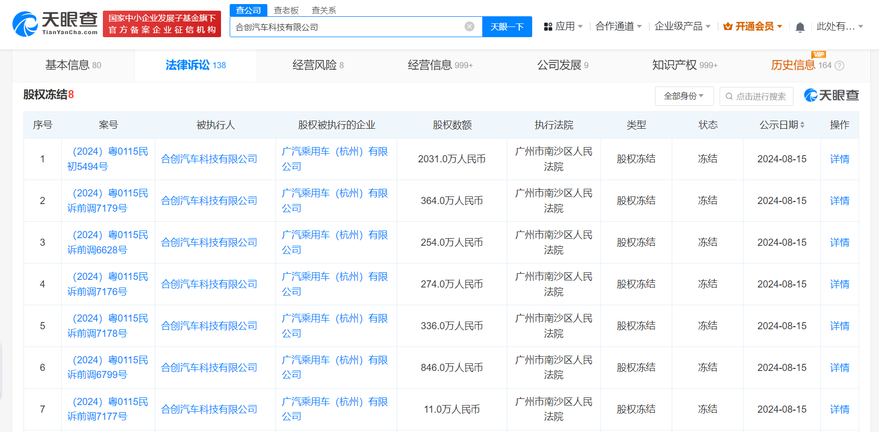
天眼查法律诉讼信息显示,近日,合创汽车科技有限公司新增7条股权冻结信息,股权被执行的企业均为广汽乘用车(杭州)有限公司,被冻结股权数额合计4116万人民币,冻结期限自2024年8月15日至2027年8月14日,执行法院为广州市南沙区人民法院。

合创汽车持广汽乘用车千万股权被冻结

合创汽车持广汽乘用车千万股权被冻结

合创汽车持广汽乘用车千万股权被冻结

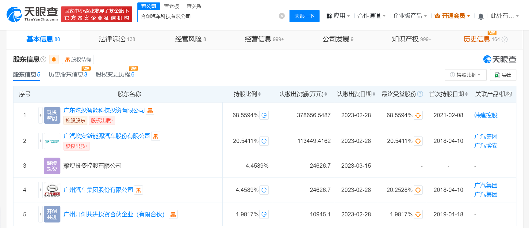
广汽乘用车(杭州)有限公司成立于2010年12月,由广汽乘用车有限公司、合创汽车科技有限公司分别持股51%、49%,其中合创汽车科技有限公司认缴出资额约20.73亿。合创汽车科技有限公司成立于2018年4月,法定代表人为李志红,注册资本约55.23亿人民币,由广东珠投智能科技投资有限公司、广汽埃安新能源汽车股份有限公司、广汽集团等共同持股。

天眼查信息:https://www.tianyancha.com/company/3173063307

本文来自投稿,不代表创造权威IP 赋能创业者——IP百创立场,如若转载,请注明出处:创造权威IP 赋能创业者——IP百创

(0)
打赏 微信扫一扫 微信扫一扫 支付宝扫一扫 支付宝扫一扫
上一篇 2024年8月16日
下一篇 2024年8月16日

相关推荐

  • 轻薄护眼大折叠正式发布,荣耀Magic Vs2系列6999元起

    01 荣耀正式发布轻薄大内折旗舰 10月12日,荣耀正式发布轻薄大内折旗舰——荣耀Magic Vs2。 通过鲁班钛金铰链、荣耀自研盾构钢、航天级稀土镁合金等一系列创新技术材料,荣耀Magic Vs2以229克刷新了横向大尺寸内折叠屏手机的轻薄记录。 继荣耀Magic V2、荣耀V Purse之后,荣耀Magic Vs2的发布进一步丰富了荣耀折叠屏产品矩阵,带…

    2023年10月13日
  • 侵权张译商家未道歉被公告

    #侵权张译商家已被强执并限消# 天眼查App显示,近日,因浙江每日在线网络科技有限公司未履行致歉义务,法院公告张译与其网络侵权责任纠纷案件判决书主要内容。公告显示,被告未经原告许可,在其抖音账户多次使用张译肖像进行业务宣传,视频中产品外包装显示张译的肖像,且被告通过媒体发布张译的照片及业务宣传,并配有“张译”字样,上述行为构成对原告肖像权、姓名权的侵害。法院…

    2024年7月1日
  • 腾讯、百度花式布局CRM

    配图来自Canva可画 早在2019年,国内几乎所有的互联网巨头就已经在CRM领域排兵布阵了,但由于投资理念和商业逻辑的不同,BAT入局CRM的思路完全不同:腾讯采取广泛投资、阿里选择战略合作、百度则是亲自下场。尽管当时这些互联网巨头们动作频频,却并未在CRM市场上激起太大浪花。 而随着C端互联网人口红利逐渐减退,BAT也不得不继续向B端市场寻求突破。于是,…

    2022年8月15日
  • 尼山论坛,让山东从国内顶流跃升为世界焦点

    尼山论坛折射出的齐鲁文化底蕴与魅力,正在滋润着山东的未来之路

    2024年7月11日
  • 美国抛弃特斯拉,还是特斯拉抛弃美国?

    美国市场的“失守”,意味着特斯拉将更加依赖我国市场。

    2025年9月15日

发表回复

您的电子邮箱地址不会被公开。 必填项已用*标注

联系我们

邮件:939297903@qq.com

工作时间:周一至周五,9:30-18:30,节假日休息

关注微信