揭秘黑神话悟空制作方

#黑神话悟空制作方已注册系列商标##黑神话悟空#

据报道,8月20日上午10点,《黑神话:悟空》正式上线。《黑神话:悟空》是由游戏科学团队开发的以中国神话为背景的动作冒险游戏,核心内容基于《西游记》原著世界观创作。

揭秘黑神话悟空制作方

揭秘黑神话悟空制作方

揭秘黑神话悟空制作方

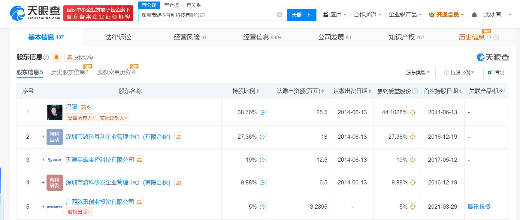
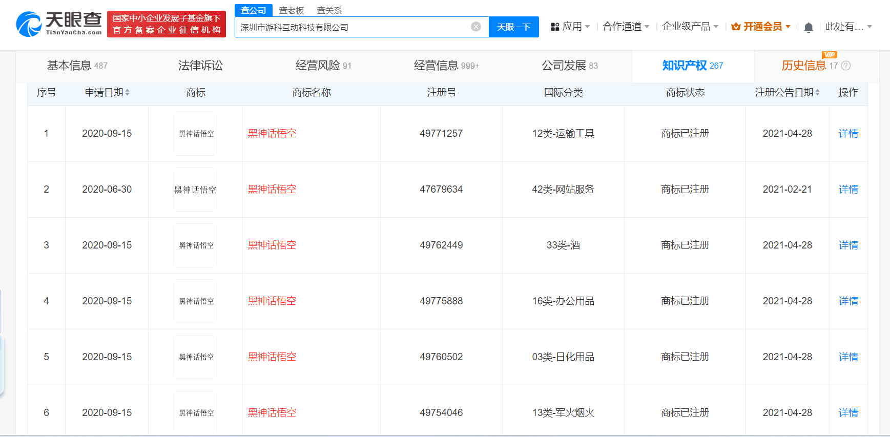
天眼查App显示,游戏科学关联公司深圳市游科互动科技有限公司成立于2014年6月,法定代表人、董事长、总经理为冯骥,注册资本约65.79万人民币,经营范围含软件设计与开发,游戏开发,系统集成、网络工程、企业信息化系统、网站设计与开发等,由冯骥、深圳市游科互动企业管理中心(有限合伙)、深圳市游科研发企业管理中心(有限合伙)、英雄游戏旗下天津英雄金控科技有限公司、腾讯旗下广西腾讯创业投资有限公司共同持股。知识产权信息显示,该公司已申请注册多枚“黑神话悟空”“黑悟空”“黑神话”“820 捌贰零”“黑神话·山海”“黑神话·大荒”等商标,当前商标状态多为已注册。值得一提的是,该公司还成功注册多枚“黑神话姜子牙”“黑神话钟馗”商标。此前有爆料称,这是《黑神话》系列的三部曲。

年报信息显示,深圳市游科互动科技有限公司去年参保人数为48人。此外,对外投资信息显示,该公司直接持股2家公司,分别为杭州游科互动科技有限公司、杭州光影正义科技有限公司,两公司分别成立于2018年、2021年。

天眼查信息:https://www.tianyancha.com/company/2322636134

本文来自投稿,不代表创造权威IP 赋能创业者——IP百创立场,如若转载,请注明出处:创造权威IP 赋能创业者——IP百创

(0)
打赏 微信扫一扫 微信扫一扫 支付宝扫一扫 支付宝扫一扫
上一篇 2024年8月20日 下午4:07
下一篇 2024年8月20日

相关推荐

  • #小米景明在济南成立汽车科技公司# 注册资本500万

    天眼查App显示,近日,济南小米景明汽车科技有限公司成立,法定代表人为于锴,注册资本500万人民币,经营范围含新能源汽车整车销售、汽车销售、智能车载设备销售、二手车经纪、汽车零配件零售、新能源汽车电附件销售、汽车装饰用品销售、洗车服务、机动车修理和维护、充电桩销售等。股东信息显示,该公司由小米景明科技有限公司全资持股。 天眼查信息:https://www.t…

    2024年7月1日
  • 投资150万,我和两个群友,在深圳开了一家Web3俱乐部

    最近我和两个朋友在深圳开了一家线下的Web3俱乐部,叫U Garden。开业当天来了超多人,人气爆棚的节奏。因为怕人太多照顾不过来,所以很多朋友没有邀请,以后再慢慢邀请大家来玩。 我和两个群友一起搞事要聊起我们三人的合作,那么不得不提到WangClub。 WangClub是我创立的中国加密巨鲸俱乐部,目前有500人。入群门槛是最少持有价值500万的加密资产,…

    2025年7月17日
  • 罗永浩名下限消令均已解除# #罗永浩商业版图盘点

    #罗永浩真还传一共还了8.24亿# 8月26日,罗永浩在社交媒体发文称,到目前为止,“真还传”一共还了8.24亿,远远超出之前对外公布过的“欠债6个多亿”。新增的债务(包括借款3个亿、投资款3个亿)也已偿还一年多了,会在未来几年全部还完。 天眼查App显示,罗永浩关联30余家企业,其中10家为存续或开业状态,除在锤子科技(成都)股份有限公司、北京锤子数码科技…

    2024年8月26日
  • 揭秘化工油食用油混装收货方

    #油罐车混装收货方曾超限运输被停业##廊坊市监局回应化工油食用油混装事件# 近日,媒体报道罐车运输行业存在食品类液体和化工类液体运输混用且不清洗的情况,引发多方关注。据报道视频显示,汇福粮油集团散装食用大豆油的收货方为河北物流集团金属材料有限公司。 天眼查App显示,河北物流集团金属材料有限公司成立于2009年3月,法定代表人为张有贵,注册资本5亿人民币,经…

    2024年7月10日
  • 海澜之家增资至48亿

    天眼查App显示,近日,海澜之家发生工商变更,公司注册资本由约43.2亿人民币增至约48.03亿人民币。 海澜之家集团股份有限公司成立于1997年1月,法定代表人为周立宸,主营业务为从事品牌管理、供应链管理、营销网络管理的大型消费品牌运营,由海澜集团有限公司、荣基国际(香港)有限公司、香港中央结算有限公司等共同持股。 天眼查信息:https://www.ti…

    2024年7月1日

发表回复

您的电子邮箱地址不会被公开。 必填项已用*标注

联系我们

邮件:939297903@qq.com

工作时间:周一至周五,9:30-18:30,节假日休息

关注微信