中国电信申请天翼AI商标

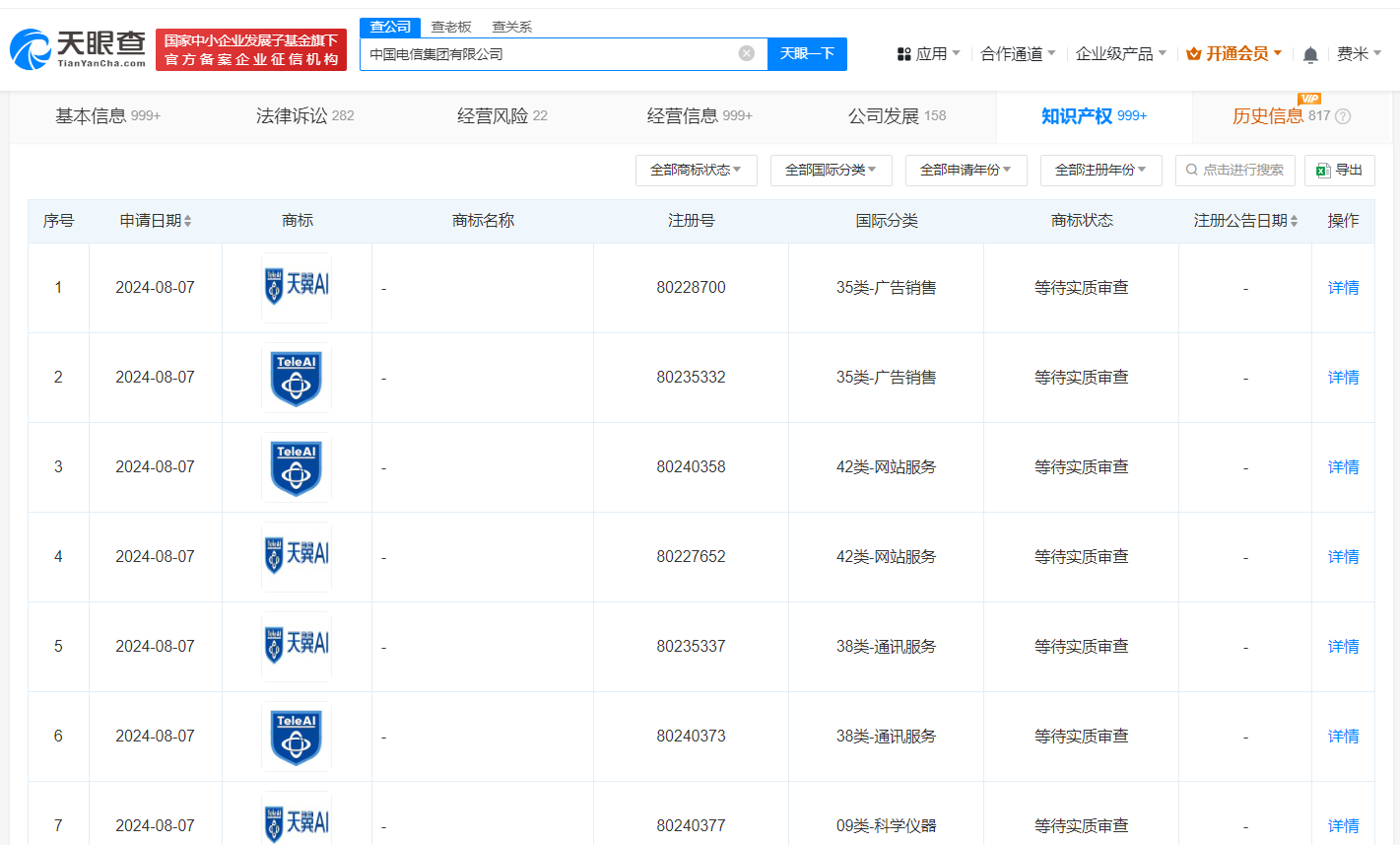
天眼查知识产权信息显示,近日,中国电信集团有限公司申请多枚“天翼AI”“Tele AI”图形商标,国际分类为广告销售、网站服务、通讯服务和科学仪器,当前商标状态均为等待实质审查。

中国电信申请天翼AI商标

中国电信申请天翼AI商标

天眼查信息:https://www.tianyancha.com/company/3137567605/zhishi

本文来自投稿,不代表创造权威IP 赋能创业者——IP百创立场,如若转载,请注明出处:创造权威IP 赋能创业者——IP百创

(0)
打赏 微信扫一扫 微信扫一扫 支付宝扫一扫 支付宝扫一扫
上一篇 2024年8月21日
下一篇 2024年8月21日

相关推荐

  • #中国能建在成都成立能源服务公司# 注册资本1亿

    天眼查App显示,近日,中能建综合能源服务(成都)有限公司成立,法定代表人为尉涛,注册资本1亿人民币,经营范围含热力生产和供应,储能技术服务,矿产资源储量评估服务,太阳能发电技术服务,风力发电技术服务,新兴能源技术研发,合同能源管理,碳减排、碳转化、碳捕捉、碳封存技术研发等。股权全景穿透图显示,该公司由中能建数字科技集团有限公司全资持股,后者为中国能建全资子…

    2024年9月6日
  • 无印良品因商业诋毁被强执24万

    天眼查App显示,近日,无印良品(上海)商业有限公司新增一条被执行人信息,执行标的24.18万元,涉及与北京棉田纺织品有限公司相关商业诋毁纠纷案件,执行法院为北京市朝阳区人民法院。 关联文书信息显示,此前,棉田公司起诉无印良品公司等商业诋毁,称2019年11月开始,被告在天猫“无印良品MUJI官方旗舰店”及线下实体门店中发布声明,称“被其他公司抢注了‘无印良…

    2024年9月10日
  • 通海控股所持泛海集团10亿股权被冻结

    天眼查法律诉讼信息显示,近日,通海控股有限公司新增一则股权冻结信息,股权被执行的企业为泛海集团有限公司,冻结股权数额为10亿人民币,冻结期限自2024年7月12日至2027年7月11日,执行法院为北京金融法院。 泛海集团有限公司成立于1991年7月,法定代表人为卢志强,注册资本10亿人民币,由通海控股有限公司全资持股。 天眼查信息:https://www.t…

    2024年7月16日
  • 多年以后,互联网中厂开始重新“找爸爸”

    近日,互联网圈两大并购事件引发了不小的热议。一是,喜马拉雅“卖身”腾讯音乐(下文简称TME)终于尘埃落定,标的总对价约28.41亿美元,合人民币约204亿元;二是,迅雷突如其来宣布吞下虎扑,此次交易的总现金对价为5亿元人民币。 这两大并购,都不免令人唏嘘,比起往日辉煌时期的估值,如今只能算“贱卖”。喜马拉雅的最后一轮融资停留在2021年4月,当时投后估值折合…

    2025年6月24日

发表回复

您的电子邮箱地址不会被公开。 必填项已用*标注

联系我们

邮件:939297903@qq.com

工作时间:周一至周五,9:30-18:30,节假日休息

关注微信