9527剧场金猪玉叶商标被驳回

#9527剧场多枚商标申请均被驳回##蒋龙监制周星驰短剧#

据报道,由周星驰作为发起人的短剧剧场厂牌“九五二七剧场”即将上线首部古装微短剧《大话大话西游》,该部短剧由蒋龙、张天爱担任主演和监制,是“九五二七剧场”自《金猪玉叶》之后,推出的第二部短剧。

9527剧场金猪玉叶商标被驳回

9527剧场金猪玉叶商标被驳回

9527剧场金猪玉叶商标被驳回

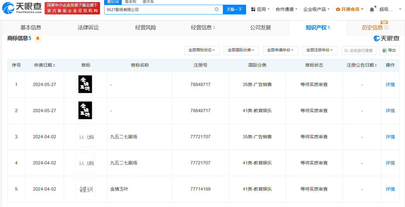
天眼查知识产权信息显示,近期,9527剧场有限公司申请注册的多枚“金猪玉叶”“九五二七剧场”商标流程信息更新,商标流程变更为“驳回通知发文”,商标国际分类涉及广告销售、教育娱乐。

天眼查信息:https://www.tianyancha.com/company/6839984572/zhishi

本文来自投稿,不代表创造权威IP 赋能创业者——IP百创立场,如若转载,请注明出处:创造权威IP 赋能创业者——IP百创

(0)
打赏 微信扫一扫 微信扫一扫 支付宝扫一扫 支付宝扫一扫
上一篇 2024年8月27日
下一篇 2024年8月27日

相关推荐

  • 今年京东618的那根金线:用户体验

    摘要:不管是店商、货架电商、直播电商还是即时零售,褪去业态的华丽外衣,零售的本质还是四个字:用户体验。谁能抓住零售的四字金线,谁就能在未来立于不败之地。当然技术、供应链、服务是不断提升用户体验的“笨功夫”和“硬功夫”。 01 化繁为简的618 5月28日,京东在京召开“京东618,又便宜又好”发布会,官宣今年京东618将于5月31日晚8点正式开启。 相较于2…

    2024年5月30日
  • 这回名创优品的加盟商真的“急”了?

    这回名创优品的加盟商真的“急”了?

    摘要:精品店加盟还是一门好生意吗?

    开满大街小巷的名创优品似乎遇到了一些成长阻碍,在遇冷之前,这家低配版无印良品曾经志向远大,例如,要把店开到100个国家去;例如,要实现1000亿销售;例如,要计划开出1万家门店。

    这些目标,就当下来看,显然完成得还差一大截。

    数据显示,截止到去年年末,名创优品的确顺利进入了100个国家,但总门店数量只有5440家,将将完成了万店计划的一半。门店增长困难其实不是一日两日了,尤其名创优品这两年的单店效益大幅度下滑。

    数据显示,2022年,名创优品每家MINISO门店平均年化收入从2021年的250万元下降到190万元,整体交易单量则是从1.54亿单下降到1.2亿单,与此同时,2022年第四季度,名创优品国内业务的MINISO营收从2021年同期的18.7亿元下降到13.9亿元,降幅超过1/4。

    这不仅对名创优品总部是个重大打击,更是直接浇灭了加盟商的热情,名创优品旗下的直营店少之又少,基本靠加盟店才撑起偌大的底盘,如今,单店每况愈下,成群的加盟商也不是好糊弄的。

    名创优品加盟“打折”?

    从2013年在广州开下第一家门店,这十年来,名创优品一手握着低价的精致生活,一手靠着无数前仆后继的加盟商,消费市场与加盟市场双重加持,门店总数很快突破5000家,其中,在国内就有超过3000家。

    据悉,在名创优品门店增长最快的几年里,一年的门店数量涨幅能高达13%。算起来,相比其他加盟品牌,名创优品由于对区域地段,以及店面面积有较高的要求,开一家门店的投资成本并不低。

    据悉,名创优品在一般城市的店面面积要求是在200平米左右,下沉市场县城等地方可以略微小一点,但一般也在100平米上下。根据不少加盟商的经验,一家名创优品加盟店的前期需要投入80到100万。

    这其中包括首年的特许商标使用金2.98万,一次性的货品保证金35万,以及装修费用2800/平,除此之外,加盟商需支付店铺租金、店铺员工工资。门店开业之后,加盟商还需要跟品牌抽成,一般加盟商每天的营业额要被品牌商分走62%,食品为67%。

    如此庞大的投入跟抽成,名创优品还能遍地开花,归根结底是早些年,精品店在消费市场的确深受年轻人追捧。数据显示,在2019年名创优品最春风得意的时候,单店的平均收入甚至能达到270万。

    在一线城市,名创优品做的好的门店,每天的购物人数可达2000人,按照客单价30元计算,一天的营业额就是6万元。再者,名创优品会进行统一的配货销售管理,投资人直接参与营业额分成,次日就能打到加盟商账户。

    总而言之,名创优品能俘获大量加盟商的心,早期的实力不可小觑。但转折也出现在这两年,据显示,2022年10月、11月及12月,名创优品线下门店的总客流分别下降了27%、36%及34%。单店的平均收入也从2019年的270万降到了2022年的190万。

    冬江水寒,最先感知到的一定是加盟商。

    十年以来,名创优品的万店计划依然只完成了一半,跟后来加盟商的热情渐渐退去不无关系。为了刺激加盟,无奈之下,名创优品近两年只能逐渐调低加盟的各项费用。早在2021年,品牌的商标使用费用从8万下降到5万,2022年又变为2.98万。

    到了2023年这一费用再降到1.98万,较8万整整下降了75%;此外,货品保证金也经历了从75万下调到35万的大缩水。名创优品对待加盟商的态度不言而喻,事实上,这也是品牌的一种“自我救赎”。

    222222222222

    加盟商对于任何一家连锁品牌都意义重大,名创优品更是不例外,据悉,名创优品将大部分成本,包括人力成本、运输成本、门店租金成本等转嫁至加盟商,授权费、特许权使用费、基于销售的管理及资讯服务费早已是品牌埋在骨子里的现金流。

    2019-2021年,名创优品向加盟商的授权费、特许权使用费等分别合计5.98亿元、5.68亿元、6.40亿元,分别占全年收入的6.3%、6.4%、7.6%,2019-2021年,名创优品加盟商的营收贡献率超出59.1%、57.4%、68.2%。

    名创优品加盟“打折”,与其说它是在拯救那些焦躁不安的加盟商,倒不如说,它其实是在拯救自己。

    下沉市场的加盟“矛盾”?

    从去年开始,名创优品的开店策略就逐渐向下沉市场偏移。截至2022年12月31日,公司一线城市门店数量减少了19家,二线城市门店数量增加36家,三线及以下城市新增170家。

    或许对于一二线城市动辄200平米起步的大门店,销售额下滑到一定的程度,就会击穿加盟商的盈亏平衡线,比如上海一些门店的月租金是15万元,那么就要做到月销售额40万元才能盈亏持平。

    下沉市场小店模式与相对较低的租金与人员成本更符合加盟商的心理预期。张丽在一座三线城市里开了家名创优品,更何况,在前几年的时候,6月~9月是销售旺季,每个月都能做到50多万销售额。

    这两年明显不如从前,更有意思的是,过去三年里,像她这样大型店面的位置跟面积,房租不降反升。县城里的房租下降空间或许更大一些,但有数据调查过,在浙江一个县城里,一家名创优品门店想要达到盈亏平衡,每天的销售额要维持在6000到8000之间。

    可以简单计算一下,国内县城平均常住人口在20-40万,比较大一点的县城会在50万左右,抛去其中占据大部分人口比例的中老年群体,剩下与名创优品目标客户群一致的年轻人其实并不算多。

    一直以来,名创优品施行“711理念”,即每7天推出约100个新SKU,每个月大概550个,名创优品卖的小商品超过8000个SKU,涵盖生活家居、电子电器、纺织品、包袋配饰、美妆工具、玩具系列、彩妆、护肤洗护、休闲食品、香水香氛、文具礼品等11个品类。

    这种更新优势在生活节奏较快的一二线城市或许是难得的新鲜感,但在下沉市场,却很难成为一种效果显著的消费刺激。

    只不过,名创优品显然是无法轻易放弃这片还未被认真开发过的市场,为此还推出了一个新品牌。即专门走县级市场的生活优品,与名创优品共享供应链,常住人口在30万便可合作加盟,相比名创优品,生活优品的加盟条件也是更接近下沉市场的加盟环境。

    根据公开资料显示,生活优品的加盟条件包括基础的资金费用条件为10-20万元的创业资金; 1.03万元以上的加盟费用; 至少1千元(合同一年一签)的商标授权许可费; 大约1~2万元的装修设计费; 购买需要两千元不到(终生维保)的收银设备费; 总额为20000元的首批材料费,独立的店面要求也比名创优品小,但租期至少要有两年。

    时至今日,名创优品面对加盟商的身段已经一低再低,这背后的焦虑一目了然。

    精品店加盟还是一门好生意吗?

    在几年之前,精品店生意的确火爆。精品店的本质是薄利多销,加上一再提高产品的更新上架速度,10-100元的大众定价又让消费者没有经济上的负担,市场热度跟消费回头率都有得天独厚的优势。

    成本也不算很高,除去最基础的加盟费用,主要是店铺租金、装修货柜、进货这三个方面的成本。名创优品在消费市场如鱼得水的时候,也不断有新的品牌出现,像后来的KKV、番茄口袋、KNOWIN潮流实验室……皆是例子。

    除此之外,五花八门的精品店也层出不穷。

    对于经营者,开一家精品店到底选择加盟模式,还是自营?毕竟在国内小商品城异常发达的环境下,自营也并非不可能,精品店生意的崛起,首先依赖于中国无敌的制造业和代工厂,一度能直接和大牌的头部工厂合作,例如香水就找香奈儿的工厂奇华顿,眼线笔就找迪奥的工厂莹特丽等。

    然而,加盟模式或许能极大地降低创业初期的种种突发状况的爆发。目前,市面上绝大部分精品店品牌会为加盟者提供一整套的经验方案,包括前期的准备、技术指导、品牌形象和品牌文化、专门的运营团队。拥有一套完整的加盟体系对加盟者的资金节约与时间探索有不可小觑的加持。

    更甚至,有的精品店品牌会给加盟商提供免费的退换货服务,避免出现滞销、过季产品等情况。目前,精品店加盟所面临的最大难题,大概就是市面上真正能做到规模以上,口碑品牌冲出“山寨”市场的不算多。

    名创优品算一个,后来者尽管不在少数,但也大都是这几年踏着新式集合零售的风浪才萌芽不久。特别是在下沉市场,品牌的存在感不强,形形色色,铺满街头巷尾的精品店招牌俯仰皆是,一座县城的中学周边,更能数出五六家。

    333333333333333

    咨询机构波士顿报告显示,1/3的”小镇青年”在购买精品店产品时产品的颜值至关重要,换句话说,IP跟品牌都要往后靠。翻开国内各大加盟信息网,不知名的精品店品牌加盟让人眼花缭乱。

    它们往往有大量广告的投放;不断电话和其他联系,让其实地考察;豪华的办公楼以及展示了一系列高端、精致的百货商品,价格也比市场价低很多;给出了低价进货的优惠,有的还承诺市场销售价利润60%。

    可爆雷的也不在少数,有加盟商曾经在社交平台总结了自己加盟精品店的经历,其中最重要的补货不及时,货单价格比批发价高出3倍,比零售价高出2倍,实际发来的货只有3万左右价值。小众精品店品牌尚未拥有成熟的供应链,稍有不慎,风险便会转嫁到加盟商身上。

    此外,整个精品店的市场境遇可谓盛极必衰。

    就连名创优品都节节下滑,这其中的原因有很多,首当其冲的就是性价比优势不再突出。淘宝特价版、聚划算、1688、拼多多……再加上盒马、饿了么等到家服务对商品品类的扩充,种种变动都在挤压精品店的生存空间。

    根据国家统计局数据,实物商品网上零售额占社会消费品零售总额的比重不断上升,早在2020年8月,占比已经高达25%。这是一场浩劫,无论对于品牌,还是对于加盟商。

    消费最前线,曾用名锦鲤财经,为您提供专业极致中立的商业观察,公众号:zhuanyepai。本文为原创文章,谢绝未保留作者相关信息的任何形式的转载。

    2023年5月24日
  • 保时捷又见裁员,是被新能源汽车逼的吗?

    “豪车标准”正在全球范围内改写

    2024年12月24日
  • 日企罗森向加盟商低下“头颅”

    即时零售中,数量决定“存亡”?

    2023年5月29日
  • 小米专利可用太阳能为指环手环充电

    #小米用太阳能充电穿戴设备专利获授权# 天眼查知识产权信息显示,7月23日,北京小米移动软件有限公司申请的“一种可穿戴设备”专利获授权。 摘要显示,本申请提供一种可穿戴设备(包括但不限于指环、手环或耳环等),包括壳体、太阳能板、电池和控制电路板,太阳能板、电池和控制电路板均设置于壳体内,太阳能板和电池分别与控制电路板电连接,壳体设有聚光件,聚光件包括入光面和…

    2024年7月23日

发表回复

您的电子邮箱地址不会被公开。 必填项已用*标注

联系我们

邮件:939297903@qq.com

工作时间:周一至周五,9:30-18:30,节假日休息

关注微信