南派三叔曾持股公司已注册藏海花商标

8月26日,由南派三叔担任总监制的探险题材网剧《藏海花》正式开播,多个相关话题登上热搜。

南派三叔曾持股公司已注册藏海花商标

南派三叔曾持股公司已注册藏海花商标

南派三叔曾持股公司已注册藏海花商标

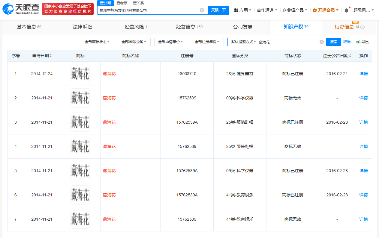
天眼查知识产权信息显示,“藏海花”已被多方申请注册为商标,申请人包括多家科技、文化创意、酒业公司及多位自然人,国际分类涉及家具、教育娱乐、方便食品等,当前商标状态多为已注册。

值得一提的是,杭州宁静海文化创意有限公司已成功注册多枚“藏海花”商标,该公司成立于2014年7月,注册资本100万人民币,法定代表人为赖想想,经营范围包括文化艺术活动组织策划等,由赖想想全资持股。变更记录显示,2017年6月,徐磊(南派三叔)卸任该公司法定代表人、执行董事兼总经理并退出股东行列,均由赖想想接任。

天眼查信息:https://www.tianyancha.com/company/2321378350

本文来自投稿,不代表创造权威IP 赋能创业者——IP百创立场,如若转载,请注明出处:创造权威IP 赋能创业者——IP百创

(0)
打赏 微信扫一扫 微信扫一扫 支付宝扫一扫 支付宝扫一扫
上一篇 2024年8月27日
下一篇 2024年8月27日

相关推荐

  • #工银投资在新疆成立投资基金# 出资额35.01亿

    天眼查App显示,近日,新疆工融双碳股权投资合伙企业(有限合伙)成立,执行事务合伙人为工银资本管理有限公司,出资额35.01亿人民币,经营范围为以私募基金从事股权投资、投资管理、资产管理等活动。合伙人信息显示,该基金由工银金融资产投资有限公司和工银资本管理有限公司共同出资。 此前,乌鲁木齐市商务局发布消息称,新疆工融双碳股权投资合伙企业(有限合伙)落户乌鲁木…

    2024年8月13日
  • 小龙坎旗下一餐饮管理公司拟注销

    天眼查App显示,近日,成都市小龙昇辉餐饮管理有限公司新增一则简易注销公告,公告期自8月15日至9月4日。 该公司成立于2020年12月,注册资本10万人民币,经营范围含餐饮管理、市场营销策划、食品经营、食品进出口等,由成都小龙坎餐饮管理有限公司全资持股。 天眼查信息:https://www.tianyancha.com/company/4062472245

    2024年9月4日
  • 小米13 Ultra正式发布 小米影像战略升级高端化迎来“飞轮效应”

    「4月的北京,春风和煦,花海浪漫。今晚北京海淀小米科技园迎来小米13 Ultra及小米科技生态新品的发布,米粉的热烈与欢呼声充盈整个会场……」 徕卡光学全新突破、小米影像战略升级开启“第二章”高端化步入正循环是本场发布会Highlight的两大关键点。 01 让移动影像告别“数码味” 回归“光学味” 4月18日,小米集团在京召开新品发布会,正式发布全新的人文…

    2023年4月18日
  • 海澜之家增资至48亿

    天眼查App显示,近日,海澜之家发生工商变更,公司注册资本由约43.2亿人民币增至约48.03亿人民币。 海澜之家集团股份有限公司成立于1997年1月,法定代表人为周立宸,主营业务为从事品牌管理、供应链管理、营销网络管理的大型消费品牌运营,由海澜集团有限公司、荣基国际(香港)有限公司、香港中央结算有限公司等共同持股。 天眼查信息:https://www.ti…

    2024年7月1日
  • Number与SNS联合,引领生成艺术与数字身份融合新时代

    创新合作:生成艺术与DID的完美融合 在全球生成艺术和数字身份领域中,Number系列与全球最大的DID平台之一SNS正式宣布达成合作。这一合作不仅为Number系列带来全新的发展机遇,也将推动生成艺术和DID的深度融合,同时为用户提供全新的数字身份体验。 此次合作,为SNS的数字域名持有者发放了2700份背景卡,其中有数字#0到#9,仅限数字类别的域名持有…

    2024年8月31日

发表回复

您的电子邮箱地址不会被公开。 必填项已用*标注

联系我们

邮件:939297903@qq.com

工作时间:周一至周五,9:30-18:30,节假日休息

关注微信