融创等被强制执行6.5亿

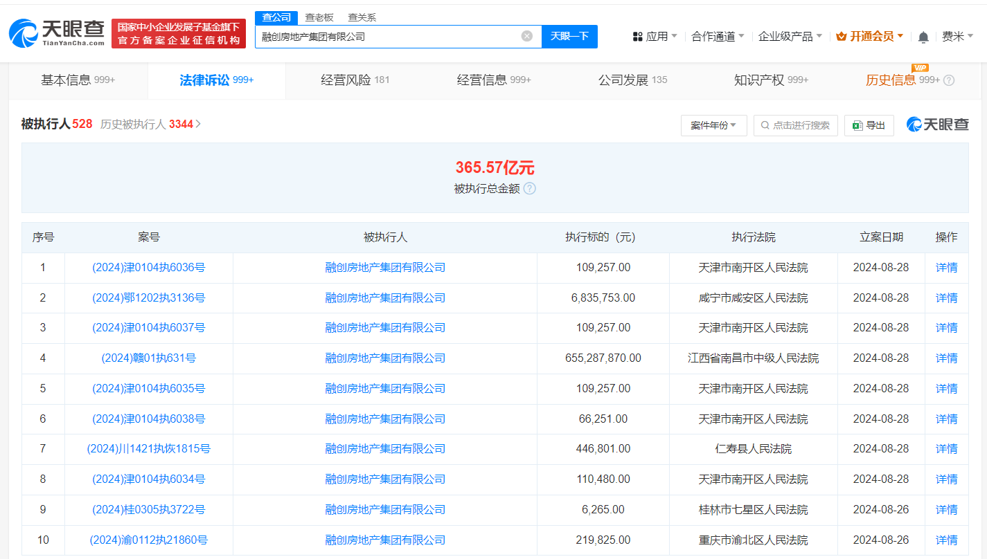
天眼查法律诉讼信息显示,8月28日,融创房地产集团有限公司及旗下重庆远冲实业有限公司、长沙环球世纪发展有限公司、平阳隆恒置业有限公司新增一则被执行人信息,执行标的6.5亿余元,执行法院为江西省南昌市中级人民法院。

融创等被强制执行6.5亿

融创等被强制执行6.5亿

融创等被强制执行6.5亿

风险信息显示,融创房地产集团有限公司现存520余条被执行人信息,被执行总金额超365亿元。此外,该公司还存在多条限制消费令、失信被执行人(老赖)及终本案件信息。

天眼查信息:https://www.tianyancha.com/company/1684115751/sifa

本文来自投稿,不代表创造权威IP 赋能创业者——IP百创立场,如若转载,请注明出处:创造权威IP 赋能创业者——IP百创

(0)
打赏 微信扫一扫 微信扫一扫 支付宝扫一扫 支付宝扫一扫
上一篇 2024年8月29日
下一篇 2024年8月29日

相关推荐

  • 三座云服务大山压顶!百度智能云被困在“石缝”里!

    在国内云服务市场,阿里云、华为云、腾讯云盘踞,将行业话语权牢牢攥在手中,百度智能云处在这一高压态势下,未来发展之路迷雾重重。近期,百度智能云更是风波不断,深陷舆论漩涡。 先是2 月,业务掌舵人沈抖在全员会上对友商“开火”,直言DeepSeek 来势汹汹,矛头直指字节跳动的豆包,声称其训练与投流成本高昂。然而,火山引擎总裁谭待迅速在朋友圈反击,呼吁行业聚焦基本…

    2025年3月28日
  • 每年4亿部废旧手机,回收市场蛋糕虽大但消费者参与意愿仍显乏力

    数据显示,我国平均每年产生4亿部以上废旧手机,废旧手机存量已超过20亿部。随着我国手机更新换代速度加快,闲置手机数量也在大幅增加。 据中国循环经济协会调查,一部手机的平均寿命约为2.2年,我国每年产生的废旧手机有一半以上被消费者闲置留存。与此同时,我国每年产生的废旧手机进入以旧换新、“互联网+回收”等新型回收渠道的仅占10%左右。手机缘何“宁愿闲置也不卖”?…

    2024年7月19日
  • 万达集团持万达体育1亿股权被冻结

    #万达体育1亿股权被冻结# 天眼查法律诉讼信息显示,近日,大连万达集团股份有限公司新增一条股权冻结信息,股权被执行的企业为万达体育有限公司,冻结股权数额1亿人民币,冻结期限自2024年7月23日至2027年7月23日,执行法院为成渝金融法院。 万达体育有限公司成立于2015年12月,法定代表人为张春远,注册资本10亿人民币,由北京万达文化产业集团有限公司、大…

    2024年7月26日
  • 白酒行业冰与火:珍酒李渡失速与头部酒企的进击

    2025年上半年,中国白酒上市公司财报,呈现出冰火两重天的景象。 红星资本局统计,22家白酒上市公司中,6家保持了营收和净利润的双增长,包括贵州茅台、五粮液、山西汾酒、古井贡酒、老白干酒和金徽酒。以贵州茅台为例,实现营业收入893.89亿元,同比增长9.10%;归属于上市公司股东的净利润454.03亿元,同比增长8.89%。 珍酒李渡属于营收和净利润双下滑的…

    2025年9月11日
  • 疑似王丽坤老公涉案公司已被吊销

    #疑似王丽坤老公涉案被抓# 据报道,疑似王丽坤老公詹某涉嫌诈骗一案将于近期开庭审理,消息引发网友热议。此前,有自称为该案受害人的网友晒出立案决定书,并喊话王丽坤。 天眼查App显示,上述网友晒出的北京共青城商业集团股份有限公司成立于2018年12月,法定代表人为赵京,注册资本5亿人民币,由北京中控国信商业发展有限公司、北京中商国控企业管理中心共同持股。行政处…

    2024年8月7日

发表回复

您的电子邮箱地址不会被公开。 必填项已用*标注

联系我们

邮件:939297903@qq.com

工作时间:周一至周五,9:30-18:30,节假日休息

关注微信