百度已申请多枚文小言商标

据报道,9月4日,百度官宣“文心一言”App正式升级为“文小言”,定位百度旗下“新搜索”智能助手。

百度已申请多枚文小言商标

百度已申请多枚文小言商标

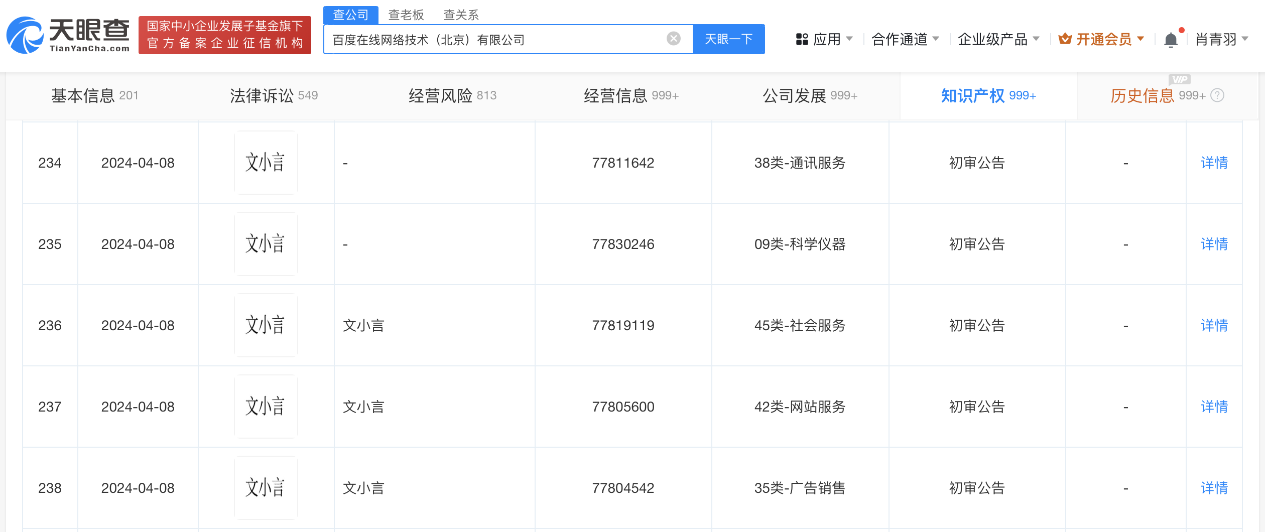
天眼查App显示,此前,百度在线网络技术(北京)有限公司已申请注册多枚“文小言”商标,国际分类涉及通讯服务、科学仪器、社会服务、广告销售等,当前商标状态多为初审公告。

天眼查信息:https://www.tianyancha.com/company/23289175/zhishi

本文来自投稿,不代表创造权威IP 赋能创业者——IP百创立场,如若转载,请注明出处:创造权威IP 赋能创业者——IP百创

(0)
打赏 微信扫一扫 微信扫一扫 支付宝扫一扫 支付宝扫一扫
上一篇 2024年9月5日
下一篇 2024年9月5日

相关推荐

  • 谢霆锋锋味旗下一公司注销

    天眼查App显示,近日,锋收(上海)餐饮管理有限公司经营状态由存续变更为注销。此前,该公司已发布注销备案公告,注销原因为决议解散。 锋收(上海)餐饮管理有限公司成立于2021年11月,法定代表人为赵雷,注册资本500万人民币,经营范围含餐饮管理、信息咨询服务、企业管理咨询、市场营销策划、社会经济咨询、食品销售等。股东信息显示,该公司由锋味国际有限公司、王维宏…

    2024年8月26日
  • EDG老板名下公司等被强执1442万

    #朱一航公司等被强执千万# 天眼查法律诉讼信息显示,近日,广东韩立投资有限公司、广东韩江工程总承包有限公司、上海正泽房地产有限公司新增一则被执行人信息,执行标的1442万余元,涉及建设工程施工合同纠纷案件,执行法院为上海市青浦区人民法院。 广东韩立投资有限公司、广东韩江工程总承包有限公司均成立于2016年10月,均由朱一航(EDG电子竞技俱乐部创始人)、刘惠…

    2024年8月7日
  • 关晓彤代言的天然呆被恢复执行120万

    #关晓彤代言的天然呆被恢复执行# 天眼查法律诉讼信息显示,近日,成都天然呆餐饮管理有限公司新增一条恢复执行信息,执行标的120万元,执行法院为崇州市人民法院。去年12月,该公司曾因此案首次被执行。 股权全景穿透图显示,关晓彤父亲关少曾通过彤梦心缘(成都)文化传媒有限公司持有天然呆公司35%的股份。风险信息显示,天然呆公司现存9条被执行人信息,被执行总金额15…

    2024年8月7日
  • 安阳致42死火灾涉事方被罚1600万

    #安阳11·21火灾涉事公司被罚1600万# 天眼查经营风险信息显示,近日,安阳市凯信达商贸有限公司因违反安全生产法相关规定,被河南省应急管理厅罚款1600万元。 处罚事由显示,国务院事故调查组《河南安阳市凯信达商贸有限公司“11·21”特别重大火灾事故调查报告》认定,2022年11月21日16时许,河南省安阳市文峰区安阳市凯信达商贸有限公司发生特别重大火灾…

    2024年8月7日
  • 全面数字孪生,西门子Xcelerator因何与众不同?

    在企业的数字化转型中,工业软件是最关键的工具。只有提升了工业软件的“软实力”,用数字手段打通产销全链条,才能运用数字手段对企业的生产、管理进行深度改进。 作为德国最知名的电气巨头,西门子公司和中国的现代化渊源颇深。1872年,西门子向中国出口了一台指针式电报机,是第一次把自己的产品送到中国市场,为彼时的中国带来信息快捷传输的福音。1900年,西门子向中国交付…

    互联网 2022年9月22日

发表回复

您的电子邮箱地址不会被公开。 必填项已用*标注

联系我们

邮件:939297903@qq.com

工作时间:周一至周五,9:30-18:30,节假日休息

关注微信