荣盛发展等被强制执行1.1亿

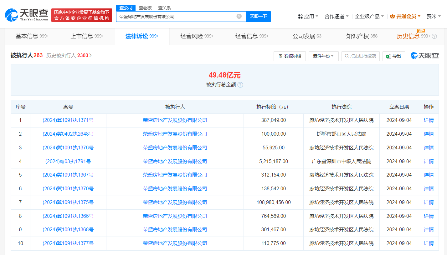
天眼查法律诉讼信息显示,9月4日,荣盛发展新增12条被执行人信息,执行标的合计1.1亿余元,涉及票据追索权纠纷、建设工程施工合同纠纷等案件,部分案件被执行人还包括河北荣力建筑工程有限公司、蚌埠荣盛锦业房地产开发有限公司、香河万利通实业有限公司等。

荣盛发展等被强制执行1.1亿

荣盛发展等被强制执行1.1亿

风险信息显示,荣盛房地产发展股份有限公司现存260余条被执行人信息,被执行总金额超49亿元。此外,该公司还存在多条限制消费令、失信被执行人(老赖)及终本案件信息。

天眼查信息:https://www.tianyancha.com/company/26078019/sifa

本文来自投稿,不代表创造权威IP 赋能创业者——IP百创立场,如若转载,请注明出处:创造权威IP 赋能创业者——IP百创

(0)
打赏 微信扫一扫 微信扫一扫 支付宝扫一扫 支付宝扫一扫
上一篇 2024年9月6日
下一篇 2024年9月6日

相关推荐

  • 即时零售进化不止,美团闪购、京东到家、饿了么内卷不休

    配图来自Canva可画 随着人们当下的生活节奏越来越快,即时零售便以其高效、便捷的特点,成为了现代消费者购物的首选之一。而在电商流量红利逐渐消退,线下商超增速连年下滑的大环境下,这种能打通线上线下,兼具商超与电商两种特性的零售服务模式,更是受到了互联网巨头们的追捧,其中,美团闪购、京东到家、饿了么等玩家就是即时零售平台模式中的主力。 即时零售几乎已经成为了大…

    2024年5月4日
  • 英雄游戏CEO#吴旦卸任英雄手游公司法定代表人

    天眼查App显示,4月18日,天津英雄手机游戏科技发展有限公司发生工商变更,英雄游戏CEO吴旦卸任法定代表人,由冯骥接替。 不久前,天津英雄手机游戏科技发展有限公司原股东天津英雄互娱科技有限公司退出,新增全资股东《黑神话:悟空》关联公司杭州游科互动科技有限公司,冯骥即为杭州游科互动科技有限公司法定代表人。 天眼查信息:https://www.tianyanc…

    2023年4月20日
  • 阿里登记淘宝便利店作品著作权

    天眼查知识产权信息显示,近日,淘宝(中国)软件有限公司登记“淘宝便利店”作品著作权,作品类别为美术。值得一提的是,今年,阿里巴巴(中国)有限公司已申请注册“淘宝便利店”商标,国际分类涉及广告销售、皮革皮具,当前商标状态为等待实质审查。 据媒体报道,10月31日,淘宝闪购正式发布全新连锁便利品牌“淘宝便利店”,该品牌于11月1日正式面向消费者上线。 天眼查信息…

    2025年11月11日
  • 音悦台回归,这回要做B站音乐版?

    如今,音悦台高调宣传回归,还能走到曾经的高度吗?

    2023年4月20日
  • 奔驰退出比亚迪腾势汽车公司

    天眼查App显示,近日,深圳腾势新能源汽车有限公司发生工商变更,梅赛德斯—奔驰(中国)投资有限公司退出股东行列,同时Hans Georg Engel卸任董事。 深圳腾势新能源汽车有限公司成立于2011年2月,法定代表人为艾凤杰,董事长为王传福,注册资本77.6亿人民币,现由比亚迪汽车工业有限公司全资持股。 天眼查信息:https://www.tianyanc…

    2024年9月18日

发表回复

您的电子邮箱地址不会被公开。 必填项已用*标注

联系我们

邮件:939297903@qq.com

工作时间:周一至周五,9:30-18:30,节假日休息

关注微信