奥园集团等被强制执行8亿

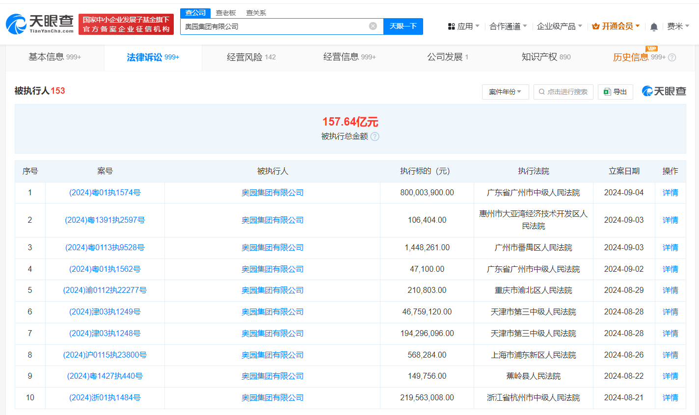
天眼查法律诉讼信息显示,9月4日,奥园集团有限公司、广州奥晟科技有限公司、广州市嘉利仓码有限公司新增一条被执行人信息,执行标的8亿余元,执行法院为广东省广州市中级人民法院。

奥园集团等被强制执行8亿

奥园集团等被强制执行8亿

奥园集团等被强制执行8亿

奥园集团有限公司成立于1998年5月,法定代表人为林显团,注册资本61.1亿人民币,由广东奥园置业有限公司和ADD LION PROFITS LIMITED共同持股。风险信息显示,该公司现存150余条被执行人信息,被执行总金额超157亿元。此外,该公司还存在多条限制消费令、失信被执行人(老赖)及终本案件信息。

天眼查信息:https://www.tianyancha.com/company/28404712/sifa

本文来自投稿,不代表创造权威IP 赋能创业者——IP百创立场,如若转载,请注明出处:创造权威IP 赋能创业者——IP百创

(0)
打赏 微信扫一扫 微信扫一扫 支付宝扫一扫 支付宝扫一扫
上一篇 2024年9月6日
下一篇 2024年9月6日

相关推荐

  • 长城汽车在威海成立销售新公司

    天眼查App显示,8月19日,长城智选(威海)汽车销售服务有限公司成立,法定代表人为谭健,注册资本500万人民币,经营范围含汽车销售、汽车零配件零售、摩托车及零配件零售、电子产品销售、紧急救援服务、新能源汽车整车销售、二手车经纪等。股权全景穿透图显示,该公司由长城智选信息科技(保定)有限公司全资持股,后者为长城汽车全资子公司。 天眼查信息:https://w…

    2024年8月22日
  • 刘永好“护盘”民生银行,没有带来“新希望”

    民生银行想要重回第一梯队,还需要新的契机。

    2024年12月4日
  • 星纪魅族集团增资至4.53亿美元

    天眼查App显示,近日,湖北星纪魅族集团有限公司发生工商变更,注册资本由3.53亿美元增至4.53亿美元。 该公司成立于2022年1月,法定代表人为苏静,经营范围含可穿戴智能设备制造、销售,移动终端设备制造、销售,集成电路芯片设计及服务等。股东信息显示,该公司由Dreamsmart Technology Hong Kong Limited全资持股。 天眼查信…

    2024年7月25日
  • 樱桃琥珀已被出品方注册商标

    #樱桃琥珀官宣# 据媒体报道,由正午阳光出品、改编自云住同名小说的青春成长剧《樱桃琥珀》公开首批演员阵容,赵今麦饰演女主人公林其乐,张凌赫饰演男主人公蒋峤西。 天眼查知识产权信息显示,东阳正午阳光影视有限公司已于2021年申请注册3枚“樱桃琥珀”商标,国际分类为科学仪器、教育娱乐、网站服务,上述商标已于2022年成功注册。 天眼查信息:https://www…

    2024年8月8日
  • 宁德时代在云南成立绿能科技公司

    天眼查App显示,近日,时代骐骥绿能科技(云南)有限公司成立,法定代表人为闫卓,注册资本500万人民币,经营范围含发电业务、输电业务、供(配)电业务,新兴能源技术研发,新能源汽车换电设施销售,新能源汽车整车销售,集中式快速充电站,充电桩销售,电动汽车充电基础设施运营等。股东信息显示,该公司由宁德时代旗下时代骐骥绿能科技(深圳)有限公司全资持股。 天眼查信息:…

    2024年9月5日

发表回复

您的电子邮箱地址不会被公开。 必填项已用*标注

联系我们

邮件:939297903@qq.com

工作时间:周一至周五,9:30-18:30,节假日休息

关注微信