国美电器等被强制执行7956万

#国美电器累计被执行超41亿#

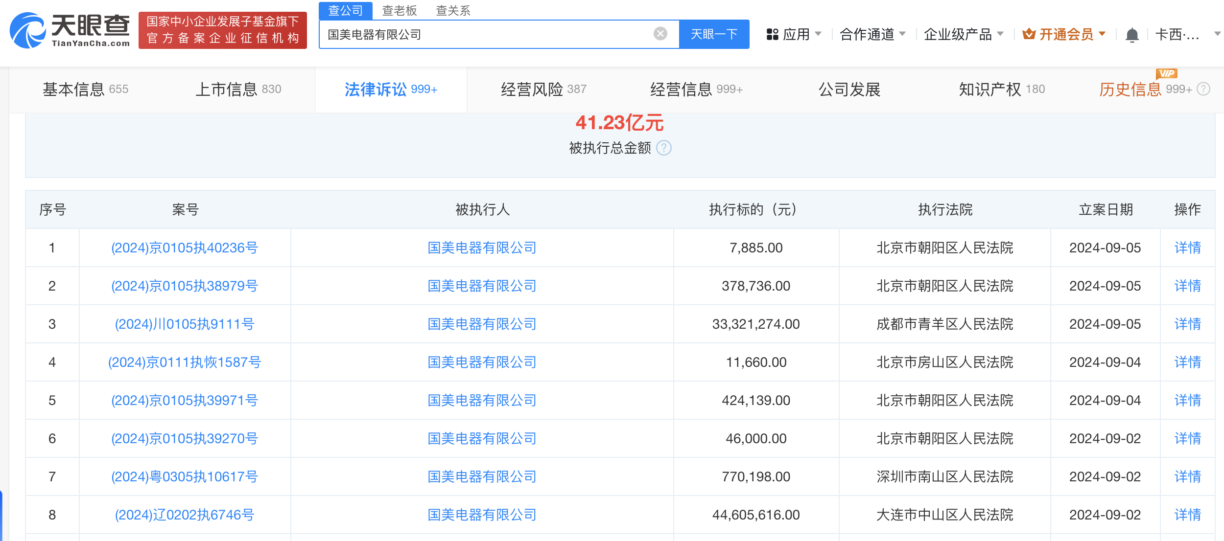
天眼查法律诉讼信息显示,近日,国美电器有限公司新增8条被执行人信息,执行标的合计7956万余元,涉及借款合同纠纷等案件,部分案件被执行人还包括国美电器零售有限公司、大连国美电器有限公司等,执行法院为成都市青羊区人民法院、大连市中山区人民法院等。

国美电器等被强制执行7956万

国美电器等被强制执行7956万

风险信息显示,该公司现存207条被执行人信息,被执行总金额超41亿元。此外,该公司还存在多条限制消费令、失信被执行人(老赖)及终本案件信息。

天眼查信息:https://www.tianyancha.com/company/622735/sifa

本文来自投稿,不代表创造权威IP 赋能创业者——IP百创立场,如若转载,请注明出处:创造权威IP 赋能创业者——IP百创

(0)
打赏 微信扫一扫 微信扫一扫 支付宝扫一扫 支付宝扫一扫
上一篇 2024年9月6日
下一篇 2024年9月6日

相关推荐

  • #理想汽车在上海成立智行科技公司# 注册资本1000万

    天眼查App显示,近日,上海理想智行科技有限公司成立,法定代表人为吕任明,注册资本1000万人民币,经营范围含大数据服务、人工智能基础软件开发、人工智能应用软件开发、云计算装备技术服务、小微型客车租赁经营服务、汽车零配件批发、新能源汽车整车销售、新能源汽车电附件销售、数据处理服务等,由北京理想汽车有限公司全资持股。 天眼查信息:https://www.tia…

    2024年8月2日
  • 双十一“小镇青年”消费调研报告:拼多多成网购首选平台,品牌商品消费升级明显

    作为消费信心的晴雨表,今年“双十一”电商大促,是启动最早的一届“双十一”,周期也最长。电商平台的竞争压力可见一斑。 从天猫、淘宝、京东、拼多多等平台的营销策略来看,性价比、最低价、底价销售……这些原本用来吸引流量的词汇,基本消失不见。取而代之的是,一系列针对商家的减负策略,包括减免服务费、快速回款、补贴运费等不同手段。 消费者也已经从过去多年的狂热追捧,回归…

    互联网 2024年11月8日
  • 在造车这一役上,对比中国科技企业西方国家媒体自认完败

    对于西方科技公司而言,汽车一直是失望之源。 亚马逊对电动卡车制造商里维安进行了大笔投资,该公司自2021年首次公开募股以来,市值已缩水约90%。字母表公司的自动驾驶汽车项目Waymo因安全记录问题面临监管审查。苹果花了近10年时间,耗资约100亿美元开发代号为“泰坦”的自动驾驶汽车项目,但因收效甚微,今年早些时候宣布放弃。以吸尘器和吹风机闻名的英国戴森公司也…

    2024年8月29日
  • 金山云在青海成立网络技术公司

    天眼查App显示,近日,青海金山云网络技术有限公司成立,法定代表人为林劲,注册资本800万人民币,经营范围含第一类增值电信业务、第二类增值电信业务、计算机系统服务、计算机软硬件及辅助设备批发、计算机软硬件及辅助设备零售、软件销售、云计算设备销售等。股东信息显示,该公司由金山云旗下金山云(庆阳)数据信息科技有限公司全资持股。 天眼查信息:https://www…

    2024年7月3日
  • 阅文上半年归母净利同比大增68.5%,短剧爆款率超60%

    8月12日,阅文集团(股票代码:0772.HK,以下简称“阅文”)公布2025年中期业绩。业绩公告显示,2025年上半年阅文实现收入31.9亿元,归母净利润达8.5亿元,同比增长68.5%。报告期内,阅文IP生态展现出极强的增长韧性,在线阅读稳步增长,《九重紫》《大奉打更人》《雁回时》《国色芳华》《锦绣芳华》《朝雪录》《凡人修仙传》等精品IP改编影视七连爆,…

    2025年8月12日

发表回复

您的电子邮箱地址不会被公开。 必填项已用*标注

联系我们

邮件:939297903@qq.com

工作时间:周一至周五,9:30-18:30,节假日休息

关注微信