浦银金融租赁公司增资至64亿

#浦发银行旗下金融租赁公司增资#

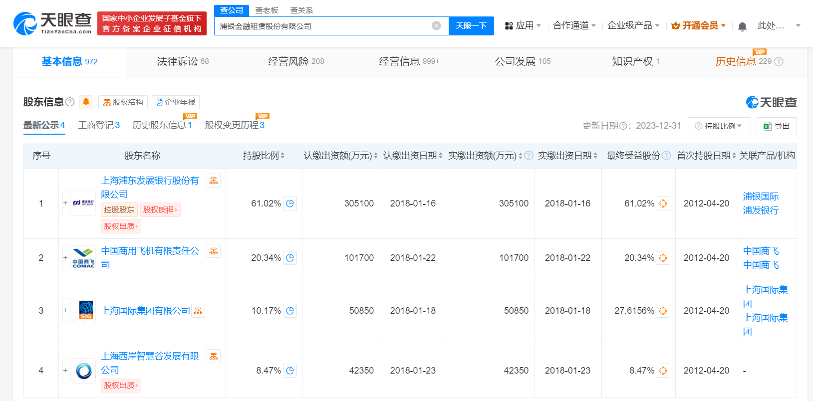
天眼查App显示,近日,浦银金融租赁股份有限公司发生工商变更,注册资本由50亿人民币增至约64亿人民币,同时,部分董事发生变更。

浦银金融租赁公司增资至64亿

浦银金融租赁公司增资至64亿

浦银金融租赁公司增资至64亿

该公司成立于2012年4月,法定代表人为刘以研,经营范围含融资租赁业务、转让和受让融资租赁资产、固定收益类证券投资业务、接受承租人的租赁保证金、吸收非银行股东三个月(含)以上定期存款、同业拆借、向金融机构借款、境外借款等。股东信息显示,该公司由浦发银行、中国商用飞机有限责任公司、上海国际集团有限公司、上海西岸智慧谷发展有限公司共同持股。

天眼查信息:https://www.tianyancha.com/company/193336562

本文来自投稿,不代表创造权威IP 赋能创业者——IP百创立场,如若转载,请注明出处:创造权威IP 赋能创业者——IP百创

(0)
打赏 微信扫一扫 微信扫一扫 支付宝扫一扫 支付宝扫一扫
上一篇 2024年9月13日
下一篇 2024年9月13日

相关推荐

  • 医美寒流:上中下游玩家各有各的难处?

    颜值即正义,年轻人愿意为颜值“氪金”,过去几年医美市场呈现高增长姿态,而今在疫情和市场竞争的影响下,医美市场高增长趋势暂被遏制。 疫情黑天鹅重创线下医美机构,同时政策监管趋严加剧了其他医美玩家的运营压力,行业倒闭潮随之而来。企查查数据显示,2021年上半年,医美相关企业已吊注销1413家,比2020年整年多出近500家。 疫情下,降薪、停业、倒闭接踵而至,医…

    2022年10月25日
  • 泡泡玛特多地公司发生高管变更

    #泡泡玛特多地公司变更高管##泡泡玛特# 天眼查工商信息显示,近日,云南葩趣贸易有限公司发生工商变更,周巍卸任法定代表人、执行董事、总经理,刘舒霜接任法定代表人并担任董事、经理。此外,上海葩趣文化创意有限公司、甘肃葩趣贸易有限公司均发生高管变更。 云南葩趣贸易有限公司、上海葩趣文化创意有限公司、甘肃葩趣贸易有限公司分别成立于2020年9月、2021年5月、2…

    2025年8月24日
  • 天眼查315数据:香精香料岂能如此应用,4.38%的香精香料相关企业曾出现经营异常

    #又见香精大米##香精勾兑的泰国香米#央视315晚会曝光“香精大米”,“泰国香米”香米竟是香精勾兑而来。天眼查数据显示,我国目前有超15.7万家香精香料相关企业。从地域分布上看,广东、四川以及云南三地,香精香料相关企业数量最多,分别拥有2.6万余家,1.6万余家以及1.5万余家。天眼查风险数据显示,从事香精香料相关的业务企业中,2.75%的相关企业曾出现法律…

    行业动态 2023年3月15日
  • 户晨风近期成立文化传媒公司

    #户晨风近期成立一家公司##户晨风多平台账号被封禁# 据媒体报道,拥有百万粉丝的网红博主户晨风以“苹果、安卓论”收割流量,终因突破监管红线,9月20日,他在多个平台的账号被封禁,内容被清空,随后账号被彻底注销。专家认为,户晨风这种大肆输出所谓“安卓人”“苹果人”的做法,本质是通过制造尖锐对立议题、煽动群体间情绪、贩卖焦虑,来吸引眼球和流量,最终目的是实现商业…

    2025年11月6日
  • 奇瑞汽车在宿州成立能源科技公司注册资本7亿

    天眼查App显示,近日,得壹能源科技(宿州)有限责任公司成立,法定代表人为李中兵,注册资本7亿人民币,经营范围含电池制造、电池销售、汽车销售、新能源汽车整车销售、机械设备租赁、租赁服务、小微型客车租赁经营服务、非居住房地产租赁、货物进出口、以自有资金从事投资活动等。股东信息显示,该公司由奇瑞汽车旗下安徽得壹能源科技有限公司全资持股。 天眼查信息:https:…

    2025年9月17日

发表回复

您的电子邮箱地址不会被公开。 必填项已用*标注

联系我们

邮件:939297903@qq.com

工作时间:周一至周五,9:30-18:30,节假日休息

关注微信