#内蒙古银行增资至约84.1亿# 增幅约47%

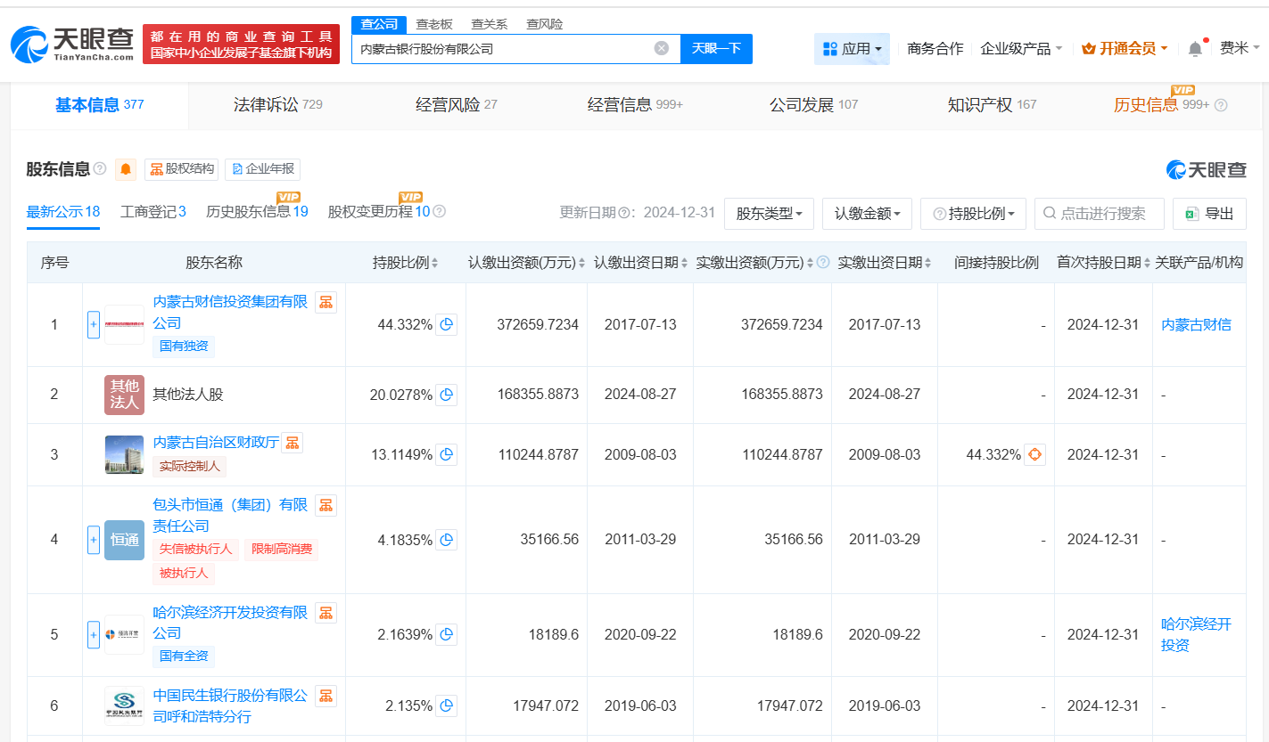
天眼查工商信息显示,近日,内蒙古银行股份有限公司发生工商变更,注册资本由约57.2亿人民币增至约84.1亿人民币,增幅约47%。

#内蒙古银行增资至约84.1亿# 增幅约47%

#内蒙古银行增资至约84.1亿# 增幅约47%

#内蒙古银行增资至约84.1亿# 增幅约47%

内蒙古银行股份有限公司成立于1999年11月,法定代表人为郭大勇,经营范围包括吸收公众存款、办理国内结算、办理票据承兑与贴现等。股东信息显示,该公司由内蒙古财信投资集团有限公司、包头市恒通(集团)有限责任公司、哈尔滨经济开发投资有限公司等共同持股。

天眼查信息:https://www.tianyancha.com/company/235332142

本文来自投稿,不代表创造权威IP 赋能创业者——IP百创立场,如若转载,请注明出处:创造权威IP 赋能创业者——IP百创

(0)
打赏 微信扫一扫 微信扫一扫 支付宝扫一扫 支付宝扫一扫
上一篇 2025年9月1日
下一篇 2025年9月1日

相关推荐

  • 谭松韵宁波工作室注销

    #谭松韵名下一工作室注销# 天眼查App显示,近日,宁波高新区蛋妹文化传媒工作室经营状态由存续变更为注销。该工作室成立于2018年9月,经营者为谭松韵,经营范围含文学创作服务,文化艺术交流活动策划及咨询,影视服装、道具、器材租赁,影视项目策划及咨询,剧本创作等。 谭松韵名下共关联3家企业,目前仅上海静佑影视文化工作室为存续状态。 天眼查信息:https://…

    行业动态 2024年7月15日
  • #河北自贸区产业投资集团增资至130亿# 增幅约2067%

    天眼查工商信息显示,近日,河北自贸区产业投资集团有限公司发生工商变更,注册资本由6亿人民币增至130亿人民币,增幅约2067%,同时多位主要人员也发生变更。 河北自贸区产业投资集团有限公司成立于2011年1月,法定代表人为李毅飞,经营范围含以自有资金从事投资活动、自有资金投资的资产管理服务、市政设施管理、公共事业管理服务、规划设计管理、城乡市容管理等。股东信…

    2025年9月9日
  • Rokid AR Lite发布:轻量化、大屏化的空间计算时代来了?

    4月20日,Rokid在OPENDAY上推出了Rokid AR Lite空间计算套装,以Rokid Max 2眼镜为视觉展示窗口,借助Station 2主机提供的强大计算能力和持久电池服务,为用户带来了沉浸式视觉体验。 对于Rokid这家AR+AI科技公司,倪叔的读者朋友们不陌生。与之前我们熟悉的产品相比,这次的第一印象:又轻了,眼镜机身轻盈,75g,仅一副…

    2024年4月23日
  • 黑神话悟空公司再登记作品著作权

    #黑神话悟空公司登记武器作品著作权##黑神话悟空总收入近65亿# 天眼查App显示,近日,《黑神话:悟空》出品方杭州游科互动科技有限公司登记“黑神话悟空-套装系列”“黑神话悟空-武器系列”“黑神话悟空-散件系列”美术作品著作权,上述三件美术作品创作完成日期均为今年1月。此前,该公司已登记“《黑神话悟空》实体豪华版、实体收藏版-首饰三件套”“《黑神话悟空》实体…

    2024年9月13日
  • 十亿砸下转播权,抖音咪咕争夺世界杯流量“霸主”?

    作者| 王若晔 编辑| 袁佳琦 小组赛第一轮阿根廷1:2不敌沙特阿拉伯,成为卡塔尔世界杯的第一个大冷门。猫眼全球收视率显示,这一爆冷战局下,CCTV5市占率高达30.5809%,实时直播关注度直线破7。眼下可能再也没有比世界杯更火热的大盘。无论长视频还是短视频平台,抑或是其他社会化媒体平台,世界杯都是不容错失的流量密码。 除了中央广播电视总台的官方转播,中国…

    行业动态 2022年11月24日

发表回复

您的电子邮箱地址不会被公开。 必填项已用*标注

联系我们

邮件:939297903@qq.com

工作时间:周一至周五,9:30-18:30,节假日休息

关注微信