小米瀚星创投及顺为资本入股米火智能

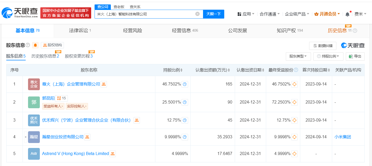
天眼查App显示,近日,米火(上海)智能科技有限公司发生工商变更,新增小米集团旗下瀚星创业投资有限公司、顺为资本旗下Astrend V (Hong Kong) Beta Limited为股东,同时公司注册资本由300万人民币增至352.94万人民币。

小米瀚星创投及顺为资本入股米火智能

小米瀚星创投及顺为资本入股米火智能

小米瀚星创投及顺为资本入股米火智能

该公司成立于2018年10月,法定代表人为郭昆阳,经营范围含信息技术咨询服务、信息系统集成服务、日用百货销售、五金产品零售、机械设备销售、电子产品销售等,现由尊火(上海)企业管理有限公司、郭昆阳、优禾辉兴(宁波)企业管理合伙企业(有限合伙)及上述新增股东共同持股。

天眼查信息:https://www.tianyancha.com/company/3266685391

本文来自投稿,不代表创造权威IP 赋能创业者——IP百创立场,如若转载,请注明出处:创造权威IP 赋能创业者——IP百创

(0)
打赏 微信扫一扫 微信扫一扫 支付宝扫一扫 支付宝扫一扫
上一篇 2024年9月20日
下一篇 2024年9月20日

相关推荐

  • 真的有人敢算种草ROI,说明赚到钱了

    种草这两个字大家不陌生,但扪心自问我们真的懂种草吗? 它是广告吗?它是推广吗?它是营销吗?它是流量吗?很显然,它不是,否则也没必要称之为“种草”。正因如此,很多朋友认为种草就是一门玄学,它不是这些东西,但它又具有这些东西的特点,把“我总有一天要买它”的种子埋到一群人的心里,像被绝世高手输入了一手真气,太玄妙了。 直到今天,有一批营销人已经“敢于”去计算种草行…

    2024年12月21日
  • 科创100:下注新兴科技,在不确定性中握紧未来

    中东变局冲击之下,仅仅几天,A股从“3100点保卫战”到“3000点保卫战”,再到“2900点保卫战”。很多人跟我一样,心态有点崩了:还有什么可以托住底? 但局面似乎在发生微妙变化。 10月23日晚间,国家级投资机构中央汇金,继在11日公告增持四大银行股份后,再次公告买入ETF,并将在未来继续增持。当天尾盘,上证50、沪深300等头部宽基ETF产品明显异动,…

    2023年10月30日
  • 鸿蒙智行秋季上新,问界M9推银境紫新色,全新问界M7、尚界H5正式上市

    2025年9月23日,鸿蒙智行秋季新品发布会于深圳成功举办。问界M9推出全新车色“银境紫”,全新问界M7、尚界H5两款重磅新品正式上市,进一步丰富鸿蒙智行产品矩阵,满足用户多元化购车需求。华为以HarmonyOS为中心,构建鸿蒙办公、鸿蒙智家、鸿蒙智行、运动健康、影音娱乐五大智慧场景。鸿蒙智行深度赋能中国智能电动汽车产业升级,AITO问界、LUXEED智界、…

    行业动态 2025年9月24日
  • 歌尔集团等成立硅基视界科技合伙企业出资额28.3亿

    天眼查工商信息显示,近日,济南硅基视界科技合伙企业(有限合伙)成立,执行事务合伙人为歌尔集团有限公司,出资额28.3亿人民币,经营范围为技术服务、技术开发、技术咨询、技术交流、技术转让、技术推广,以自有资金从事投资活动,新材料技术推广服务,信息咨询服务。合伙人信息显示,该企业由歌尔集团有限公司、济南智显产业投资发展合伙企业(有限合伙)共同出资。 天眼查信息:…

    2025年9月15日
  • 嘎子哥妻子任职公司拟注销

    天眼查经营风险信息显示,近日,嘎子玖馆(北京)贸易有限公司新增一则简易注销公告,公告期为11月26日至12月16日。 嘎子玖馆(北京)贸易有限公司成立于2023年4月,法定代表人为郭亮亮,郭珊珊(嘎子哥妻子)担任监事,注册资本500万人民币,经营范围包括食品销售、第二类医疗器械销售、互联网销售等。股东信息显示,该公司由北京坤鑫时代企业管理咨询有限公司全资持股…

    2025年12月3日

发表回复

您的电子邮箱地址不会被公开。 必填项已用*标注

联系我们

邮件:939297903@qq.com

工作时间:周一至周五,9:30-18:30,节假日休息

关注微信