萝卜快跑申请苕萝卜商标

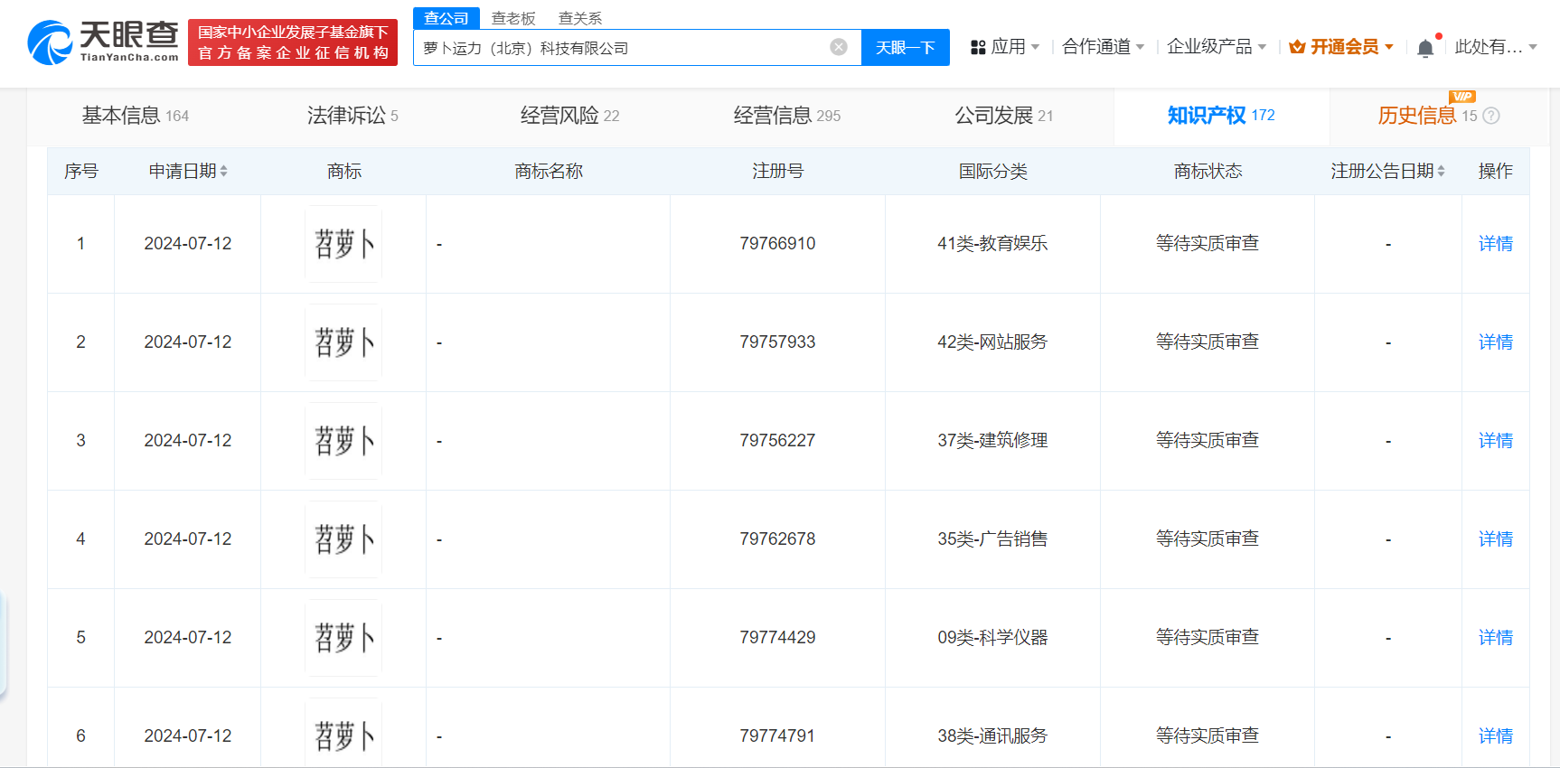
天眼查知识产权信息显示,近日,萝卜快跑关联公司萝卜运力(北京)科技有限公司申请注册多枚“苕萝卜”商标,国际分类为教育娱乐、网站服务、科学仪器等,当前商标状态均为等待实质审查。

萝卜快跑申请苕萝卜商标

萝卜快跑申请苕萝卜商标

据悉,由于萝卜快跑在比较复杂的路况上避让行人及车辆时,呆萌中透露着一点无助的可爱,被武汉人亲切地称为“苕萝卜”。

本文来自投稿,不代表创造权威IP 赋能创业者——IP百创立场,如若转载,请注明出处:创造权威IP 赋能创业者——IP百创

(0)
打赏 微信扫一扫 微信扫一扫 支付宝扫一扫 支付宝扫一扫
上一篇 2024年9月24日
下一篇 2024年9月24日

相关推荐

  • 这一代年轻人,改“痛”电瓶车了

    作者|咸鱼鱼 监制|吴怼怼 一代人有一代人的青春,在90后想着怎么拥有一辆四轮汽车的时候,00后可能已经花几万块改装一辆电瓶车了。 近两年,随着小牛、九号等新一代电动车品牌的上市,电动车领域也涌现了新玩法——改装电动车。 在社交媒体上,检索“电动车改装”,跳出来的内容会让你诧异。 从朋克风、复古风到机车风,改装后的电动车,何止是旧貌换新颜,带着弧光的漆面,金…

    2023年4月15日
  • 海天味业增资至58.5亿增幅约5%

    天眼查工商信息显示,近日,海天味业发生工商变更,注册资本由约55.6亿人民币增至约58.5亿人民币,增幅约5%,同时,法定代表人及部分高管也发生变更。 佛山市海天调味食品股份有限公司成立于2000年4月,法定代表人为管江华,经营范围为生产经营调味品、豆制品、食品、饮料、包装材料,农副产品的加工,其他电信服务,货物、技术进出口,信息咨询服务,食品互联网销售,批…

    2025年10月17日
  • #特来电等在确山县成立新能源科技公司#注册资本2000万

    天眼查App显示,近日,确山县瑞光特来电新能源科技有限公司成立,法定代表人为王鹏飞,注册资本2000万人民币,经营范围含电动汽车充电基础设施运营、集中式快速充电站、充电桩销售等。股东信息显示,该公司由确山县瑞光新能源科技有限公司、特来电新能源股份有限公司共同持股。 天眼查信息:https://www.tianyancha.com/company/711298…

    2024年9月12日
  • 浪潮信息发布元脑企智EPAI一体机,大模型开发还能再抢快几步

    文 | 智能相对论 作者 | 陈泊丞 时至今日,随着越来越多的企业和机构不断加速把AI技术融入自己的业务流程中,AI正持续改变着千行百业的业务模式。 在客户服务领域,聊天机器人已经可以7*24小时提供服务支持,减少了对人工客服的依赖。在供应链管理领域,AI正在通过分析历史销售数据预测未来需求,帮助企业更好地规划库存。在制造领域,AI质检系统能够自动识别产品缺…

    2024年10月9日
  • 曾轶可方被巡演主办方索赔

    #曾轶可方被巡演主办方索赔231万##曾轶可演唱会 迟到打碟一小时# 据悉,11月17日,有网友自称是曾轶可前工作人员,其发文控诉曾轶可职场霸凌并要求道歉。随后,曾轶可现任助理在朋友圈公开质问前工作人员。 天眼查天眼风险信息显示,今年6月,杭州市临平区人民法院向胥文雅、北京作乐文化发展有限公司公告送达原告杭州追乐部落文化发展有限公司与其演出合同纠纷一案起诉状…

    行业动态 2025年11月17日

发表回复

您的电子邮箱地址不会被公开。 必填项已用*标注

联系我们

邮件:939297903@qq.com

工作时间:周一至周五,9:30-18:30,节假日休息

关注微信