蔚来申请乐道雷霆电驱商标

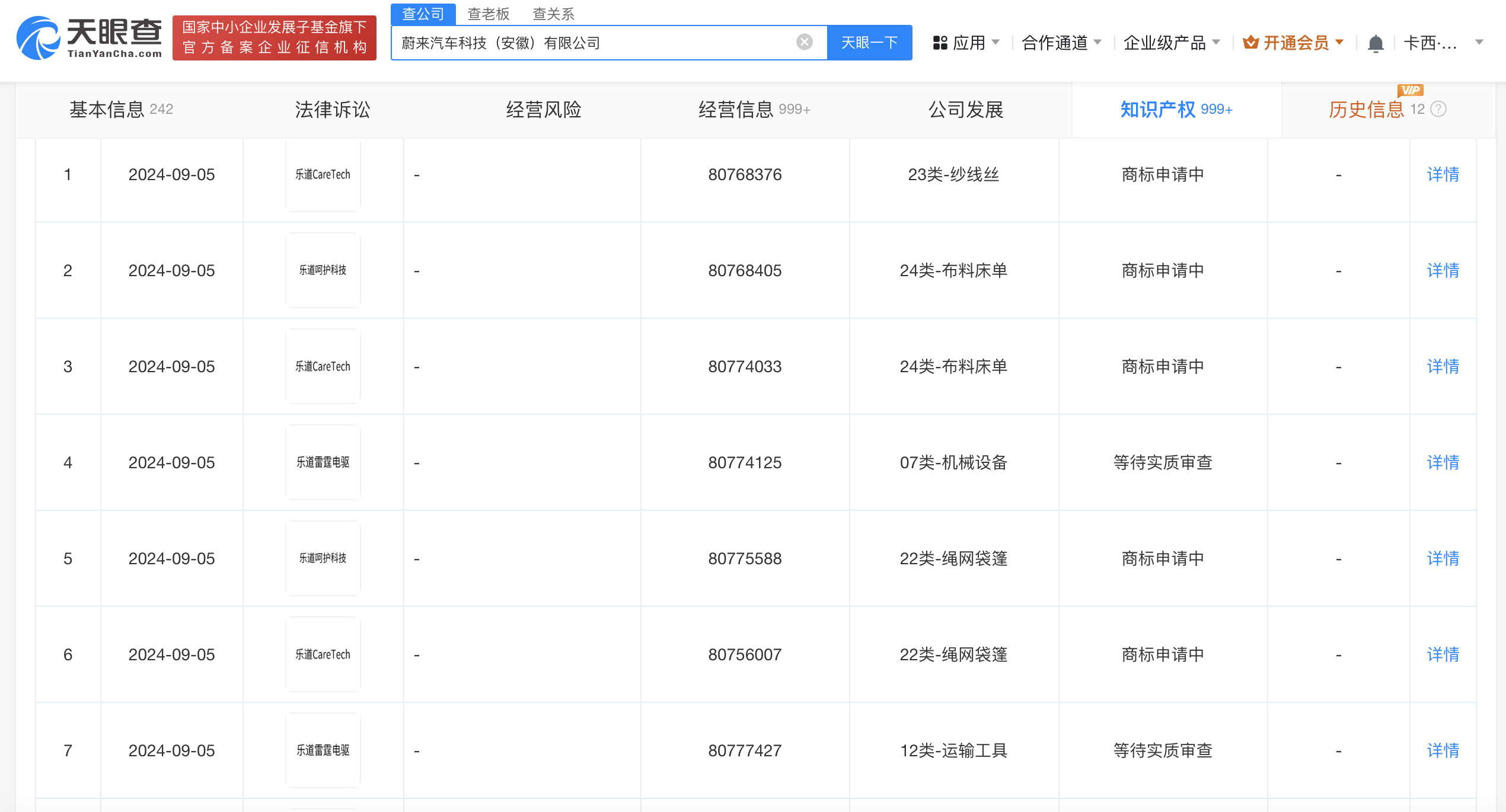
天眼查知识产权信息显示,近日,蔚来汽车科技(安徽)有限公司申请注册多枚“乐道雷霆电驱”“乐道呵护科技”“乐道CareTech”商标,国际分类涉及运输工具、机械设备、布料床单等,当前商标状态为等待实质审查。

蔚来申请乐道雷霆电驱商标

蔚来申请乐道雷霆电驱商标

据媒体报道,近日,蔚来子品牌乐道的首款车型L60正式上市,该款车型具备全域900V高压架构,配备了全自研900V碳化硅主电驱系统,在座椅方面,独家研发的舒适系统还融合了母婴级健康科技。

天眼查信息:https://www.tianyancha.com/company/3467033676/zhishi

本文来自投稿,不代表创造权威IP 赋能创业者——IP百创立场,如若转载,请注明出处:创造权威IP 赋能创业者——IP百创

(0)
打赏 微信扫一扫 微信扫一扫 支付宝扫一扫 支付宝扫一扫
上一篇 2024年9月24日
下一篇 2024年9月24日

相关推荐

  • 内容发展浪潮下,看Tech-Art 2022年度内容榜单不一样的柔软与硬核

    今日,华为游戏中心、华为视频、华为音乐、华为阅读、华为主题和华为教育中心联合首发Tech-Art 2022年度内容榜单,在业内引发了针对科技与艺术结合的好内容的讨论。好的内容应该是什么样子?好的内容将在你我的日常生活中扮演什么样的角度?承载起什么样的价值?又将以什么样的方式去呈现?倪叔在这份年度内容榜单中看到了答案。 Tech-Art 2022年度内容榜单给…

    2023年1月5日
  • 机构恶意抢注楚钦商标被罚

    #代理机构恶意抢注楚钦商标被罚# 天眼查App显示,近日,上海某网络科技有限公司因作为商标代理机构代理恶意申请商标注册行为,被徐汇区市场监督管理局罚款1万元。主要违法事实显示,经查,当事人作为商标代理机构,为商标申请人平江县某食品有限公司向国家知识产权局代理注册申请第29类和第30类商标“楚钦”,被国家知识产权局以“该标志与奥运冠军王楚钦的名字相同,用作商标…

    行业动态 2026年1月5日
  • 腾讯孙忠怀:爬好缓坡,三大支柱撑起行业天花板

    作者| Mia 10.74亿! 这是来自《中国网络视听发展研究报告(2024)》的网络视听用户规模新数据。坐稳“第一大互联网应用”宝座,网络视听行业再次验证了“内容为王”。 “网络视听行业正在从粗放式增长,逐渐过度到长坡厚雪式的稳健增长。如果说之前的增长有泡沫的成分,那么过去两年的复苏是挤掉了水分的。也就是说,我们不是坐在过山车上,而是在爬一个缓坡。……我们…

    行业动态 2024年3月28日
  • 张凯毅近30日掉粉超38万

    #张凯毅名下7家公司已注销##张凯毅起诉黄金凤冠造谣者# 据媒体报道,1月6日,张凯毅发视频表示,近期有人将黄金凤冠事件加工成“网暴开盒”又继续造谣,诽谤她和家人,她已正式向法院提起诉讼。 天眼查工商信息显示,张赢月(网红我是张凯毅)名下关联12家企业,其中5家企业处于存续状态,包括北京圣世魔方文化传媒有限公司、北京圣魔方文化传媒有限公司、赤峰山美商贸有限公…

    行业动态 2026年1月6日
  • 蔚来江淮汽车合资公司注销

    天眼查工商信息显示,近日,江来先进制造技术(安徽)有限公司登记状态由存续变更为注销。今年6月,该公司已发布注销公告,注销原因为决议解散,公告期为6月10日至7月24日。 江来先进制造技术(安徽)有限公司成立于2021年3月,法定代表人为李明,注册资本5.1亿人民币,经营范围包括道路机动车辆生产、生产线管理服务、供应链管理服务等。股东信息显示,该公司由蔚来控股…

    2025年9月15日

发表回复

您的电子邮箱地址不会被公开。 必填项已用*标注

联系我们

邮件:939297903@qq.com

工作时间:周一至周五,9:30-18:30,节假日休息

关注微信