柴怼怼公司近期因虚假宣传被罚6千

#柴怼怼公司宣称白酒能抗癌被罚6千# #柴怼怼名下多家公司经营异常# #柴怼怼名下酒业公司近期被起诉##网红柴怼怼被警方带走调查#

据报道,9月10日,网红“柴怼怼”(原名柴向前)等人因涉嫌生产、销售伪劣产品,已被温州市平阳县公安局立案侦查。

柴怼怼公司近期因虚假宣传被罚6千

柴怼怼公司近期因虚假宣传被罚6千

柴怼怼公司近期因虚假宣传被罚6千

柴怼怼公司近期因虚假宣传被罚6千

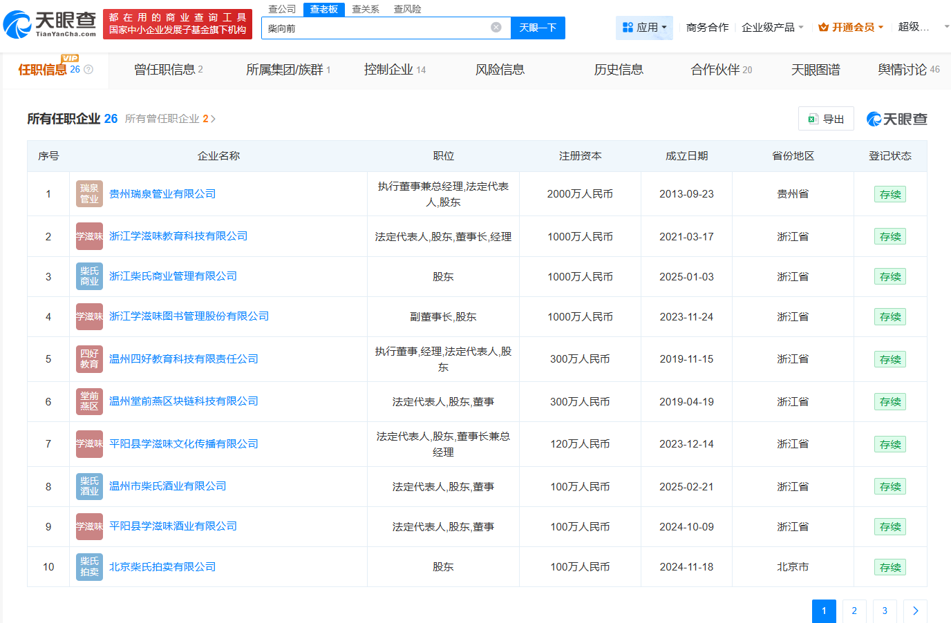
天眼查任职信息显示,柴向前(柴怼怼)名下关联26家企业,其中7家已注销或被吊销,19家处于存续状态,包括温州市柴氏酒业有限公司、武汉市柴氏珠宝有限公司等,版图涉及教育科技、珠宝、文化传播等领域。周边风险信息显示,柴向前名下六盘水小丫餐饮服务有限公司等多家公司已经营异常。

天眼风险信息显示,柴向前名下的温州市柴氏酒业有限公司近期因称其酱香型白酒是在20多年之前购买的、具有“能抗癌”“治疗高血压、高血糖、高血脂”等治疗功能,存在发布含有虚假内容的广告行为,被平阳县市场监督管理局合计罚款6000元。此外,该公司还因合同纠纷被起诉,相关案件将于9月11日在平阳县人民法院开庭审理。

天眼查信息:https://www.tianyancha.com/human/2015967717-c7424455114

本文来自投稿,不代表创造权威IP 赋能创业者——IP百创立场,如若转载,请注明出处:创造权威IP 赋能创业者——IP百创

(0)
打赏 微信扫一扫 微信扫一扫 支付宝扫一扫 支付宝扫一扫
上一篇 2025年9月10日
下一篇 2025年9月10日

相关推荐

  • 厦门产业并购股权投资基金登记成立# 出资额20亿

    天眼查工商信息显示,11月25日,厦门产业并购股权投资基金合伙企业(有限合伙)成立,执行事务合伙人为金圆资本管理(厦门)有限公司,出资额20亿人民币,经营范围以私募基金从事股权投资、投资管理、资产管理等活动。合伙人信息显示,该基金由厦门金融控股有限公司、厦门金圆投资集团有限公司、金圆资本管理(厦门)有限公司共同出资。 天眼查信息:https://www.ti…

    2025年11月25日
  • 苏州信托公司增资至30亿增幅150%

    天眼查工商信息显示,近日,苏州信托有限公司发生工商变更,注册资本由12亿人民币增至30亿人民币,增幅150%。 该公司成立于2002年9月,法定代表人为沈光俊,经营范围包括资金信托、动产信托、不动产信托、有价证券信托等业务。股东信息显示,该公司由苏州国际发展集团有限公司、苏州文化旅游发展集团有限公司、苏州市农业发展集团有限公司共同持股。 天眼查信息:http…

    2025年11月20日
  • 2年作死5个短视频账号后,我是如何一年涨粉百万,成为坐拥全网500w商业IP的?

    HI,你好,我是倪叔,2023年十大科技博主,坐拥2000w粉丝矩阵的新媒体公司创始人。 过去8年,我专注于「IP创业」,从一无所有的小镇青年迅速成长为行业头部KOL,我的经历与取得的结果让我确信:在这个时代,做IP是个改命的机会! 2010年,我怀揣着要成为一名「作家」的梦想,来杭州投奔中心的偶像“吴晓波”老师,自此开启了我的IP梦想。2011年年底,我听…

    2024年7月29日
  • 《凡人修仙传》高开稳走,男频剧的春天要来了?

    男频剧,要打翻身仗了?最近,杨洋二战男频大剧的新作《凡人修仙传》开播三日在优酷站内热度破万。截至8月11日,据云合数据显示,该剧正片有效市场占比15.6%、集均估值约3300万;另据酷云数据显示,该剧在首日高开1820万播放量后,涨势放缓但整体稳升,截至8月10日(上线两周)集均播放量3751万。目前,根据灯塔专业版数据(8月10日)显示,该剧累计正片播放量…

    2025年8月14日
  • 香港区块链协会曾崇瑞出席首届两岸服务业大会暨港澳服务业论坛

    2024年11月18-20日,中国商业联合会、国务院台湾事务办公室经济局、台湾服务业联盟协会、台湾商业总会联合主办的首届两岸服务业大会在重庆隆重举行。与此同时,中国商业联合会联合台湾服务业联盟协会、台湾商业总会、香港中华厂商联合会、香港中小企业工商联合会、澳门会议展览业协会在大会同期共同主办了第十三届两岸暨港澳服务业论坛。 香港区块链协会 曾崇瑞 Sam T…

    2024年12月6日

发表回复

您的电子邮箱地址不会被公开。 必填项已用*标注

联系我们

邮件:939297903@qq.com

工作时间:周一至周五,9:30-18:30,节假日休息

关注微信